

753793 Carin Wall Lamp E27


Installation manual

Recommended lightsource
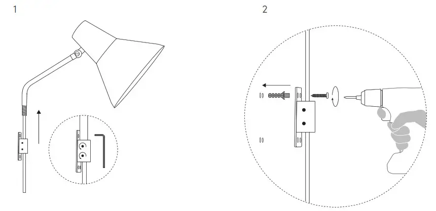
NOTICE: Switch off the main electricity before installing.
2 year guarantee
INNOJOK OY, Sirrikuja 3 L,
00940 Helsinki Finland,
p.+358 9 4272 0637





NOTICE: Switch off the main electricity before installing.
2 year guarantee
INNOJOK OY, Sirrikuja 3 L,
00940 Helsinki Finland,
p.+358 9 4272 0637
Download manual
Here you can download full pdf version of manual, it may contain additional safety instructions, warranty information, FCC rules, etc.