
AD31 Reader
AD31 Overview

AD31LED Behavior

White
Reader is active and ready for secure badge entrance.

Green
Reader has successfully processed a user scan.
Red
Reader has identified a negative read. Re-scan or investigate bad scans.
What you’ll need
- A working internet connection
- A smartphone or laptop
- A #2 Phillips driver (screwdriver or power drill)
- For non-Junction Box install:
- ¼ inch (6.35mm) drill bit if using wall anchors
- ⅛ inch (3mm) drill bit for pilot holes
- ½ inch (12.7mm) drill bit, or larger, for routing the cable through wall
- Wall mount screws &wall anchors (included)

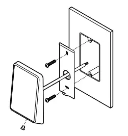
AD31 Mounting
- Route building-side cable through the circular opening in the Mount Plate.
- Secure the Mount Plate to the junction box using 2 provided machine screws that match the junction box
- Connect the wires using the table on the adjacent page as a reference.
- Hook the Reader over the top lip on the mounting plate.
- Secure the Reader to the Mount Plate using the T10 security screw and Allen key (provided).

- Using the Mount Plate as your template, mark and drill two Depending on your mounting surface you may need to drill pilot holes. If required, insert wall anchors now.
- Drill 1/2 inch (12.7mm) hole into the wall for cable routing if necessary.
- Route building-side cable through the circular opening in the Mount
- Connect the wires using the table on the adjacent page as
- Secure the Mount Plate using 2 provided screws.
- Hook the Reader over the top lip on the Mount
- Secure the Reader to the Mount Plate using theT10 security screw and Allen key (provided).

AD31 Wiring
Reference the table below for AD31 installation.
| Pigtail Color | Abbreviation | Name |
| Black | – | Ground |
| Blue | B | RS485-B |
| Purple | A | RS485-A |
| Red | + | +12V IN |
Reference the table below for auxiliary Wiegand installation.
| Pigtail Color | Abbreviation | Name |
| Orange | VO | Wiegand Voltage |
| Gray | GND | Wiegand RTN |
| Green | WDO | Wiegand Data 0 |
| White | WD1 | Wiegand Data 1 |
| Brown | LED | Wiegand LED |
| Yellow | BUZZER | Wiegand Buzzer |
Once powered on:
- Indicator LEDs (8) will illuminate white during initial power on. Once 4 white LEDs create a ‘plus’ sign, you are ready to scan.
- Scan a physical RFID card to confirm the reader is properly functioning with the access control system.
- For additional assistance please visit verkada.com/support
Federal Communication Commission Interference Statement
This device complies with Part 15 of the FCC Rules. Operation is subject to the following two conditions: (1) This device may not cause harmful interference, and (2) this device must accept any interference received, including interference that may cause undesired operation.
This equipment has been tested and found to comply with the limits for a Class B digital device, pursuant to Part 15 of the FCC Rules. These limits are designed to provide reasonable protection against harmful interference in a residential installation. This equipment generates, uses, and can radiate radio frequency energy and, if not installed and used in accordance with the instructions, may cause harmful interference to radio communications.
However, there is no guarantee that interference will not occur in a particular installation. If this equipment does cause harmful interference to radio or television reception, which can be determined by turning the equipment off and on, the user is encouraged to try to correct the interference by one of the following measures:
- Reorient or relocate the receiving antenna.
- Increase the separation between the equipment and receiver.
- Connect the equipment into an outlet on a circuit different from that to which the receiver is connected.
- Consult the dealer or an experienced radio/tv technician for help.
FCC Caution: Any changes or modifications not expressly approved by the party responsible for compliance could void the user’s authority to operate this equipment.
This transmitter must not be co-located or operating in conjunction with any other antenna or transmitter.
Radiation Exposure Statement:
The product complies with the FCC portable RF exposure limit set forth for an uncontrolled environment and is safe for intended operation as described in this manual. The further RF exposure reduction can be achieved if the product can be kept as far as possible from the user body or set the device to lower output power if such function is available.
Industry Canada statement
This device complies with ISED’s license-exempt RSSs. Operation is subject to the following two conditions: (1) This device may not cause harmful interference, and (2) this device must accept any interference received, including interference that may cause undesired operation.
Radiation Exposure Statement:
The product complies with the Canada portable RF exposure limit set forth for an uncontrolled environment and is safe for intended operation as described in this manual. The further RF exposure reduction can be achieved if the product can be kept as far as possible from the user body or set the device to lower output power if such function is available.
+1 (833) 837-5232
[email protected]
www.verkada.com/support



















