Auchan 600109008 Selecline Upright Freezer

SAFETY INSTRUCTIONS
Before using this electrical appliance, read the instructions below carefully. Keep them for future reference and pass them on to any subsequent owners of the product:
- This appliance can be used by children aged from 8 years and above and persons with reduced physical, sensory or mental capabilities or lack of experience and knowledge if they have been given supervision or instruction concerning use of the appliance in a safe way and understand the hazards involved. Children aged from 3 to 8 years are allowed to load and unload refrigerating appliances.
- Children shall not play with the appliance.
- Cleaning and user maintenance shall not be made by children without supervision.
- Keep all packaging far away from children. There is a risk of suffocation.
- WARNING: Keep ventilation openings, in the appliance enclosure or in the built-in structure, clear of obstruction.
- WARNING! Do not use mechanical devices or other means to accelerate the defrosting process, other than those recommended by the manufacturer.
- WARNING! Do not damage the refrigerant circuit.
- WARNING: When positioning the appliance, ensure the supply cord is not trapped or damaged.
- WARNING! Donotlocatemultipleportablesocketoutlets or portable power-suppliers at the rear of the appliance.
- Do not store explosive substances such as aerosol cans with a flammable propellant in this appliance.
- During the transportation and installation of the appliance, be certain that none of the components of the refrigerant circuit have become damaged. Avoid open flames and sources of ignition. Thoroughly ventilate the room in which the appliance is situated.
- It is dangerous to alter the specifications or modify this product in any way.
- WARNING! Any damage to the power supply cord may cause a short-circuit, fire, and/or electric shock.
- This appliance is intended to be used in a household and similar applications, such as: Staff kitchen areas in shops, offices, and other work environments; Farmhouses and by clients in hotels, motels, and other residential-type environments; Bed and breakfast type environments; Catering and similar non-retail applications.
- WARNING! Any electrical components, such as the plug, power supply cord and compressor, must be replaced by a certified service agent or qualified service personnel.
- The power supply cord must not be lengthened.
- Make sure the power plug is not squashed or damaged by the back of the appliance. A squashed or damaged power plug may overheat and cause a fire.
- Make sure that you can reach the mains plug of the appliance.
- Do not pull on the mains power cord.
- If the power plug socket is loose do not insert the power plug. There is a risk of electrical shock or fire.
- This appliance is heavy. Take care when moving it.
- Do not remove or touch frozen items in the freezer if your hands are damp or wet as this could cause skin abrasions or frost burns.
- Avoid exposing the appliance to prolonged or direct sunlight.
- Do not put hot items on the plastic parts of the appliance.
- Never re-freeze food that has thawed.
- Store pre-packed frozen food in accordance with the frozen food manufacturer’s instructions.
- Appliance manufacturer’s storage recommendations should be strictly adhered to. Refer to relevant instructions.
- Do not place carbonated or fizzy drinks in the freezer as they will expand when freezing and could explode damaging the appliance.
- Ice lollipops can cause frost burns if consumed straight from the appliance.
- To avoid contamination of food, please respect the following instructions: Opening the door for long periods can cause a significant increase of the temperature in the compartments of the appliance. Clean regularly surfaces that can come in contact with food and accessible drainage systems. Store raw meat and fish in suitable containers in the refrigerator, so that it is not in contact with or drip onto other food. Two-star frozen-food compartments are suitable for storing pre-frozen food, storing or making ice-cream and making ice cubes. One-, two- and three-star compartments are not suitable for the freezing of fresh food. If the refrigerating appliance is left empty for long periods, switch off, defrost, clean, dry, and leave the door open to prevent mould developing within the appliance.
- If the supply cord is damaged, it must be replaced by the manufacturer, its service agent or similarly qualified persons in order to avoid a hazard.
This appliance does not contain gases which could damage the ozone layer, in either its refrigerant circuit or insulation materials. The appliance shall not be discarded together with the urban refuse and rubbish. The insulation foam contains flammable gases. The appliance shall be disposed of according to the appliance regulations in your locality. Contact your local authorities to obtain a copy of the regulations. Avoid damaging the cooling unit, especially the heat exchanger. The materials used on this appliance marked by the symbol
are recyclable. Dispose of the packaging materials in a suitable collection container to recycle it.- Do not use electrical appliances inside the food storage compartments of the appliance, unless they are of the type recommended by the manufacturer.
Disposing of the Appliance
- Disconnect the appliance mains plug from the mains socket.
- Cut off the mains power cord as close to the appliance cabinet as possible.
- Remove the door to prevent children from suffering an electrical shock or closing themselves into the decommissioned appliance.
- If your new appliance with magnetic door seals is replacing an older appliance with a spring lock/latch on the door or lid, be sure to make the door spring lock/latch unusable before you discard the old appliance. This prevents it from becoming a death trap for a child.
- WARNING! During use, service, and disposal of the appliance, pay attention to this symbol, located at the rear of the appliance, on the rear panel or the compressor.
It is a yellow or orange colour to make it stand out and draw your attention. This symbol warns of a fire risk. There are flammable materials in the refrigerant pipes and the compressor. Stay far away from any flame or fire source when using, servicing, or disposing of the appliance. - All accessories, such as drawers, shelves, balconies should be kept there for lower energy consumption.
This symbol on the appliance or on its packaging indicates that this appliance may not be treated as household waste. Instead, it should be taken to the appropriate collection point for the recycling of electrical and electronic equipment. By ensuring that this product is disposed of correctly, you will help prevent potential negative consequences for the environment and human health, which are risks should this appliance be inappropriately disposed of. For more detailed information about recycling this appliance, contact your local council, your household waste disposal service, or the retailer where you purchased the appliance.
TECHNICAL SPECIFICATIONS
| Power Supply | 220-240 V~, 50 Hz |
| Annual Energy Consumption | 238 kWh |
| Total Input Power | 100 W |
| Storage Capacity | 168 L |
| Climate Classification | N, ST |
| Temperature Rise Time | 16.5 hours |
| Freezing Capacity | 7.8 kg per 24 hours |
| Exterior Dimensions (W x D x H) | 544 x 571 x 1426 mm |
| Net Weight | 43 kg |
| Protection Class | Class I |
PRODUCT DESCRIPTION

- Drawers
- Adjustable feet
- Hinge
- Thermostat adjustment knob
- Door
- Gasket
BEFORE FIRST USE
TRANSPORTATION INSTRUCTIONS
- This appliance should be transported only in a vertical, upright position. The packing as supplied must be intact during transportation.
- Do not use the door handles when carrying the appliance.
UNPACKING
- Unpack all parts.
- Immediately after unpacking, check for completeness and any damage sustained during shipping. If your package or the power cable is damaged or incomplete, do not connect the appliance, keep the packaging material and immediately contact our After-Sales department or the retailer where you purchased the appliance.
INSTALLATION
WARNING!
- Make sure the power cable is not caught under the appliance during and after moving it, to avoid the power cable becoming cut or damaged.
- RISK OF ELECTRIC SHOCK! Protect the appliance from moisture. Do not install the freezer in a humid place to avoid rust on the metal parts. Do not splash water on the interior or exterior of the appliance, as this may weaken the insulation and result in an electric shock or fire.
- If the freezer is installed in cold unheated areas, such as a garage, condensation may form on the outer surfaces. This is quite normal and is not a fault. Wipe off any condensation with a dry cloth.
- When positioning your appliance take care not to damage your flooring, pipes, wall coverings, etc.
IMPORTANT!
- It is advisable to wait at least four hours before connecting the appliance. This allows the fluids to balance. For example, the oil flows back into the compressor.
- The appliance must not be located close to radiators or cookers.
- Ensure that the mains plug is accessible after installing the appliance to ensure the appliance can easily be disconnected at any time.
- Do not attempt to sit or stand on top of the appliance as it is not designed for such use. You could injure yourself or damage the appliance.
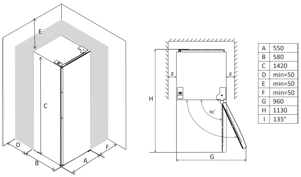
Space Requirement
Keep enough space for the door to open. See Figure 1.

IMPORTANT! Ensure that there is adequate air circulation around the appliance and at least a 50mm gap on all sides. A lack of air circulation leads to overheating.
Location
- Install the appliance in a location with an ambient temperature corresponding to the climate class indicated on the rating plate of the appliance:
Climate Class Ambient Temperature Range Extended temperate SN 10° C to 32° C Temperate N 16° C to 32° C Subtropical ST 16° C to 38° C Tropical T 16° C to 43° C - This freezer is not intended to be used as a built-in appliance.
- The appliance should be installed far away from sources of heat such as radiators, boilers and direct sunlight. Ensure that air can circulate freely around the back of the appliance. Ideally, the appliance should not be positioned below any overhanging wall units. However, if it is placed under an overhanging wall unit, make sure there is a clearance distance of at least 50 mm. Do not stack the appliance with other household appliances.
- Accurate levelling is ensured by one or more adjustable feet at the base of the appliance.
- This appliance is not intended to be used as a built-in appliance.
Electrical Connection
- Before plugging the appliance in, ensure that the voltage and frequency shown on the rating plate corresponds with your domestic power supply. The appliance must be grounded/earthed. The power supply cord plug is provided with a contact for this purpose. If the domestic power supply socket is not grounded, connect the appliance to a separate earth in compliance with current regulations.
Consult a qualified electrician. - The manufacturer declines all responsibility if the above safety precautions are not observed.
- This appliance complies with the E.E.C. Directives.
Levelling the Appliance
- Level the appliance using the two adjustable front feet which can be screwed or unscrewed to change the height. See Figure 2.

NOTE: If the appliance is not level and in firm contact with the floor, the doors and the magnetic seal alignment will not be covered correctly. An unlevel appliance can lead to excessive noise and vibration.
REVERSING THE DOOR OPENING DIRECTION
Tools required: Phillips screwdriver, flat-bladed screwdriver and an adjustable wrench or spanner.
Notes:
- Ensure the appliance is unplugged and empty.
- To remove the door, it is necessary to tip the appliance backwards. Rest the appliance on something solid so that it will not slip during the door reversal process.
- All parts removed must be saved as they are required to reinstall the door.
- Do not lay the appliance flat as this may damage the coolant system.
- This is a two-person task as it takes more than one person to handle the appliance during assembly.
- Prise up and lift off the top-right hinge cover. See Figure 3.

- Unscrew the two bolts and take off the hinge bracket. See Figure 4.

- Prise up and lift off the top-left hinge cover. See Figure 5.

- Move the hole cover from the left to the right side. Then lift off the door and place it on a soft surface where it will not be scratched. See Figure 6.

- Unscrew the bottom hinge and remove the adjustable feet from both sides. Then, unscrew the hinge pin on the base of the appliance, turn the hinge bracket over and thread the hinge pin through the hinge bracket and secure with the nut and locking washer. See Figure 7.

- Refit the hinge bracket with the hinge pin on the left side. See Figure 8. Reattach the adjustable feet.

- Replace the door. Ensure the door is aligned both horizontally and vertically. This ensures the seals are closed on all sides before you tighten the top hinge.
- Insert the top-left hinge bracket and secure into place with the two bolts. Make sure to place the bolts in a diagonal formation as shown. See Figure 9.

- Put the two covers back on the top of the freezer making sure the larger hinge cover goes on the hinge on the left-hand side. See Figure 10.

- Detach the door gasket, rotate 180 degrees and reattach it. See Figure 11.

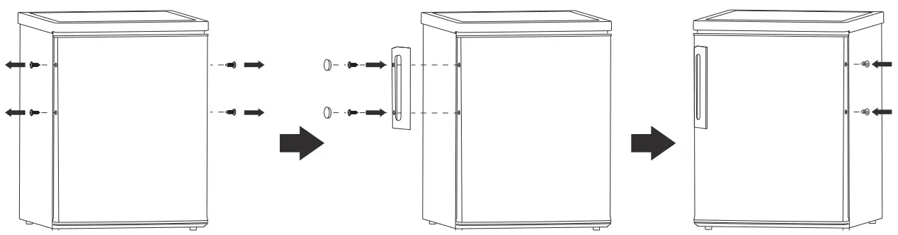
Installing the Door Handle
To attach the door handle to the door edge that opens:
- Remove the two screws and two screw plugs from the door.
- Align the holes on the door with those on the handle and insert two screws and secure into place. Press the two caps over the heads of the screw.
- Insert the two screw plugs onto the opposite side of the door.

USE
FIRST USE
Cleaning the Interior
Before using the appliance for the first time, wash the interior and all internal accessories with lukewarm water and a mild soap. Dry thoroughly. This will clear the typical smell of a brand-new product.
IMPORTANT! Do not use detergents or abrasive cleaning materials as these will damage the finish.
Temperature Setting
IMPORTANT! If the appliance has been moved, wait at least four hours for fluids inside to balance before plugging it in and turning it on.
- Plug in your appliance.
- The internal temperature is controlled by a thermostat. There are three settings:
MIN, NORMAL and MAX (see Figure 12). MIN is the warmest temperature and MAX is the coldest temperature setting. - The appliance may not operate at the correct temperature if it is in a particularly
hot location or if you open the door frequently. - When starting up your appliance after a period of time when it has not been used, turn the settings up to MAX and wait approximately two hours before filling the freezer with food. Then set the thermostat to the setting that suits your current climate.
IMPORTANT! In the event of accidental defrosting, for example due to a power failure, if the power has been off for longer than 7.5 hours, the defrosted food must be eaten quickly, or if raw, cooked and then re-frozen (after cooling).
Recommended Temperature Settings
The freezer’s temperature is controlled by the Thermostat knob. There are seven settings (1 2 3 4 5 6 7). Set the Thermostat knob according to the required temperature.
Environment Temperature | Thermostat Setting |
Summer | ![]() |
Normal | ![]() |
Winter | ![]() |
- Using the recommended settings, the maximum storage time for any food product is one month.
- The storage time may be less if the recommended setting is not used.
Note:
- You will hear a noise as the compressor starts up. The liquid and gases sealed within the freezer system may also give rise to noise, whether the compressor is running or not, which is quite normal.
- If you find the freezer door difficult to open just after you have closed it, don’t worry. This is due to the pressure difference which will equalize and allow the door to open normally after a few minutes.
DAILY FOOD STORAGE
Place different foods in different compartments according to the recommendations below.
| Freezer Compartment | Type of Food |
| Top shelves | Ice-cream, frozen fruit or frozen pre-cooked foods. |
| Middle shelves | Frozen vegetables or chips. |
| Bottom shelves | Raw meat (beef, lamb, pork, poultry and fish). |
Freezing Fresh Food
- The freezer is suitable for freezing fresh food and storing frozen and deep-frozen food for a long time.
- Place fresh food to be frozen in the bottom compartment.
- Check the rating plate for the maximum amount of food that can be frozen in 24 hours.
- The freezing process lasts 24 hours. Do not add other food during this time.
Thawing
- Frozen food can be thawed in the fridge or at room temperature, depending on the time you have.
- Some smaller foods can be cooked straight from the freezer, but they may require additional cooking time.
Ice cubes
This appliance may be equipped with one or more trays for making ice cubes.
HELPFUL HINTS AND TIPS
To help you make the most out of your freezer and frozen foods, follow these useful frozen food and energy saving tips.
Hints for Frozen Food
- Only freeze top quality, fresh and thoroughly cleaned foods.
- Store food in small portions for quick and thorough defrosting and reduce waste.
- Wrap food in aluminium foil or plastic ensuring it is airtight.
- Do not allow fresh, unfrozen food to touch frozen food as this may cause a temperature rise in the latter.
- Ice or frozen water-based products, if consumed immediately after removal from the freezer compartment, can cause the skin to be freeze burnt.
- Lean foods store better and for longer than fatty foods.
- Salt reduces the storage life of food.
- Position the frozen food so that the use by date is visible on each packet when you open the door.
- Transfer purchased frozen goods to your freezer as quickly as possible.
- Do not open the door frequently or leave it open for longer than necessary.
- Once defrosted, food deteriorates rapidly and should not be refrozen.
- Do not exceed the storage period indicated by the food manufacturer.
Hints for Energy Saving
- Do not put hot food in the appliance.
- If the electricity goes out, do not open the appliance door.
- Do not open the door frequently or leave it open for extended periods.
- Do not set the thermostat to exceedingly cold temperatures.
CLEANING AND CARE
WARNING! Before performing any maintenance on the appliance, switch off the appliance and disconnect the mains plug from the mains socket.
IMPORTANT!
- Any electrical work required during the servicing of the appliance should be carried out by a qualified electrician or competent person.
- This product must be serviced by an authorised Service Centre and only genuine spare parts may be used.
DEFROSTING AND CLEANING THE FREEZER
CAUTION! Do not clean the appliance while it is connected to the mains. There is the danger of electrical shock! Before cleaning, switch off the appliance and unplug it from the mains. Alternatively, switch off the circuit breaker or remove the fuse. Never clean the appliance with a steam cleaner. Moisture could accumulate in electrical components presenting a danger of electrical shock! Hot vapours can damage the plastic components of the appliance. The appliance must be completely dry before it is used again.
IMPORTANT! Ethereal oils and organic solvents can damage plastic parts. Do not use additives such as lemon juice or the juice from orange peel, butyric acid, or a cleanser that contains acetic acid. Do not use any abrasive cleansers.
WARNING! Do not use metal or sharp objects to clean the appliance or remove ice.
Use a plastic scraper.
For hygiene reasons, regularly clean the interior. Over time, ice and frost will build-up in the freezer. When the build-up is quite thick you should remove it.
- Remove the food from the appliance, wrap it in newspaper and store it in a cool, dry place.
- Switch the appliance off and remove the plug from the mains. Alternatively, switch off the circuit breaker or unscrew the fuse.
- Wedge the door open. Place an old towel on the floor and put a shallow container on top to help catch the icicles and water.
- When the ice begins to soften, use a plastic scraper to dislodge and remove the larger pieces of ice.
- When all the ice has been removed, clean the appliance with a soft cloth and lukewarm water. After cleaning, wipe down with a clean, dry cloth until the interior is thoroughly dry.
- Annually, carefully remove dust from the condenser with a soft brush.
- After everything is dry, connect the appliance to the mains
STORAGE
If the appliance is left empty for long periods of time, switch it off, defrost, clean, and dry it. Leave the door open to prevent mould from developing inside the appliance.
TROUBLESHOOTING
| Problem | Possible Cause | Solution |
| Appliance does not work. | Mains plug is not plugged in or it is loose. | Insert the plug correctly. |
| Fuse has blown. | Check and replace the fuse. | |
| Socket is defective. | Ask an electrician to fix the socket. | |
| Appliance freezes too much. | The temperature setting it too cold. | Turn the temperature to a warmer setting. |
| The food is insufficiently frozen. | Incorrect temperature. | Turn the temperature to a colder setting. |
| Door left open for an extended time. | Do not leave the door open unnecessarily. | |
| A large amount of unfrozen food was inserted in the last 24 hours. | Temporarily use a colder temperature. | |
| Heavy build-up of frost on the door. | Door seal is not airtight. | Warm the leaking sections of the seal with a hair dryer (on a cool setting) and mould them by hand until they sit correctly. |
| The appliance is too near to a heat source. | Check the guidelines advised in the Installation/ Location section and move the appliance away from the heat source. | |
| Unusual noises | Appliance is not level. | Adjust the feet. |
| Appliance is touching the wall, a pipe or other objects. | Move the appliance or pipe slightly. |
WARRANTY AND LIMITATION OF LIABILITY
This product is guaranteed for a period of 12 to 24 months (as defined by local legislation, with the period as per the till receipt) from the date of purchase, against any fault resulting from a defect in materials or manufacturing.
This warranty does not cover damages caused by improper use or normal wear and tear of the product.
Specifically, the warranty does not cover:
- Damage or problems caused by improper use, an accident, an alteration or power supply of unsuitable current or voltage.
- Modified products, or those whose warranty seal or serial number is damaged, altered, removed or oxidised.
- Replaceable batteries and accessories are guaranteed for a 6-month period.
- Battery failure, caused by excessively lengthy charging or by the failure to observe the safety precautions explained in the manual.
- Visual damage, including scratches, dents or any other elements.
- Damage caused by any intervention conducted by a non-accredited person.
- Defects caused by normal wear and tear or due to normal ageing of the product.
- Software updates, due to a change in network settings.
- Product failures due to the use of third-party software to modify, change or adapt the existing software.
- Product failures due to the use of accessories that have not been approved by the manufacturer.
- Oxidised products.
The manufacturer cannot, under any circumstances, be held responsible for the loss of data stored on the disc. Likewise, the manufacturer is not obliged to verify that SIM/SD cards are properly removed from returned products.
Repaired or replaced products may include new and/or reconditioned components and equipment.
METHODS FOR INVOKING THE WARRANTY
To obtain a warranty service, please bring your product to your point of sale’s welcome desk along with your proof of purchase (till receipt, bill, etc.), the product and the accessories provided, along with its original packaging.
It is important to have the following information: date of purchase, model, and serial or IMEI number (this information generally appears on the product, packaging or your proof of purchase).
Failing that, you must bring back the product along with the accessories \required for it to operate properly (power supply, adapter, etc.).
In the event that your claim is covered by the warranty, the customer service department may, within the limits of local legislation, either:
- Repair or replace the defective components.
- Exchange the returned product for a product that has at least the same functions and that is equivalent in terms of performance.
- Reimburse the product at the price of purchase of the product as indicated on the proof of purchase.
If one of these 3 solutions is used, this does not entitle the purchaser to an extension or renewal of the warranty period.
![]() SAS OIA, 200, rue de la Recherche, Le Colibri BP 169, 59650 Villeneuve d’ Ascq, France Made in China |

This appliance does not contain gases which could damage the ozone layer, in either its refrigerant circuit or insulation materials. The appliance shall not be discarded together with the urban refuse and rubbish. The insulation foam contains flammable gases. The appliance shall be disposed of according to the appliance regulations in your locality. Contact your local authorities to obtain a copy of the regulations. Avoid damaging the cooling unit, especially the heat exchanger. The materials used on this appliance marked by the symbol 
































