FOS IEM-100 Wireless System On-Stage In-ear Monitor Diversity

Thank you for choosing our wireless In-ear Monitor system, In order to obtain the best efficiency from the system, you are recommended to read this instruction manual carefully.
System Components
All systems include
- Transmitter
- 6.35mm audio cable
- 1* TNC antenna
- Power supply
- Belt-pack Receiver
- Earphone
- 2 x AA Batteries
- User guide
System Features
- UHF 600-928MHz frequency range
- Mono Outputs, four levels RF output selectable
- True diversity for maximum range and dropout protection
- PLL Synthesized circuit
- Pre-set 100(10*10) selectable frequencies
- IR sync downloading the frequency from transmitter
- LCD display shows the RF level, AF level, channel and frequency.
- EIA standard 1/2U rack-mountable metal chassis
- Up to 200m line-of-sight operating range
- Designed for professional stage performance applications
Transmitter Features
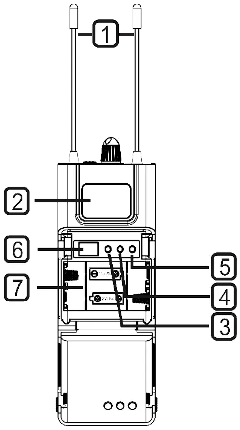
Front Panel

- Power switch
Tap to turn on, tap to turn off, blue light up when transmitter turns on - LCD display
The 63mm*22mm high resolution LCD display shows the group, channel, frequency, antenna status, AF & RF level and IR set. - IR (Infrared) port
Send IR signal to receiver for synchronization - UP button
Adjust the frequency, channel, group incrementally - SET button
Menu control to set group, channel, frequency, IR Synch. - DOWN button
Adjust the frequency, channel, group degressively - Volume control
Adjust the volume level, volume knob encircled by blue light - Headphone Jack
Headphone output connector 6.3mm jackBack Panel

- Power supply jack (DC12-18V / 500mA)
Connecting the power supply unit - 6.35mm (1/4”) audio input jack
Connect the audio source, e.g. of mixer or computer - Volume control
Adjust the volume level - TNC antennas socket
Connect the high gain antenna
Belt-pack Receiver Features
Body-pack Receiver

- Antennas
1/4 wave length wire type antenna, it should be fully extended during normal operations - Backlit LCD
Display frequency and battery life, if the battery symbol blinks, the battery need to be replaced immediately - UP button
Adjust the frequency, incrementally - SET button
Menu control to set frequency - DOWN button
Adjust the frequency degressively - IR infrared port
Transmitter infrared beam to synchronize frequencies, hold the receiver with its IR port facing direct to Transmitter’s IR port in a distance between 5-20cm. - Battery compartment
To replace batteries, slightly press the marked positions on left and right side of the cover and open forward, make sure to put the battery in the right polar directions. - Earphone audio output
3.5mm earphone audio output socket
- Volume control
Clockwise to enlarge, counter-clockwise to reduce - Light touch power switch
Tap to turn on, long press (2 seconds) to turn off. - RF Indicator
Antenna A and B indicator
- Belt-clip
Clip to the belt
System Setup
- Connect the included AC power supply to the rear of the receiver and turn on the receiver.
- Standard Display
The standard display shows the preselected group, channel, RF power level.
Group
Push the SET button one time, the GROUP blink, Push the up and down buttons to set the desired group (01-10), Press SET again to confirm.The display will return to standard after a short period of time of non-activity automatically.
NOTE: Each group 01-10 consists of 10 channels, each corresponding to a specific frequency.

Channel
After the step of setting group, press the SET again, the CHANNEL blink. Push the up and down buttons to set the desired channel (01-10), Press SET again to confirm. The display will return to standard after a short period of time of non-activity automatically.

RF Power
After the step of setting channel, press the SET again, the POL “4” blink ( as below picture1). Push the up and down buttons to set the desired RF Power level (1-4), Level 1 shows two lines of signals, the corresponding RF power is 5mW; Level 2 shows four lines of signals, the corresponding RF power is 10mW; Level 3 shows six lines of signals, the corresponding RF power is 30mW; Level 4 shows full lines of signals, the corresponding RF power is 100mW ( as below picture2). And when the LCD display in the standard status, it can push the up and down buttons to set the desired RF Power level.
NOTE: The larger RF power, the Longer distance.

IR Synch
Anytime press the SET button and hold for 1 second, the receiver start to send the infrared signals (as below picture ), then put the belt- pack receiver’s IR port close to the Transmitter/Main unit’s IR port , the receiver has to be synchronized to the same frequency (group and channel) before using.
Note: The receiver have to be turned off and return- on while transmitter send infrared signals. After a successful sync, the receiver’s blue LED RF indicator lights up.

Specifications
Transmitter(Main Unit)
Frequency Preparation: PLL Synthesized Control
Frequency Range: 600-952MHz (Region dependent)
Frequency Type: F3E
Transmission Method: FM, Mono
Channels: 100(10×10)
RF Output Power: 5mW/ 10mW/ 30mW/ 100mW
Oscillation System: VCO
Frequency Response: 60Hz-17KHz+/-3dB
S/N Ratio: ≥105d8
T.H.D: <0.5% at 1 KHz
Dynamic Range: >100dB
Operating Temperature: -10-+50 °C
Display: Backlit LCD (63mm*22mm)
Audio Input: 2*6.35mm Jack
Antenna: 1*TNC
Power Supply: DC12V-18V/500mA
Dimensions( L*W*H): 210*170*44mm
Receiver (Belt-pack)
Frequency Preparation: PLL Synthesized Control
Frequency Range: 600-952MHz(Region dependent)
Transmission Method: FM, Mono
Type of reception: Diversity
Receive Sensitivity: -107dBm (sinad≥30dB)
Output: 3.5mm straight pin
Earphone output: 3.5mmφ/ 16ohms 105mW
Controls: Power ON//OFF, Volume, SET frequency
Indicators: LED (AF)
Interface: Infrared
Antenna: 1/4 wave Length Wire Type
Power Supply: 2*AA battery
Operating Voltage: 3V
Operating time: 10h (depending on batteries)
Dimensions( L*W*H): 110*63*21mm

The specification won’t do any further notice for the improvement
Actual product will not be as pictured




















