Shenzhen C25 Wireless Car Charger
Thank you for purchasing and using this product!
Please read this Operation Instruction carefully and keep it properly before using this product.
Product Specification
- Fast Wireless Charger
- Input: 5V-2A/9V-1.67A /12V-1.5A
- Output:5V-1.0A/9V-1.2A/12V-1.25A
- Charging Efficiency: 70%
Applicable Devices
Compatible with all devices with Qi Standard For all other mobiles without Qi Standard, those will be working with wireless receivers.
The LED light turns red during wireless charging to indicatea charging failure.
- The following situation can cause failures, like charging slowly, stop charging, over-iemperature for charging position
- The adapter is not run up to standard (No PC USB output power supply).
- The charging cable is not up to standard.
- The phone case is too thick ( within 2mm thickness phone case recommended ).
- The built-in wireless charging receiver position is not coincided with wireless charger coil position.
- There is metal/magnet on the back of cell phone or phone case.
- Smartphone does not support wireless charging function.
Attention
- Please keep the charger away from water or other liquid.
- If you need to clean the charger, please make sure it is not connected to power supply.
- Using Environment temperature remains -20-45 C.
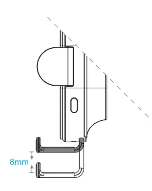
Drop-down Holder Structure Description.

Wireless charging is made up of wireless charging transmitter and wireless charging receiver (working principle). Wireless charger you bought is transmitter receiver was built into smartphone. Wireless charging works well when the transmitter coil position is coincided with receiver coil position. The receiver coil position is fixed for this product. According to different size of smartphone, making receiver coil position to coincide with transmitter’s, we design drop-down holder to adjust the appropriate charging position to make wireless charge well.
How To Install And Un install
Step to install air vent
- Follow the arrows to install 3 parts.

- Adjust the screw cap to the best active status.

- Press the button of clip to fix, then adjust the angle and tighten the fixed nut.

- Installation completed.

Step to install rotatable lever
- Follow the arrows to install parts

- Adjust the screw cap to the best active status.

- Press the button of clip to fix, then adjust the angle and tighten the fixed nut.

Step to Use wireless charger
- Input: Connect the wireless charger and car adapter with the charging cord.

- Place smartphone. The both sides of clip open automatically after being powering, putting on smartphone, clip close automatically to tighten smartphone.

- Take off smartphone. Press the key, the clip open automatically, take your phone out.

- LED indicator light shows the working status: 1.White LED Light: Standby. 2.Blue LED Light: Charging normally. 3.Red LED Light: Charging abnormally.

FCC Warning Statement
Changes or modifications not expressly approved by the party responsible for compliance could void the user’s authority to operate the equipment. This equipment has been tested and found to comply with the limits for a Class B digital device, pursuant to Part 15 of the FCC Rules. These limits are designed to provide reasonable protection against harmful interference in a residential installation. This equipment generates uses and can radiate radio frequency energy and, if not installed and used in accordance with the instructions, may cause harmful interference to radio communications. However, there is no guarantee that interference will not occur in a particular installation. If this equipment does cause harmful interference to radio or television reception, which can be determined by turning the equipment off and on, the user is encouraged to try to correct the interference by one or more of the following measures:
- Reorient or relocate the receiving antenna.
- Increase the separation between the equipment and receiver.
- Connect the equipment into an outlet on a circuit different from that to which the receiver is connected.
- Consult the dealer or an experienced radio/TV technician for help.
This device complies with part 15 of the FCC Rules. Operation is subject to the following two conditions:
- This device may not cause harmful interference, and
- this device must accept any interference received, including interference that may cause undesired operation.
RF Exposure Statement
To maintain compliance with FCC’s RF Exposure guidelines, This equipment should be installed and operated with minimum distance of 20cm the radiator your body. This device and its antenna(s) must not be co-located or operation in conjunction with any other antenna or transmitter
































