lionelo Theo Adjustable Bedside Cot

Dear Customer!
Should you have any remarks or questions concerning the product, please do not hesitate to contact us: at [email protected].
Producer:
BrandLine Group Sp. z o. o. ul. A. Kręglewskiego 1, 61-248 Poznań, Poland
WARNINGS
IMPORTANT! READ CAREFULLY AND KEEP IT FOR FUTURE REFERENCE.
- Do not use this product without reading the instructions for use first.
- Stop using the product as soon as the child can sit or kneel or pull himself up.
- Placing additional items in the product may cause suffocation.
- Do not place the product close to another product, which could present a danger of suffocation or strangulation, e.g. strings, blind/curtain cords, etc.
- Do not use more than one mattress in the product.
- Product should be placed on a horizontal floor.
- Young children should not be allowed to play unsupervised in the vicinity of the crib.
- The crib should be locked in a fixed position when the child is left unattended.
- All assembly fittings should always be tightened properly and care should be taken that no screws are loose, because a child could trap parts of the body or clothing (e.g. strings, necklaces, ribbons for babies’ dummies, etc) which would pose a risk of strangulation.
- The maximum thickness of the mattress is marked by a red lining on the inside of the crib. Do not use a mattress thicker than indicated.
- Be aware of the risk of burning cigarettes, open fires, and other sources of strong heat, such as electric bar fires, gas fires, etc. In the near vicinity of the crib.
- DO NOT use crib if any parts are missing, damaged, or broken. Contact Lionelo for replacement parts and instructional literature if needed. DO NOT substitute parts
WARNINGS for mattress: - Do not use the mattress if any part is broken, torn, or missing, use only spare parts approved by the manufacturer.
- Do not use more than one mattress in the cot.
- Be aware of the risk of an open fire and other sources of strong heat, such as electric bar fires, gas fires, etc. in the near vicinity of the cot.
WARNINGS for bedside sleepers:
- DO NOT use a bedside sleeper if any parts are missing, damaged, or broken. Contact Lionelo for replacement parts and instructional literature if needed. DO NOT substitute parts.
- The height from the floor of the adult’s bed for which the bedside sleeper is suitable: is 50 – 63 cm.
- The bedside sleeper is intended for standard-type adult beds only. Do not use the product with waterbeds or beds and mattresses with rounded corners.
- Do not use attachment systems other than those described in the manual.
- Bedside sleepers shall never be used in an inclined position.
- To prevent a suffocation hazard from entrapment, the bedside sleeper shall be properly secured to the adult bed using the attachment system.
- There shall never be a gap between the lower side of the bedside sleeper and the mattress of the adult bed.
- Check the tightness of the attachment system before each use by pulling the bedside sleeper in a direction away from the adult bed.
- If there is a gap between the bedside sleeper and the adult bed DO NOT use the product.
- Gaps should not be filled with pillows, blankets, and other items.
- DANGER! Always completely raise the drop side when not attached to the adult’s bed.
- WARNING: To avoid hazards from the child’s neck being caught on the top rail on the side that is next to the adult bed, the top rail must not be higher than the adult bed mattress.
- WARNING: To avoid the risk of your child being strangled the attachment system to the adult’s bed shall always be kept away from and out of the crib.
Installation instructions
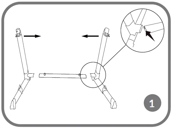
- Combine both frame legs with a connection tube (fig. 1).

- The connectors have special screw holes. Use an Allen key to tighten the screws (fig. 2).

- Connect the base frame with the gondola frame (fig. 3).

- A. Gondola
- B. Gondola frame connector
- C. Height adjustment button
- D. Bed frame
- Attach the front rail to the gondola frame, and then fasten the side zippers (fig. 4).

- Press the height adjustment button and set a desirable height level. The bed can be positioned in one of 5 height levels available. It is also possible to set the different heights on each side (fig. 5).

- Press the button down and pull the leg out/in to adjust its length. There are two positions available (fig. 6).

- Moving the bed
Hold the back rail of the gondola, then lift and push it to move the bed. The rear leg caps are non-slip, which prevents the baby bed from undesirable moving (fig. 7).
- Attaching to a bed
The baby bed can be attached to a parents’ bed. In order to do so, unzip the side zippers completely, open the side of the baby bed and slide the rail out of the mounts, as shown in the picture (fig. 8).
- Move the baby bed to a parent’s bed and check the height of the baby bed in relation to the parents’ mattress.
- Use the included belts to attach the baby bed to a parent’s bed. Place the buckle in the connector plug at the bottom of the gondola, run the belt from bottom to top around the parents’ bed construction, and then fasten the buckle. The loop should be as tight as possible. You can adjust the length of the belt with the clip in the middle. Repeat it for the other belts (fig. 9, 10).


CAUTION:
Before each use, make sure there is no gap between the parents’ mattress and the side wall of the baby bed.
WARNING:
The product can ONLY be attached to beds and/or mattresses with straight sides. Do NOT use the product with round or water beds and/or mattresses.
WARNING:
The maximum permissible inclination of the baby’s bed is a difference of 2 levels. The child’s head must always be higher than other parts of the body
Maintenance
- Clean the plastic parts with a soft cloth.
- The mattress can be cleaned with a damp cloth and natural cleaners.
- Do not use bleach to clean the product.
- Do not iron.
- Do not dry clean.
- Do not tumble dry.
- The fabric parts can be washed by hand (in up to 30ºC).
The product has been tested and meets all the requirements of the following standards:
- EN 1130:2019+AC:2020
- EN 16890:2017+A1:2021
The pictures in this manual are for illustrative purposes only. Therefore, they may differ from the actual product. www.lionelo.com.





























