CASAINC WF-HZB45 Automatic Ice Maker

To ensure proper use of this appliance and your safety, please read the following instructions carefully before operating this appliance.
IMPORTANT SAFETY
When using electrical appliances, basic safety precautions should be followed to reduce the risk of fire, electric shock, and injury to persons or property. Read all instructions before using any appliance.
Use this appliance only for its intended purpose as described in this owner’s manual.
This ice-maker must be properly installed in accordance with the installation instructions before it is used.
This unit must be positioned so that the plug is accessible. Do not run cord over carpeting or other heat insulators. Do not cover the cord. Keep cord away from traffic areas, and do not submerge in water. No other appliance should be plugged into the same outlet, and be sure that the plug is fully inserted into the receptacle.
We do not recommend the use of extension cord as it may overheat and cause a risk of fire. If you must use an extension cord, use No.14AWG minimum size and rated no less than 1875 watts.
If the supply cord is damaged, it must be replaced by the manufacturer or its service agent or a similarly qualified person in order to avoid a hazard.
Disconnect the mains plug from the supply socket when not in use for a long term, where supply connection is via mains plug.
Remove power plug or disconnect from the mains before cleaning or servicing the appliance. NOTE: If for any reason this product requires service, we strongly recommend that a certified technician perform the service.
Never unplug you unit by pulling on the power cord. Always grasp the plug firmly and pull straight out from the outlet.
Do not use your unit outdoors. Keep the unit away from direct sunlight and make sure that there is at least 15 cm of space between the back of your unit and wall and keep the front free. Keep ventilation opening in the appliance enclosure or in the built-in structure, clear of obstruction.
Do not tip over the unit which will cause abnormal noisy and make the ice-cube size abnormal. And seriously, it may cause water leakage from the unit.
If the unit is brought in from outside in the winter season, give it a few hours to warm up to room temperature before plugging it in.
Do not use other liquid to make the ice-cube other than water.
Do not clean your ice maker with flammable fluids. The fumes can create a fire hazard or explosion
WARNING: This appliance must be earthed. Use the proper power source according to the
nameplate.
- WARNING: Keep ventilation openings, in the appliance enclosure or in the built-in structure, clear of obstruction.
- WARNING: Do not damage the refrigerant circuit.
- WARNING: This appliance is not intended for use by persons (including children) with reduced
physical, sensory or mental capabilities, or lack of experience and knowledge, unless they have been given supervision or instruction concerning use of the appliance by a person responsible for their safety. - WARNING: Children should be supervised to ensure that they do not play with the appliance.
- WARNING: This appliance must be earthed. And use the 110-120V/60Hz earthed power supply.
- WARNING: Do not store explosive substances such as aerosol cans with a flammable propellant in this appliance.
- DANGER – Risk Of Fire or Explosion. Flammable Refrigerant Used. Do Not Use Mechanical Devices To Defrost Ice Maker. Do Not Puncture Refrigerant Tubing.
DANGER – Risk Of Fire Or Explosion. Flammable Refrigerant Used. To Be Repaired Only By Trained Service Personnel. Do Not Puncture Refrigerant Tubing. - CAUTION – Risk Of Fire Or Explosion. Flammable Refrigerant Used. Consult Repair Manual/Owner’s Guide Before Attempting To Install or Service This Product. All Safety Precautions Must be Followed.
- CAUTION – Risk Of Fire Or Explosion. Dispose Of Property In Accordance With Federal Or Local Regulations. Flammable Refrigerant Used .
- CAUTION-Risk Of Fire Or Explosion Due To Puncture Of Refrigerant Tubing; Follow Handling Instructions Carefully. Flammable Refrigerant Used.
- The ice maker should be installed in accordance with the safety standard for Refrigeration Systems, ASHRAE15. The ice maker shall not be installed in corridors or hallways of public buildings.
- If the unit is with problem need to be maintained, that replacing with like components and that servicing shall be done by factory authorized service personnel, so as to minimize the risk of possible ignition due to incorrect parts or improper service.
- WARNING: This appliance must be earthed. Use the proper power source according to the nameplate.
- WARNING: Keep ventilation openings, in the appliance enclosure or in the built-in structure, clear of obstruction.
- WARNING: Do not damage the refrigerant circuit.
- WARNING: This appliance is not intended for use by persons (including children) with reduced physical, sensory or mental capabilities, or lack of experience and knowledge, unless they have been given supervision or instruction concerning use of the appliance by a person responsible for their safety.
- WARNING: Children should be supervised to ensure that they do not play with the appliance.
- WARNING: This appliance must be earthed. And use the 110-120V/60Hz earthed power supply.
- WARNING: Do not store explosive substances such as aerosol cans with a flammable propellant in this appliance.
- WARNING: This appliance is intended to be used in household and similar applications such as
Eg. staff kitchen areas in shops, offices and other working environments;
Eg. farm houses and by clients in hotels, motels and other residential type environments;
Eg. bed and breakfast type environments;
Eg. catering and similar non-retail applications.
IMPORTANT:
The wires in this mains lead are colored in accordance with the following code: Green or Green with a strip yellow: Grounding
White: Neutra
Black: Live
To avoid a hazard due to instability of the appliance, it must be placed at a even or flat surface.
SPECIFICATIONS
DIMENSIONS/CONNECTIONS
Rating
| MODEL | WF-HZB45 |
| POWER SUPPLY VOLTAGE | 1Phase, 110-120/60Hz |
| CLAIMATE CLASS | 10-40°C |
| ELECTRICAL PROTECTION CLASS | |
| ICE MAKING RATING (Amps) | 2.2Amp |
| ICE HARVEST RATING (Amps) | 2.5Amp |
| ICE MAKING CAPACITY (KG/24H) | 45kg/24Hour• |
| REFRIGERANT CHARGE | R290 3.35Oz / 95g |
| VESICANT | C5H10 |
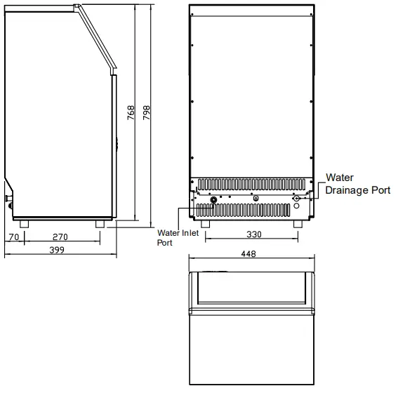
| UNIT DIMENSIONS(W X DX H) (mm) | 448 X 400 X 798 |
| WATER CONSUMPTION(L/24H) | 50L |
| MAX ICE STORAGE CAPACITY(KG) | 15Kg |
| ACCESSORIES | SHOVEL, INSTALLATION KITS |
| CONNECTION | POWER CORD— 18AWG WATER SUPPLY—-6.35mm diameter DRAIN <D 16 SYLPHON BELLOWSS (REAR) |
| RUNNING CONDITIONS | ROOM TEMP 50-110 Fahrenheit WATER SUPPLY TEMP MtHJel, hfM 02 WATER SUPPLY PRESSURE 0.04-0.6 MPa |
GENERAL INFORMATION
Main Unit Construction

- Top cover
- Door for ice taking
- Ice-making & its water tank assembly: Including ice-making evaporator, water tank, water pump and some detecting parts
- Front panel
- Operation panel
- Air outlet: Must keep the air circulate smoothly, hot air will blow out when unit running.
- Water draining port Normal plugged with the cap. When need to drain the water, unplug the cap. And connect the white drain pipe.
- Water inlet port for water supply: Use to connect the water supply pipe.
Accessory: 2 meters long and white color water drain pipe
water quick connector of the water faucet,
¢6.35mm diameter and white color water supply pipe(3 meters long
Ice-making and its water tank parts

A. Water dividing pipe with nine little holes, water will flow out from these little holes. And if no water flows out, can be disassembled and cleaned.
B. Evaporator (ice-making module)
C. Ice full detecting board: Use to detect the inner cabinet is full of ice or not, and to check the the ice-harvest process is over or not.
D Water tank
E Water supplying pipe
F Cover board on the right side of the evaporator
G Water level switch installing plate
H Water drain pipe of the water tank when ice-making, this pipe should be clamped in the slot of the water tank wall; And when draining, this pipe should be pulled out.
I Water pump
J Water level detecting switch
Operation panel
A “TIMER CLEAN” button
Quickly press this button once, to enter the Timer setting program; And press this button for more than 5 seconds, to enter the Cleaning program.
B “ON/OFF” button
When the unit is off, press this button to turn on the unit; And during the Self-cleaning program, or normal ice-making state, press this button to turn off the unit at once; And also if the unit is set with the Timer, press this button to cancel the Timer setting. When the unit is making the ice cube, press this button for more than 5 seconds, the unit will switch to ice harvest process by force.
C LCD display window
1.Environmental temperature display and ice-making time countdown display. Display ice-making time countdown with M as the unit display, and display environmental temperature with F as the unit display.
2 Making ice and deice symbol display, the machine is making ice when the symbol rotate, and the machine is deice when the symbol flash. .
3 Automatic self-cleaning symbol display
4 On/off symbol display
5 Error code display E1 means the environmental temperature sensor is damaged. E2 means ice making anomaly or the refrigerant leaked
6 Water flow in and water shortage display, the arrow flashing indicates that the machine is in the water, the whole symbol is bright to indicate that the machine is short of water.
7 Ice full alarm, the machine will making ice again when you take out the ice.
8 Setting display. Display timing switch machine with the H as unit display; Display ice making time setting with M as unit display.
D&E “+” “-”button
Use to adjust the ice-making process duration period length, the default setting is zero, 1 minute adding or decreasing per each pressing of “+” or “-” button. Also to adjust the delay time of the timer, the default setting is zero, 1 hour adding or decreasing per each pressing of “+” or “-” button.
EXPLOSIVE DRAWINGS

| No. | Parts Name | Material | Qty. |
| 1 | Front panel | Stainless steel | 1 |
| 2 | Bottom plate | Zinc-plated steel board | 1 |
| 3 | Condenser | Copper tube and aluminum fin | 1 |
| 4 | Operation panel paper | PET | 1 |
| 5 | Operation panel PCB box | ABS | 1 |
| 6 | Operation panel PCB | Electrical and Electronic parts | 1 |
| 7 | Compressor | AC110-120V, 60Hz | 1 |
| 8 | Adjustable foot | ABS and bolts | 4 |
| 9 | Service valve | Copper | 1 |
| 10 | Dry filter | Copper | 1 |
| 11 | Capillary | Copper | 1 |
| 12 | DC fan | DC12V, Electrical parts | 3 |
| 13 | Water inlet valve | DC12V Electrical parts | 1 |
| 14 | Water drainage pipe of the water tank | Silicone pipe | 1 |
| 15 | Ice-harvesting Electro-magnetic valve | AC115V/60Hz, Electrical parts | 1 |
| 16 | Water tank | ABS | 1 |
| 17 | Right side plate | 430 stainless steel | 1 |
| 18 | Water circulation pump | AC110-120V, 60Hz, Electrical parts | 1 |
| 19 | Cover of the water tank | ABS | 1 |
| 20 | Water level detecting switch | DC5V, Electrical parts | 1 |
| 21 | Ice-full detecting plate | ABS | 1 |
| 22 | Magnetic control switch | DC5V, Electrical parts | 4 |
| 23 | Cover board on the right side of the evaporator | ABS | 1 |
| 24 | Evaporator and its frame | Copper plated with nickle, and ABS frame | 1 |
| 25 | Water supplying pipe | Silicone pipe | 1 |
| 26 | Water dividing pipe, with nine holes | ABS | 1 |
| 27 | Cap of the water dividing pipe | Silicone | 1 |
| 28 | Electrical PCB box | ABS,fire-retardant | 1 |
| 29 | Main control PCB | PCB, Electrical parts | 1 |
| 30 | Cover of the main control PCB | ABS,fire-retardant | 1 |
| 31 | Rear plate | Zinc-pated steel | 1 |
| 32 | Insulation sponge of the top cover | PE | 1 |
| 33 | Top cover | Stainless steel | 1 |
| 34 | Ice shovel | ABS | 1 |
| 35 | Left side plate | 430 Stainless steel,(Option) | 1 |
| 36 | Foaming inner cabinet & Ice storing bin | HIPS and Cyclopentane foaming | 1 |
| 37 | Door frame | ABS | 1 |
| 38 | Back strength plate | Zinc -plated steel | 1 |
| 39 | Water outlet pipe of the inner cabinet | Silicone pipe | 1 |
| 40 | Water drainage cap | Rubber | 1 |
| 41 | Water drainage port | ABS | 1 |
| 42 | Door for ice taking | ABS | 2 |
| 43 | Water inlet port | pp | 1 |
| 44 | Power cord | Electrical parts | 1 |
| 45 | Clipper of the power cord | PP, fire-retardant | 1 |
| 46 | Wiring | Electrical parts | 1 |
OPERATING PROCEDURES & MAINTENANCE
UNPACKING YOUR ICE MAKER
- Remove the exterior and interior packaging. Check if all the accessories, including instruction manual, ice scoop, white water inlet pipe, 4 ways to 2 ways water quick connector and the water draining pipe, etc., are inside or not. If any parts are missing, please contact our customer service.
- Remove the tapes for fixing the door and inner cabinet, ice scoop, etc.. Roughly clean the inner cabinet & ice scoop with wet clothe.
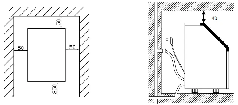
- Put the ice maker on a level & flat floor, without direct sunlight and other sources of heat (i.e.: stove, furnace, radiator). Maker sure that there is at least 20cm gap between the air outlet and the obstacles, and at least 5 cm between Left/Right side and the wall.
- Allow 4 hours for the refrigerant fluid to settle before plugging the ice maker in if the unit maybe fall upside down during shipping or transportation.
- The appliance must be positioned so that the plug is accessible.
WARNING: connect to the potable water supplying only. Only use drinking water.
INSTALLATION LOCATION REQUIREMENT
a) This unit is not for outdoor use. Keep the proper room temperature and inlet water temperature according to above specification table. Otherwise it will affect the ice making performance.
b) This unit should not be located near any heat resource.
c) The unit should be located on a firm & level foundation at normal counter top height.
d) There must be at least 5CM clearance at rear side for connection and 25 CM clearance in front to open the door and keep good air circulation.
e) Do not put anything on the top of the ice maker.
Installation clearance
top view (1:10) (mm) Side view (mm)

To ensure proper ventilation for your ice maker, the front of the unit must be completely unobstructed (at least 20CM free space). Allow at least 50 mm clearance at rear, and 50 mm at top and sides for proper air circulation. The installation should allow the ice maker to be pulled forward for servicing if necessary.
When installing the ice maker under a counter, follow the recommended spacing dimensions shown above. Place electrical and water supplies and drain fixtures in the recommended locations as shown.
Choose a well-ventilated area with temperatures above 50 Fahrenheit and below 90 Fahrenheit. This unit MUST be installed in an area protected from the elements, such as wind, rain, water spray or drips. The ice maker requires a continuous water supply with pressure 1-8 Bar as required in above specification table. The temperature of the water feeding into the ice maker should be between 41 Fahrenheit and ??Fahrenheit for proper operation.
ELECTRICAL REQUIREMENT & CONNECTIONS
WARNING: THIS UNIT MUST BE EARTHED
Electrical Shock Hazard
Plug into a grounding wall outlet.
Never remove the ground prong.
Use separate power supply or receptacle.
Never use an adapter.
Never use an extension cord.
Failure to follow these instructions can result in death, fire, or electrical shock.
Before you move your ice maker into its final location, it is important to make sure you have the proper electrical connection.
It is recommended that a separate circuit, serving only your ice maker, be provided. Use receptacles that cannot be turned off by a switch or pull chain. If the supply cord or plug to be replaced, it should be done by a qualified service engineer.
This appliance requires a standard 110-120 Volt, 60Hz electrical outlet with good grounding means.
Recommended grounding method
For your personal safety, this appliance must be properly grounded. This appliance is equipped with a power supply cord having a grounding plug. To minimize possible shock hazard, the cord must be plugged into a mating grounding-type wall receptacle, grounded in accordance with the National Electrical Code and local codes and ordinances. If a mating wall receptacle is not available, it is the personal responsibility of the customer to have a properly grounding wall receptacle installed by a qualified electrician.
CLEANING YOUR ICE MAKER BEFORE FIRST USING
Before using your ice maker, it is strongly recommended to clean it thoroughly.
- Open the ice getting door.
- Clean with diluted detergent, warm water and a soft cloth.
- Repeatedly clean the water contacting inner parts, you can pull the Water drain pipe of the water tank indicating “H” in above illustration to drain the cleaned water in the water tank, then next to clean inner ice-storing cabinet, till all of inner parts are cleanly, then drain out all of the cleaned water from the water drain port located at unit back indicating ”?”in above illustration. And must to reinstall back the water drain pipe of the water tank and the cap of the unit water drain port, otherwise, the unit will not make the ice normally. And suggest that you should discard the ice-cube made by the first ice making cycle after cleaning.
- The outside of the ice maker should be cleaned regularly with a mild detergent solution and warm water.
- Dry the interior and exterior with a clean soft cloth.
WATER CONNECTION FOR YOUR ICE MAKER
Important: Be sure to use the new hose-sets supplied with the appliance to connect to water mains and that old hose-sets should not be reused.
1 Connect the water supplying hose to the unit
Step 1: First remove the clipper on the water inlet port for water supply (indicated in the following illustration “B”) located at unit back, then pushing inwards the anti-dusty plug, use your other hand’s finger to press the out circle to fix the anti-dusty plug, then take down the anti-dusty plug; Step 2: Insert the one end of the white water hose into the water inlet port, and push inward completely, and install back the clipper, then water hose connection is completed.
2.Connecting the water drain pipe
Pull out the water drainage cap with black color (indicated A in above illustration), then connect the white drainage pipe included in accessory, again connect the other end of this drainage to the main water drainage pipeline.
3. Connect the water hose to the water faucet of the water main supply system
First, install the supplied water quick-connector to the water faucet by screw thread; Second, remove the clipper from the water quick-connector, insert the another end of the water hose into this quick-connector port completely, then install back the clipper, also this step is completed.
Note: The water faucet should be supplied by the customer himself.
Important: The water pressure of main water supply system must be 0.04-0.6 MPa at least.
OPERATION YOUR UNIT
Operation button and display area diagram

Operation the ice-making process
- Starting up Plug in the power plug, the
symbol will flash in the display window, press the ON/OFF button on the control panel, the machine will start to make ice when the external pipe add water to reach the standard level on the water tank through the electromagnetic water valve, then the
symbol will change to light on always in display window and
symbol rotate; The ambient temperature will be displayed in the upper left of the display window “80F”means the ambient temperature is 80F,several minutes later, the flashing numbers will be displayed in the ambient temperature display area, the flashing number“10M”means still need 10minutes to finish this ice making cycle. - Every ice making cycle finished, enter deicing process, the
symbol flash the external pipe can add water to the water tank through the electromagnetic valve, and the arrow on the
symbol will flash until the water reach the standard level, then the
symbol extinguish the unit enter the next ice making cycle When the water can not reach the standard level, the
symbol is always bright, the unit stop working. After water shortage, the unit needs to be restarted, otherwise it will start up automatically after 15 minutes.
Note Each ice making cycle is around 11-20 minutes, the ice making time will be changed according to the ambient temperature and the water temperature change. Especially the first ice making cycle, the ice making cycle will be longer because of the high water temperature in the water tank,. But the cie making cycle will not over 30 minutes. - Adjust the ice thickness ;Press the“+”“ ”button on the control panel to adjust the ice thickness The number in the bottom left of the display window is the setting of the ice making time, default is “0”,press“+”button one time the ice making time will add one minutes, the ice will be thicker Press “ ” button one time the ice making time will reduce one minutes, the ice will be thinner. Restart the machine it will go back to default“0”
Note: The time currently set only changes the next and subsequent ice making cycle. - When the
symbol lights up the machine stop working, it will work again after you take out the ice. - Shut down the unit During the unit making ice press the “ON/OFF” button on the control panel the unit shut down and into standby mode. If you press “ON/OFF” longer than 5S during ice making, then the unit enters the deicing process directly, this function can help remove the ice on the ice plate. Press “ON/OFF” to shut down the machine.
- Timing setting Setting range 1-24 hours
Time shutdown When the unit is running, it can set up the timing shutdown.
Time on When the unit is on standby, you can set the unit with ON-TIMER.
How to set up the timing
Press the TIMER button, the default timing time is“1H”in display window then press “+”button to adjust the timing time you need, every time you press the “+” button, the time add 1 hour; Press “-” button can reduce the timing time. During the process of time adjustment, The “H” in the lower corner of the number will flash then after 5 seconds flashing without pressing, the “H” letter will change from flashing to always displaying, means the timer program has been completed.
In standby condition display 5H,it means the unit will start automatically after 5 hours; In ice making condition display 5H,it means the machine will shut down automatically after 5 hours, the “H” in the display screen indicates that the machine currently has timing function, and the number in front will be smaller and smaller. Until it becomes zero, the timing ends, and the machine enters the mode you need.
How to cancel timing
When the unit has a timing the display window will display XX H),press “TIMER” button the timing is canceled after the number on the screen and “H” are extinguished.
When the unit has a timing, the display area in the lower left corner will display the timing time and the ice making setting time, and the display content will be switched every 5S. - Automatic self-cleaning program, The default cleaning time is 20 minutes.
Start the self-cleaning program: After connecting all of the water pipe, plug on the main power supply plug, then press “TIMER CLEAN” button on control panel for more than 5 seconds, to enter the self-Cleaning program ,the
symbol rotate on display screens time count down area display 20M. And the “CLEAN” light will always be on during this period, the digit window will indicate the left time, the water pump runs for 8 minutes and stops for 3 minutes, always recycle. The total duration time is 20 minutes for one self-cleaning program. Also when the water pump stops, the water will supply to the water tank automatically.
Cancel the self-cleaning program: It takes about 20 minutes to complete one self-cleaning program. When the program is over, the system will be in off-state automatically. And also you can press the “ON/OFF” button on control panel to cancel the self-cleaning program by force. - How to switch Fahrenheit(°F) to Celsius(°c)?
Press +”or“-”button longer than 5s,It will automatically switch.
WIRING DIAGRAM

Normal Sounds
Your new ice maker may make sounds that are not familiar to you. Most of the new sounds are normal. Hard surfaces like the floor, walls and cabinets can make the sounds seem louder than they actually are. The following describes the kinds of sounds that might be new to you and what may be making them.
- You will hear a swooshing sound when the water valve opens to fill the water tank for each cycle.
- Rattling noises may come from the flow of the refrigerant or the water line. Items stored on top of he ice maker can also make noises.
- The high-efficiency compressor may make a pulsating or high-pitched sound.
- Water running from the water tank to the evaporator plate may make a splashing sound.
- Water running from the evaporator to the water tank may make a splashing sound.
- As each cycle ends, you may hear a gurgling sound due to the refrigerant flowing in your icemaker.
- You may hear air being forced over the condenser by the condenser fan. During the harvest cycle, you may hear the sound of ice cubes falling into the ice storage bin.
- When you first start the ice maker, you may hear water running continuously. The ice maker is programmed to run a rinse cycle before it begins to make ice.
Preparing the Ice Maker for Long Storage
If the ice maker will not be used for a long time, or is to be moved to another place, it will be necessary to drain out all of the water in the system.
- Allow all of the ice cubes have been ejected from the evaporator of ice maker.
- Turn off the unit, and unplug the power cord.
- Shut off the water supply at the main water supply.
- Disconnect the water supply hose from the water inlet valve.
- Pull out the Water drain pipe of the water tank indicating “H” in above illustration to drain out the water in the water tank. When all of the water has been drained out, to reinstall back the water drain pipe of the water tank.
- Then drain out all of the water from the water drain port located at unit back indicating “7”in above illustration.
- Disconnect the water drain pipe to the main drain pipeline or floor drain, plug on the drain cap again.
- Drop the door open to allow for circulation and prevent mold and mildew.
- Leave water supply hose and power cord disconnected until ready to reuse.
- Dry the interior & wipe the outside of the unit.
- Put a plastic bag on the unit to resist out dust & dirty.
CLEANING & MAINTENANCE
WARNING: Before carrying out any cleaning or maintenance operations, unplug the ice maker from the main power supply electricity. (EXCEPTION: Ice maker self-cleaning program).
Do not use any alcohol or fume for cleaning/sanitization of the ice maker. It may cause cracks on the plastic parts.
Ask a trained service person to check and clean the condenser at least once a year, in order to let the unit work properly.
This appliance must be cleaned by use of a water jet.
CAUTION
If the ice maker has been left unused for a long time, before the next use it must be thoroughly cleaned. Follow carefully any instructions provided for cleaning or use of sanitizing solution. Do not leave any solution inside the ice maker after cleaning.
Periodic cleaning and proper maintenance will ensure efficiency, top performance, hygienic, and long life. The maintenance intervals listed are based on normal conditions. You may want to shorten the intervals if you have pets, or the unit is used outdoors, or there are other special considerations.
What shouldn’t be done
Never keep anything in the ice storage bin that is not ice: objects like wine and beer bottles are not only unsanitary, but also it’s labels may slip off and obstruct the drain pipe.
Exterior Cleaning
The door and cabinet may be cleaned with a mild detergent and warm water solution such as 28g of dish washing liquid mixed with 7.5L of warm water. Do not use solvent-based or abrasive cleaners. Use a soft sponge and rinse with clean water. Wipe with a soft clean towel to prevent water spotting. Stainless steel models can discolor when exposed to chlorine gas and should be cleaned. Clean stainless steel models with a mild detergent and warm water solution and a damp cloth. Never use abrasive cleaning agents.
NOTICE: Stainless steel models exposed to chlorine gas and moisture, such as in areas with spas or swimming pools, may have some discoloration of stainless steel. Discoloration from chlorine gas is normal.
Interior Cleaning
For Ice Storage Bin
The ice storage bin should be sanitized occasionally. Clean the bin before the ice maker is used for the first time and reused after stopping for an extended period of time. It is usually convenient to sanitize the bin after the ice making system has been cleaned, and the storage bin is empty.
- Disconnect power to the unit.
- Open the door and with a clean cloth, wipe down the interior with a sanitizing solution made of 28g of household bleach or chlorine and 7.5L of hot water(95 to 115 ) .
- Rinse thoroughly with clear water. The waste water will be drained out through the drain pipe.
- Reconnect power to the unit.
The ice scoop should be washed regularly. Wash it just like any other food container.
WARNING
DO NOT use solent cleaning agents or abrasives on the interior, These cleaners may transmit taste to the ice cubes, or damage or discolor the interior.
Ice Making Parts Cleaning
During the using, periodically to clean these main system of your ice-maker.
- Repeat above step to clean the water tank and other inner parts of the unit.
- Especially, to the water dividing pipe on the evaporator, when the compressor and the water pump
run normally, but if there is no water flowing out from the water dividing pipe or the water flowing is very small, please discharge this water dividing pipe to clean carefully. Clean each little holes on the water dividing pipe displayed in the following illustration, make sure each hole is not clogged by something, then install back to the original location. - When there are ice cubes on the surface of the evaporator, but can’t fall down easily, do not use the mechanical substance to remove it by force; Only press the “ON/FF” button for more than 5 seconds, the unit will enter the ice melting process, after some while, the big ice-cubes will fall down, then turn off the unit and unplug the power cord to clean the surface of the evaporator.

- For the water tank and ice-full detecting plate

Also the water tank and the ice-full detecting plate is very important to keep your ice cube hygienic. Put mixture of neutral cleaner & water into a clean water jet, then spray to all the inner surface of tank & the ice detecting plate. Wipe these surfaces as far as possible with a clean cloth. And then, spray the surfaces with clean water, wiping with a dry clean cloth. Then drain out the cleaned water in the water tank by pulling out the Water drain pipe of the water tank indicating “H” in above illustration. When all of the cleaned water has been drained out, to reinstall back the water drain pipe of the water tank
Suggestion: After cleaning the interior parts and install back to its respective position, and return machine to work, discard first batch of ice.
Ice Making Assembly System Cleaning by Using Nu-Calgon Nickle Safe
Ice-machine Cleaner
Minerals that are removed from water during the freezing cycle will eventually form a hard scaly deposit in the water system. Cleaning the system regularly helps remove the mineral scale buildup. How often you need to clean the system depends upon how hard your water is. With hard water of 4 to 5 grains/liter, you may need to clean the system as often as every 6 months.
- Turn off the ice maker. Keep the ice maker connect to the water supply and drainpipe. But shut off the water faucet of main water supply.
- Open the door and scoop out all of the ice cubes. Either discard them or save them in an ice chest or cooler.
- Making the cleaning solution. Please mix the Nu-Calgon Nickle Safe Ice Machine Cleaner with water to make the cleaning solution.
WARNING
Wear rubber gloves and safety goggles ( and/or face shield) when handing Ice Machine Cleaner or sanitizer.
Use a plastic or stainless container with more than 4 liters capacity, mix 300 ml
Nu-Calgon Nickle Safe Ice-machine Cleaner with 2.8 liters warm water about 120°F-140°F, Then divide them for 2 shares equally in 2 cups. It is better to keep the temperature of each cup of the cleaning solution. - check to be sure that the water drain pipe of the water tank has been installed properly in the slot of the tank wall. Then Pour one cup of Nickel-Safe Ice Maker Cleaning Solution into the water tank. Wait about for 5 minutes.

- Turn on the power to the ice maker, then press “TIMER CLEAN” button on control panel for more than 5 seconds, to enter the self-Cleaning program. Same as above explanation, the water pump runs for 8 minutes and stops for 3 minutes, one cycle, again one cycle. The total duration time is 30 minutes for one self-cleaning program.
During this process, the “CLEAN” light will always be on during this period, and the digit window will indicate the left time, - After 30 minutes of one self-cleaning program completing, pull out the drain pipe of the water tank, drain the cleaning solution down to the lower ice storage bin. Shake the unit slightly to drain out all of the cleaning solution completely. Then install back the drain pipe to the slot of the water tank.
- Repeat steps 4–6 to clean the ice making assembly system again.
WARNING
The ice machine cleaner contains acids.
DO NOT use or mix with any other solvent-based cleaner products.
Use rubber gloves to protect hands. Carefully read the material safety instructions on the container of the ice machine cleaner. - Then open the water faucet of the main water supply, Let the water flow in the unit. Again press the “TIMER CLEAN” button on control panel for more than 5 seconds, to enter the self-Cleaning program. Same as above explanation, the water pump runs for 8 minutes and stops for 3 minutes, one cycle, again one cycle. The total duration time is 30 minutes for one self-cleaning program.
During this process, the “CLEAN” light will always be on during this period, and the digit window will indicate the left time. Through this process, It will rinse the water dividing pipe, evaporator, water pump, silicone pipe, and water tank, etc.. - After one self-cleaning program complete, then pull out the drain pipe of the water tank, drain the cleaning solution down to the lower ice storage bin, also shake the unit slightly to drain out all of the water completely. Then install back the drain pipe to the water tank slot tightly.
- Repeat the step 8-9 again for 2 times.
- Following the above program to clean the ice storage bin .
- When this special cleaning program finish, you can return to the regular ice making mode. And suggest to discard the first batch of ice cube.
Cleaning Suggestion
- DAILY CLEANING
The ice shovel, door and the water dividing pipe should be cleaned by yourself per each day. At the end of every day, rinse the ice shovel and wipe the both sides of the door with a clean cloth. - SEMI-MONTHLY CLEANING
The ice shovel, ice bin, water tank, the ice-full detecting plate and the surface of the evaporator are to be cleaned by yourself semi-monthly according to interior cleaning program. - SEMI-ANNUAL CLEANING
All the components & surfaces exposed to water or ice cubes, like ice storage bin, water tank, door, evaporator, water pump, silicone tube, water dividing pipe, etc. should be cleaned by Using Nu-Calgon Nickle Safe Ice-machine Cleaner per each 6 months. They should be cleaned by the serviceman according to ice making assembly system cleaning program.
NORMAL TROUBLE SHOOTING
| Problem | Possible Cause | Solution |
| No water supply | Check the main water supply pressure or check the water supply hose is blocked or not, adding the water pressure or cleaning the hose necessary. | |
| Floating ball of the water level detecting switch is blocked, can’t be raised up | Clean the water tank and the water level detecting switch | |
| Water flows out from the water tank | Place the unit on the level position, not on the slope | |
| Water flows out from the water drain pipe of the water tank. | Pull out the pipe and install back to the slot of the water tank properly. | |
| The unit start to enter the ice making process, but no water flowing in the unit, and the “ | Water supplying hose breakdown, or water flows in very slowly. | Check the main water supply pressure or check the water supply hose is blocked or not, adding the water pressure or cleaning the hose necessary. |
| Water pump is working, but no water flow out from the water dividing pipe | The little holes on the water dividing pipe is blocked. | Clean these little holes. |
| The transparency of the ice cube is not very good | Water quality is bad | Change the water supply, or use the water filter to soften or filter the water. |
| Ice cube Shape is irregular | Water quality is not good or the water tank is very dirty | Clean the water tank, and change with new water. |
| The little holes on the water dividing pipe is some blocked | Clean the water dividing pipe all nine holes are unclogged make sure | |
| Ice cube is very thin | Ambient high temperature is too | Move the unit to low temperature space, or lengthen the time of each ice making cycle. |
| Air circulation around the unit is not goog | Make sure there is more than 20CM space between the unit back & front and the obstacle | |
| Ice cube is too thick | Ambient temperature is too low | Reduce the time of each ice making cycle. |
| The ice storage bin is full of the ice cube. | Take out some ice cube |
| ” indicator is on | The ice storage bin is full of the ice cube. | Take out some ice cube |
ERROR INDICATOR
a) Ambient temp sensor breakdown—– Display E1 in digital window.
b) The machine not make ice or the gas leak —-Display E2 in digital window
c) Magnetic control switch cutoff—- “Full” light will be on when plugging on or just turning on the unit. And it will delete the breakdown display if this switch is electric shorted.
d) During the ice making process, press the “ON/OFF” button for more than 5 seconds, the unit
Start to enter the ice harvest program. And after the ice harvest program, it continue to enter the ice making process.
Correct Disposal of this product
![]() | This marking indicates that this product should not be disposed with other household wastes throughout the EU. To prevent possible harm to the environment or human health from uncontrolled waste disposal, recycle it responsibly to promote the sustainable reuse of material resources. To return your used device, please use the return and collection systems or contact the retailer where the product was purchased. They can take this product for environmental safe recycling. |
Customer Service
Customer Service :[email protected]
Phone:888-257-3857
DANGER – Risk Of Fire Or Explosion. Flammable Refrigerant Used. To Be Repaired Only By Trained Service Personnel. Do Not Puncture Refrigerant Tubing.





















