GeneralAire GF-3200PFT Evaporative Humidifiers
Installation Manual
Please Read And Save These Instructions
- Your new humidifier carries a 5-year limited warranty.
- For our complete warranty policy visit www.generalaireiaq.ca.
CAUTION
- This symbol and the word “CAUTION” indicates IMPORTANT INSTRUCTIONS!
Plenum Installation Location: Model GF-3200PFT humidifiers may be installed on either the return or supply plenum of a forced air handling system. The humidifier’s bypass panel is reversible and can be mounted on the right or left side of the humidifier. Select a location for the humidifier that allows for service and maintenance.
Failure to heed CAUTION! or WARNING! can result in serious injury or death.
Inside The Box
- GF-GA900 Vapor Pad®
- Pulse Solenoid
- Integral Bypass Damper With Duct Collar
- Manual Humidistat
- 24V Transformer
- Hardware Kits
- 1/4″ Diameter plastic supply tubing for hot or cold water applications
- 6″ Diameter rigid and flexible by-pass duct
- Electrical wire
- 1/2 x 1/2 x 1/4 CSA approved ball valve
- HSA055 Pulse Electronic Controller
- Drain Hose
WARNING: DISCONNECT ELECTRICAL POWER BEFORE BEGINNING INSTALLATION.
IMPORTANT: To ensure your safety and the longevity of your unit, we recommend:
- Contact a licensed contractor to perform maintenance or repairs.
- Changing your Vapor Pad® at the start of each heating season.
WARNING: Do not install where ambient temperatures fall below 32°F / 0° C or where plenum temperatures exceed 200° F / 93° C. For maximum evaporative capacity, install this humidifier on the warm air supply plenum.
PREPARING THE UNIT
- Install and fasten the water diffuser, the long plastic piece, with two screws (#6 x 1/2″) inside the top part of the humidifier.
- Install the solenoid valve (mounted on a plastic bracket) outside of the top of the humidifier.
- While supporting the water diffuser with one hand, insert the plastic tube protruding from the valve into the hole in the middle of the top part of the humidifier, making sure that the plastic tubing is firmly seated in the hole of the water diffuser.
- Fasten the valve assembly to the unit with screws #6 x 1/2″.

- This unit is reversible. When changing the humidifier left or right, make sure you place the evaporative pad the correct way. The frame is marked “FRONT”; see “INSTALLING THE VAPOR PAD” for further details.
PREPARING THE DUCT
Note: Installation on the hot air duct will improve humidity output.
- Once a location is determined for placement on the duct, attach the template to the duct.
- Punch and drill the four corners for the opening and the six fastening holes with a 3/32″ drill.
- Remove the template and complete the opening outline.
- Cut the opening in the plenum.

ATTACHING THE UNIT TO THE DUCT
Note: Use the six screws provided (#8 x 3/4″) to attach the humidifier body to the duct.
- Hold the humidifier body to the duct opening, ensuring the locating ribs fit into the duct opening.
- Check that the humidifier is level from left to right, then fasten it to the duct.

INSTALLING THE COLLARS AND FLEX DUCT
- Install the 6″ duct collar in a location opposite the duct with the humidifier body.
- Slide the bypass panel into the side opening of the humidifier until it snaps.
- Measure the required flex duct length from the duct collar to the bypass panel so it does not sag. Cut the flex duct to length and install it as shown. Secure flex duct using screws, foil tape and/or duct tape.

INSTALLING THE DRAIN TUBE
- First slip the hose clamp over the hose.
- Push the drain tube (1/2″ I.D.) over the drain fitting located at the bottom of the unit and secure it in place with the hose clamp.
- Make sure the tube has no bends so that water can easily flow through the tube straight to the drain.

INSTALLATION
INSTALLING THE VAPOR PAD (Shown at Right)
- Slide the pad and frame into the bottom part of the humidifier.
- Push the pad against the back opening of the humidifier until it locks (snaps) into place with the pad retainer.

CONNECTING THE WATER SUPPLY TUBING TO THE WATER HAMMER ABSORBER AND VALVE (Shown Below) – Cold Water Install
- This water hammer absorber is connected to the electric valve at the factory.
- Install the water plastic supply tubing on the other side of the rubber hose. That side has a compression fitting to receive the supply tubing.
- Slip the brass compression nut onto the plastic supply tube, then the nylon sleeve with its most tapered end towards the end of the tube. Finally, install a brass insert into the end of the plastic tubing.
- Push the supply tube fully into the brass compression fitting. Tighten the brass compression nut with small wrenches, without stripping, using the double wrench method to order to apply the torque on the fitting only.
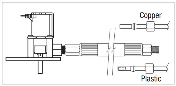
NOTE: For hot water installation use copper tubing.

INSTALLING THE QUICK-CONNECT VALVE
Note: The water supply can be taken from the nearest suitable cold, hot, softened or unsoftened water line. The use of service hot water (140°F / 6°C Max) increases output. NOTE: When using hot water ensure you are using copper piping.
- Cut the tubing and pipe to desired length. Make sure that the cuts are square and all burrs are removed.
- Push the fitting onto the end of the pipe. The fitting will grip before it seals.
- Ensure that the tubing /pipe is pushed into the fitting until the end is fully seated into the internal tube stop.
NOTE: Ensure that there are no scratches, gouges or any form of damage on the circumference of the tubing within 1” of the cut end. Damage in this area may cause leakage. Check the fitting for any signs of damage or foreign objects.
Hot Water Installation: When using hot water (140°F/60°C Max) it requires copper tubing to prevent any leaking/flooding. Hot water improves the evaporative capacity (this model reduces drained water by 80%).
INSTALLING THE ELECTRONIC CONTROLLER:
The HSA055 is factory set at NO TEMP (TEST), with settings for HIGH TEMP and LOW TEMP
- The NO TEMP (TEST) setting is used when the humidifier is supplied power from the furnace HUM connection. The controller is mounted on the return plenum but must be set to to TEST. The unit will run as long as there is power AND the humidistat is calling for more humidity. The sensor hole is not required as power cycles with heat. INSTALL ON RETURN PLENUM
- The LOW TEMP setting is used for furnaces that generate less heat, such as those with a heat pump. The unit may operate for a short while after the furnace has stopped due to residual heat in the duct. INSTALL ON SUPPLY PLENUM
- The HIGH TEMP setting is used for furnaces that generate more heat, typically oil or gas furnaces. You may have to try both settings to see which one is right for you. INSTALL ON SUPPLY PLENUM
- To choose the setting on the controller, set the dip-switches, as shown on the controller. For HIGH and LOW settings the controller must be installed on the warm air duct with two screws (#8 x 3/4″). There are two lights on the controller: the green LED means there is the power to the controller and the blue LED cycles on as the valve opens. When switched ON by the humidistat, the controller opens the electric valve for approximately 4 seconds and then closes the valve for another 30, and so on. Please use the template to drill the 3 holes.
HOW THE HSA055 PULSE CONTROLLER WORKS
- The HSA055 pulse controller works by turning the water ON for 4 seconds, then turning it OFF for 30 seconds. This fixed setting reduces excess water that may flow down the drain without reducing humidity output.
INSTALLING THE 120 VOLT TRANSFORMER
Note: Do not install it on a furnace supplied with a different voltage.
- Connect the transformer primary to the relay activated when the furnace is in a heating cycle. Some furnaces have power terminals that can be used for accessories. (Refer to the furnace installation manual.)

BASIC INSTALLATION UTILIZING THE FURNACE-SUPPLIED 24V CIRCUIT BOARD
INSTALLING THE HUMIDISTAT
Note: Install the humidistat on the return duct. Never install the below humidifier. 1. Refer to the installation manual accompanying the humidistat.
STARTING YOUR HUMIDIFIER
- Open the water supply valve, put the furnace power back on and start the furnace in a heating cycle. Set the humidistat to the maximum setting. After a few ON/OFF cycles of the electric valve, you should see water flowing through the drain tube. Check that the water is evenly distributed by the water diffuser across the pad. Carefully check that both ends of the water supply tube are firmly held in place by their respective compression fitting. Set the humidistat according to the recommended setting (40-60% RH). Check the system several times to make sure there is a free flow in the drain tube and there is no leak before leaving the installation unattended. When everything is working fine, affix the nameplate to the humidifier cover.
MAINTENANCE
- Replace your GF-GA10 Vapor Pad® With Frame at the beginning of each heating season.
- Remove any scale buildup by soaking in vinegar and water.
WARRANTY
- Your new humidifier carries a 5-year limited warranty. For our complete warranty policy and registration visit www.generalaireiaq.ca.
Model GF-3200PFT
Electronically Controlled Pulsed Flow Humidifier
Please read the instructions carefully before starting the installation. This humidifier must be installed by qualified heating and air conditioning contractor. The Pro 600 model can be installed on either the supply or return plenum of a forced-air heating system. It is easily reversible for the right or left hand. The total dimensions are: 15″ x 15″ x 9″. The opening in the duct is
9-1/4″ x 8-1/4″. In selecting the best location for the unit, please take both dimensions and serviceability into consideration. If the furnace is equipped with a central cooling system, the damper of the unit should be closed during the cooling season.
TEMPLATE # 3
Canadian General Filters Limited
- 400 Midwest Rd. Toronto, ON M1P 3A9 Canada
Toll-Free:
- (888) 216-9184
- www.generalaireiaq.ca




























