GE current H1000 Luminaire Horticulture HPS Fixture Installation Guide
BEFORE YOU BEGIN
Read these instructions completely and carefully.
WARNING
RISK OF ELECTRIC SHOCK
- Turn power off before installation, inspection, cleaning or removal. And follow appropriate lock out/tag out safety procedure.
- Properly ground electrical enclosure.
- Follow all National Electric Codes (NEC) and local codes.
- This product must be installed in accordance with the applicable installation code by a person familiar with the construction and operation of the product and the hazards involved.
- The installation and associated structures are subject to approval by the authority having jurisdiction.
- Use only with components identified in this document.
- Suitable for dry, damp locations.
- Do not expose lamp to water. The lamp may shatter and cause injury.
- Wear suitable Personal Protective Equipment (PPE) during installation/maintenance. Highly recommend safety glasses, helmet and leather gloves for luminaire mounting.
- Luminaire design for Greenhouse only.
- Suitable for operation in an ambient temperature between 0°C and 40°C.
- Do not keep combustible materials below lamp. While lamp breaking is extremely unlikely hot lamp parts may fall and cause property damage.
- Do not turn on lamp until fully installed.
CAUTION

Special purpose lamps.
Not suitable for household illumination.
Save These Instructions
Use only in the manner intended by the manufacturer. If you have any questions, contact the manufacturer.
Risk of Injury/Risque de Blessure
Do not look directly at the operating lamp for any period of time, this may cause eye injury.
Please Note/Attention
- This device complies with Part 18 of the FCC Rules. This product may cause interference to radio equipment and should not be installed near maritime safety communications equipment or other critical navigation or communication equipment operating between 0.45-30 MHz.
- This Class [A] RFLD complies with the Canadian standard ICES 005 (*).
- Modifying or opening the system will void the warranty.
- Before resetting the ballast, please allow 15 minutes for the lamp to cool down.
- When your system cannot be ignited, please check the LED indicator first to diagnose the problem and find a solution.
Check if all the connections are correct. If the lamp is still off, please contact the manufacturer or distributor.
Wiring Diagram

Light Dispersion

LED Indicator Function
The LED indicator is designed to help troubleshoot minor issues with the ballast.
The LED indicator statuses are as follows:
- LED off: no power supply/with power supply.
- LED flashing: see below table for flash pattern and resolutions:
| Flash Frequency | Status | Description and Solution |
| Flashing Once | Ballast Locked | The ballast tried to light the lamp five times. Disconnect and reconnect power source. |
| Flashing Twice | Output Error | The lamp stopped for unknown reason. Check whether the lamp is correctly mounted. |
| Flashing Three Times | Low Input Voltage | The input voltage is too low. Ensure the input voltage matches the power cord and ballast specifications. |
| Flashing Four Times | High Temperature | The ballast has overheated. Reduce the ambient temperature. |
| Flashing Five Times | Lamp Error | Lamp voltage is too high or too low. Ensure lamp matches specifications. |
| Flashing Six Times | High Input Voltage | The input voltage is too high. Ensure the input voltage matches the power cord and ballast specifications. |
Product Specifications
| SKU | Description | Description | Product Quantity | Product Weight lbs (kg) | Dimensions inches (L x W x H) |
Voltage | Max Rated Input Current* | Power Factor |
| 93121131 | GEHPS-DE1000-4CS4N1 | 1000W, Cylindrical Reflector, 41mm Hangers | 1 | 7.43(3.37) | 12.3 x 9 x 21 | 277/347 VAC,50/60Hz | 4.8/3.8A | > 0.95 |
| 93121132 | GEHPS-DE1000-4OS4N1 | 1000W, Open Reflector, 41mm Hangers | 1 | 7.32(3.32) | 12.7 x 9.3 x 21 | 277/347 VAC,50/60Hz | 4.8/3.8A | >0.95 |
| 93121133 | GEHPS-DE1000-4CS5N1 | 1000W, Cylindrical Reflector, 51mm Hangers | 1 | 7.43 (3.37) | 12.3 x 9 x 21 | 277/347 VAC,50/60Hz | 4.8/3.8A | >0.95 |
| 93121134 | GEHPS-DE1000-4OS5N1 | 1000W, Open Reflector, 51mm Hangers | 1 | 7.32 (3.32) | 12.7 x 9.3 x 21 | 277/347 VAC,50/60Hz | 4.8/3.8A | >0.95 |
| 93121135 | GEHPS-DE1000-5CS4N1 | 1000W, Cylindrical Reflector, 41mm Hangers | 1 | 7.12 (3.23) | 12.7 x 9.3 x 21 | 480 VAC,50/60Hz | 2.6A | >0.95 |
| 93121226 | GEHPS-DE1000-5OS4N1 | 1000W, Open Reflector, 41mm Hangers | 1 | 7.01 (3.18) | 12.3 x 9 x 21 | 480 VAC,50/60Hz | 2.6A | >0.95 |
| 93121227 | GEHPS-DE1000-5CS5N1 | 1000W, Cylindrical Reflector, 51mm Hangers | 1 | 7.12 (3.23) | 12.7 x 9.3 x 21 | 480 VAC,50/60Hz | 2.6A | >0.95 |
| 93121228 | GEHPS-DE1000-5OS5N1 | 1000W, Open Reflector, 51mm Hangers | 1 | 7.01 (3.18) | 12.7 x 9.3 x 21 | 480 VAC,50/60Hz | 2.6A | >0.95 |
| 93121229 | GEHPS-BLB-1000W-DE | Double-Ended 100W HPS Bulb | 12 | – | – | – | – | – |
| 93121230 | GEHPS-RFT-CYL-DE10 | Cylindrical Reflector | 10 | – | – | – | – | – |
| 93121231 | GEHPS-RFT-OPN-DE10 | Open Reflector | 5 | – | – | – | – | – |
Max Rated Input Current (A) covers voltage variations, lamp end of life electrical characteristics and environmental variations impact.
Installation Steps
Mounting Option A: Hook Installation Instructions

- Install the hooks (hangers) onto the threaded studs. Ensure the hooks are facing opposite directions.
- Each hook by first sliding on a nylon washer, then a spring washer, and then securing with an M6 nut.
- Ready to mount.
Mounting Option B: Eyebolts Installation Instructions

- Thread the hex nut all the way onto the eye bolt. Then screw the eyebolt into the threaded boss on top of the lamp holder assembly.
Then tighten the hex nut down the eye bolt onto the boss to properly secure the eyebolt. - For the other eyebolt, first slide a nylon washer and a spring washer onto one of the studs above the ballast. Then thread and tighten down a hexagonal standoff onto the stud. Then follow the steps above to properly secure the eyebolt into the hexagonal stud.
- Ready to mount.
Reflector Installation Instructions

- Align the two holes on the reflector to the two pins on the side of the ballast.
- Push the other side of the reflector down toward the bracket side.
- A click will be heard once properly installed.
To remove the reflector, retract the two pins.
Lamp Installation Instructions
WARNING
RISK OF ELECTRIC SHOCK
Turn power off before inspection, installation or removal.
RISK OF FIRE
- Only use lamps specified on the luminaire.
- Make sure the lamp-holders are clean and in good condition, replace new one when needed. Affix the lamp securely in the socket. Improper installation will cause electrical arcing, overheating, and short life to lamp and socket.
CAUTION
NOTE
- Never bend the lamp wires.
- Always use a fabric gloves to handle the lamp and reflector.
- It is recommended to replace the lamp after 10,000 hours, and the reflector after 2-4 years.

- Open the lamp holders by sliding them outward. Carefully take out the old lamp.
- Install the new lamp with the glass vacuum seal pointed downward. Carefully place the lamp wires into the lamp holder, ensuring contact with the metal connector. The spring clips on the lamp holders can temporarily hold the lamp in place.
- Close the lamp holders by sliding them inwards.
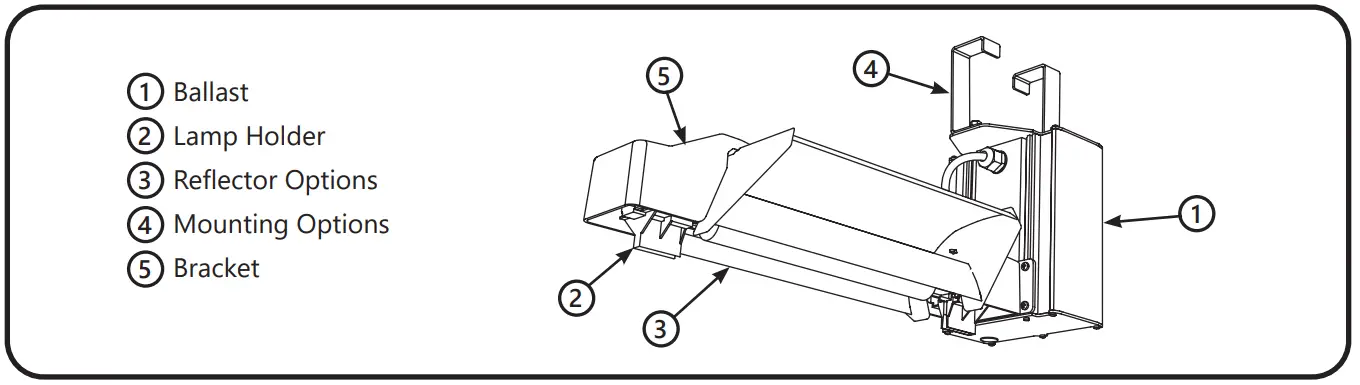
List of Components

Reflector Options

Mounting Options

Conforms to the following standards:

Visit www.LED.com
Call us today! 1-888-694-3533
Email us: [email protected]
www.gecurrent.com
© 2021 Current Lighting Solutions, LLC. All rights reserved. GE and the GE monogram are trademarks of the General Electric Company and are used under license. Information provided is subject to change without notice. All values are design or typical values when measured under laboratory conditions.
HORT131 (Rev 06/11/21) Enovia – A-1021353




















