beurer UWB 55 Heated Underblanket Instructions
IMPORTANT INSTRUCTIONS
DO NOT DESTROY
Signs and symbols
Whenever used, the following signs identify safety and property damage messages and designate a level of hazard or seriousness.
READ THIS ENTIRE MANUAL, THE SAFETY SECTION AND ALL INSTRUCTIONS AND WARNINGS COMPLETELY AND CAREFULLY BEFORE USING THIS PRODUCT. FOLLOW ALL SAFETY INSTRUCTIONS AND WARNINGS TO AVOID HAZARDOUS SITUATIONS AND TO MAKE CORRECT USE OF THIS PRODUCT.


WARNING – To reduce the risk of fire, electric shock, or serious personal injury:
- Be sure to read carefully the accomplaying instruction manual before using this underblanket.
- Inspect this product before using it in order to make sure that there are no broken parts, missing parts and/ or damaged areas. Do not use the electric underblanket or power cord if there are broken parts, missing parts or damaged areas. If the power cord is damaged, it must be replaced by the manufacturer or its service department, or a similarly qualified person to prevent hazards. Repair work by unqualified persons can cause serious risk.
- Do not use this electric underblanket with an infant, a helpless person, or anyone insensitive to heat, such as a person with poor blood circulation.
- This electric underblanket is not intended for use by persons with reduced physical, sensory or mental capabilities or any person with diabetes unless carefully attended.
- This product must not be used by persons who are not sensitive to heat or by vulnerable persons who may not be able to react to overheating.
- This product must not be used by children under three.
- This product may not be used by young children (3 – 8 years old) unless the controller has been set by a parent or responsible adult and the child has been given adequate instructions on how to use the underblanket safely.
- This product may only be used by children over the age of 8 and by people with reduced physical, sensory or mental skills or a lack of experience or knowledge, if they are supervised and have been instructed on how to use the underblanket safely and are fully aware of the risks of use.
- Do not use the electric underblanket with liniment, salve or ointment preparations that contain heat-producing ingredients. Skin burns can result.
- Do not use with alcohol.
- Consult with a physician for use with controlled substances.
- Do not use when symptoms of appendicitis are present. Consult your physician.
- When this heated underblanket is switched on:
- Do not place any objects or heat sources onto it, such as hot water bottles, heating pads or similar.
- Do not insert sharp objects into the product.
- Do not use when folded or bunched up.
- Avoid folding this underblanket when in actual use, to avoid excessive heating.
- Use this product as a heated underblanket only. Do not wrap it directly around your body when in use.
- The electronic components inside the control unit will heat up whilst operating the electric underblanket. Therefore, never cover the control unit or place it onto the electric underblanket during operation.
- Do not tuck in the wired area or the plug or supply cord of this underblanket.
- Do not use pins – they may damage the electric wiring.
- Do not pull, twist or make sharp bends in the cables.
- Do not route electrical cords between the underblanket and box spring. Do not allow the cords to be pinched.
- Do not tuck the blanket or supply cord in a sofa or other furniture. All portions of the blanket or controller should be visible at all times.
- Wrapping of cord around the controller may damage the cord. Loop losely when storing.
- Do not use this product on a damp mattress or on a waterbed.
- Do not use on pull-out bed or fold-up bed.
- Do not use product if you or the product is wet.
- Keep the control away from drafty areas that may become damp or wet such as an open window.
- Please check this product frequently for signs of wear and tear or damage. If detected, discontinue use and contact customer service.
- If improper operation of this electric underblanket is observed, discontinue its use immediately and consult the manufacturer or the dealer regarding its repair.
- If you have any questions about using this device, contact Customer Service.
- The electrical and magnetic fields emitted by this product may interfere with the function of a pacemaker. However, they are still well below the limits for electrical field strength (5000 V/m max), magnetic field strength (80 A/m max), and magnetic flux density (0.1 millitesla max). Please consult your doctor and the manufacturer of your pacemaker before using this product.
- This appliance has a polarized plug (one blade is wider than the other) as a safety feature. This plug will fit into a polarized outlet only one way. If the plug does not fit fully into the outlet, reverse the plug. If it still does not fit, contact a qualified electrician. Do not attempt to defeat this safety feature.
- Be sure that this electric underblanket is used on an alternating current supply circuit of the proper voltage.
- Only use this electric underblanket together with the control unit specified on the label.
- Turn off the electric current or unplug when this electric underblanket is not in actual use.
- Never pull on the power cord. Do not use the cord as a handle.
- This heated underblanket is designed solely to warm beds. Do not use this product for any other purpose.
- Not for hotel or motel or other institutional use.
- Not for medical use in hospitals.
- Household plug use only. Indoor use only.
- Do not abuse the product.
- Do not use dry-cleaning fluid on this underblanket, cleaning solvents may have a deteriorating effect on the insulation of the heating element.
- Cleaning and user maintenance must not be performed by children.
- Always observe the information on initial use, cleaning and care, and storage.
Package Contents
- 1x Heated Underblanket UWB 55
- 1x Controller with Power Cord
- 3x Securing Straps
- 1x Instruction Manual
Parts and Controls

- Controller
- Heated Underblanket
- Mains plug
- Cord
- Control Connector
- ON/OFF shift button
- Heat setting
- Timer
Intended Use
This heated underblanket is designed for warming beds only. This underblanket is not intended for medical purposes. It is not suitable for use in hospitals or for any other commercial use. In particular, it should not be used for babies or infants, persons who are insensitive to heat, helpless persons, or animals. Any use not described above, or modifications of the underblanket are not permissible and may lead to injury and /or damage to the product. The manufacturer assumes no liability for damage due to improper use.
Safety System
The heated underblanket is equipped with a safety system. The electronic sensor technology prevents the entire surface of the underblanket from overheating by automatically switching off in the event of a fault. If the safety system switches the underblanket off automatically due to a fault, then the heating indicator light on the controller is no longer illuminated, even if the underblanket is switched on.
NOTICE
- Please note that, for safety reasons, the underblanket must not be used after a fault and must be returned to the service address indicated.
- Never connect the defective underblanket to another controller of the same type. This would also result in a permanent shutdown by the safety system in the controller.
To Use
- The control connector must be connected to the underblanket connector before plugging the unit into an electrical outlet. After connecting the underblanket connector to the control connector, plug the unit into a 120 VAC electrical outlet.

- Spread the underblanket out onto your mattress, starting at the foot end, with the connector toward the head. Leave enough room at the head end for your pillow.
- Attach the securing straps as shown. Start by attaching the first strap to the middle side loop of the underblanket, route it underneath the mattress, and then connect the other end to the other middle side loop on the underblanket (Fig. 1)

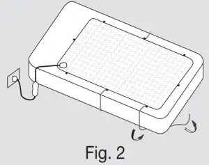
- Attach the second strap to the lower side loop, then route the strap under the corner of the mattress and back up to the loop in the bottom center as shown in Fig. 2.

- Then feed it through the loop in the middle of the foot end. Route the strap back under the other bottom corner of the mattress and back up again to the other bottom side loop as shown in Fig. 3.

- Attach the third strap at the head end of the underblanket like the bottom end strap, routing it under the corners of the mattress and through the middle top loop as shown in Fig. 4.

- Place your sheets and other bedding over the pad onto your mattress as normal.
NOTICE
- The heated underblanket may smell of plastic the first time you use it, but this will disappear after a short period of time.
Switching On
Switch the electric underblanket on about 30 minutes before going to bed and cover it with the top sheet and other bedding. By doing this you will keep all the heat in. Push ON/OFF shift button to ON. The electric underblanket will come at a default setting of temperature level 8 and 10 H timer. The LED for timer and temperature will be illuminated.
WARNING
- Do not fall asleep with the underblanket set to heat level 8.
Switching Off
Push ON/OFF shift button to OFF. The LEDs ceases to illuminate.
Selecting Temperature
To select a heat level, press the Heat Button repeatedly until the desired heat level (1-8) displays. Heat level 1 is the lowest and heat level 8 is the highest. A setting of 4 or lower is recommended for all-night use if not shutting the underblanket off before you go to sleep.
Select Time
To select a time, press the Timer Button repeatedly until the desired time (1, 2, 10, or Always On) is indicated by the red LED next to the selected setting. After the selected time elapses, the underblanket will shut off. To switch the underblanket on again, slide the Power Switch to OFF and back to ON.
Automatic shut-off
This electric underblanket is equipped with an automatic switch-off function. You can set the timer to turn the electric underblanket off after a predetermined time being 1, 2, 10 hours or always on. By pressing the Timer button you will be able to adjust the timer. This will be indicated with the right LED light. When the automatic switch-off function turns the electric underblanket off, all LED lights turn off. To restart the electric underblanket, first push the ON/OFF shift button to OFF. After few seconds push the ON/OFF shift button to ON again. The electric underblanket will come at a default setting of temperature level 8 and 10 H timer again.
If the underblanket is no longer used after the timer expires:
- Switch off the underblanket (OFF),
- Unplug from electrical outlet,
- Disconnect the controller from the underblanket.
Care, Maintenance and Disposal
Washing Instructions
DO NOT DRY CLEAN! DO NOT USE BLEACH! DO NOT USE WRINGER! DO NOT IRON YOUR HEATED UNDERBLANKET
Wash by hand or as follows in automatic washer using slow agitation and normal spin speed: Fill washer with warm water. Add minimum amount of all-purpose detergent, agitate to dissolve, measure underblanket before washing. Add underblanket and soak five minutes. Agitate two minutes. Spin. Fill for cool rinse, agitate one minute then spin. Line dry or on a drying rack. Remove damp underblanket from line or drying rack, gently stretch to original size, and drape to finish drying. Do not iron your underblanket.
WARNING
- Before cleaning, disconnect the mains plug. Do NOT pull by the cord.
- Do not reconnect the controller to the heated underblanket until the control connector and the underblanket are completely dry. Otherwise there is a risk of electric shock.
- Never switch heated underblanket on to help it dry. Otherwise there is a risk of electric shock.
NOTICE
- Never immerse the controller in water or other liquids. It may otherwise be damaged.
- Do NOT use chemical cleaning or scouring agents to clean the underblanket and controller. The underblanket and controller may otherwise be damaged.
- Reshape the still damp underblanket to the original size immediately after washing, and dry flat, spread on a clothes drying rack.
- Do not hang the underblanket up to dry with pegs or similar items. The underblanket may otherwise be damaged.
Let the underblanket line dry or on a drying rack. To prevent product damage, do not use clothespins to attach the underblanket to a clothesline or rack. You may need to gently stretch the underblanket back to its original size and shape before drying it.
Storage
NOTICE
- Let the heated underblanket cool before putting it away. The underblanket may otherwise be damaged.
- To prevent the underblanket from becoming sharply creased, do not store other objects on top of the underblanket. The product may otherwise be damaged.
- If you do not intend to use the underblanket for any length of time, store it in the original packaging in a dry environment and without weighing it down.
- Disconnect the mains connection and the controller from the underblanket to do so.
Disposal
Observe the local regulations for material disposal. Dispose of the device in accordance with local regulations. If you have any questions, please contact the local authorities responsible for waste disposal.
Technical Specifications
| Type: | UWB 55 |
| Model: | TT150x80x8X1 |
| Underblanket Size: | 59 x 31.5 in (150 x 80 cm) |
| Power supply: | 120V/60Hz |
| Wattage: | 50 W |
| Cover Material: | 100% polyester |
| Timer | 1, 2, 10 hours or always on |
| Temperature levels: | 8 temperature settings setting 1: minimum heat setting 2-7: medium heat setting 8: maximum heat |
Troubleshooting Guide
| Problem | Cause | Solution |
The LED is not illuminated while
| The safety system has switched the underblanket off permanently | Send the product and the controller for servicing |
FCC Compliance Information
Heated Underblanket UWB 55
Responsible Party – U.S. Contact Information:
Beurer North America LP
1 Oakwood Boulevard, Suite 255
Hollywood, FL 33020
United States
1-800-536-0366
[email protected]
FCC Compliance Statement
This device complies with part 15 of the FCC Rules. Operation is subject to the following two conditions:
- This device may not cause harmful interference, and
- This device must accept any interference received, including interference that may cause undesired operation.
Changes or modifications not expressly approved by the party responsible for compliance could void the user‘s authority to operate the equipment.
NOTE: This equipment has been tested and found to comply with the limits for a Class B digital device, pursuant to part 15 of the FCC Rules. These limits are designed to provide reasonable protection against harmful interference in a residential installation. This equipment generates, uses and can radiate radio frequency energy and, if not installed and used in accordance with the instructions, may cause harmful interference to radio communications. However, there is no guarantee that interference will not occur in a particular installation. If this equipment does cause harmful interference to radio or television reception, which can be determined by turning the equipment off and on, the user is encouraged to try to correct the interference by one or more of the following measures:
- Reorient or relocate the receiving antenna.
- Increase the separation between the equipment and receiver.
- Connect the equipment into an outlet on a circuit different from that to which the receiver is connected.
- Consult the dealer or an experienced radio/TV technician for help.
Warranty
Limited Lifetime Warranty For Original Purchaser
Your Beurer Heated Underblanket, model UWB 55, is warranted to be free from defects in materials and workmanship for the life of the product under normal conditions of intended use and service. This warranty extends only to the original retail purchaser and does not extend to retailers or subsequent owners
We will, at our option, repair or replace the Beurer Heated Underblanket, model UWB 55, without additional charge, for any part or parts covered by these written warranties. No refunds will be given. Repair or replacement is our only responsibility and your only remedy under this written warranty. If replacement parts for defective materials are not available, Beurer reserves the right to make product substitutions in lieu of repair or replacement.
For warranty service contact our customer service department at 1-800-536-0366 or at [email protected] to provide a description of the problem. If the problem is deemed to be within the scope of the limited lifetime warranty, you will be asked to mail the product at your costs in its original package with proof of purchase, your name, address and phone number. If the problem is not deemed to be within the scope of the limited lifetime warranty, we will provide a quotation for repair respectively replacement and return shipping fee.
This warranty does not cover damage caused by misuse or abuse; accident; the attachment of unauthorized accessory; alteration to the product; improper installation; misapplication; lack of reasonable care with respect to the product; unauthorized repairs or modifications; improper use of electrical/power supply; old worn batteries; normal wear; loss of power; dropped product; malfunction or damage of an operating part as a result of failure to comply with instructions for use or to provide manufacturer’s recommended maintenance; transit damage; theft; neglect; vandalism; or environmental conditions; loss of use during the period the product is at a repair facility or otherwise awaiting parts or repair; or any other conditions whatsoever that are beyond the control of Beurer. This warranty is void if the product is ever used in a commercial or business environment. The maximum liability of Beurer under this warranty is limited to the purchase price actually paid by the customer for the product covered by the warranty, as confirmed by proof of purchase, regardless of the amount of any other direct or indirect damage suffered by the customer.
This warranty is effective only if the product is purchased and operated in the country in which the product is purchased. A product that requires modifications or adaptation to enable it to operate in any other country than the country for which it was designed, manufactured, approved and/or authorized, or repair of products damaged by these modifications is not covered under this warranty.
THE WARRANTY PROVIDED HEREIN SHALL BE THE SOLE AND EXCLUSIVE WARRANTY. ANY IMPLIED WARRANTIES, OBLIGATIONS, OR LIABILITES, INCLUDING BUT NOT LIMITED TO THE IMPLIED WARRANTY OF MERCHANTABILITY AND FITNESS FOR A PARTICULAR PURPOSE, ARE LIMITED IN DURATION TO THE DURATION OF THIS APPLICABLE WRITTEN WARRANTY. Some states do not allow limitations on how long an implied warranty lasts, so the above limitations may not apply to you.
IN NO EVENT SHALL BEURER BE LIABLE FOR ANY SPECIAL, INCIDENTAL, INDIRECT OR CONSEQUENTIAL DAMAGES FOR BREACH OF THIS OR ANY OTHER WARRANTY, EXPRESS, IMPLIED OR ANY OTHER THEORY OF LIABILITY, WHATSOEVER. Some states do not allow the exclusion or limitation of special, incidental, or consequential damages, so the above limitation may not apply to you.
Beurer does not authorize anyone, including, but not limited to, retailers, the subsequent consumer purchaser of the product from a retailer or remote purchaser, to obligate Beurer in any way beyond the terms set forth herein.
This warranty does not extend to the purchase of opened, used, repaired, repackaged and/or resealed products, including but not limited to sale of such products on Internet auction sites and/or products by surplus or bulk resellers. Any and all warranties or guarantees shall immediately cease and terminate in connection with any products or parts thereof which are repaired, replaced, altered, or modified, without the prior explicitly written consent of Beurer.
This warranty gives you specific legal rights, and you may also have other rights which may vary from state to state.
For more information regarding our product line in the USA, please visit: www.beurer.com
Distributed by:
Beurer North America LP
1 Oakwood Boulevard, Suite 255
Hollywood, FL 33020, USA
www.beurer.com
Questions or comments? Call our US-based customer service toll free at 1-800 536-0366.
Made in China























