UB 68 XXL Heated Underblanket
Instruction Manual
UB 60 / UB 68 XXL
Tested for harmful substances. www.oeko-tex.com/standard100
Dear customer,
Thank you for choosing a product from our range. Our name stands for high-quality, thoroughly tested products for applications in the areas of heat, weight, blood pressure, body temperature, pulse, gentle therapy, massage, beauty, air and baby.
With kind regards
Your Beurer team
Explanation of symbols
The following symbols are used on the device, in these instructions for use, on the packaging and on the type plate for the device:
| Read the instructions! | |
| Do not insert pins! | |
| Do not use folded or rucked! | |
| Not to be used by very young children (0 – 3 years). | |
| Dispose of packaging in an environmentally friendly manner | |
![]() | This product satisfies the requirements of the applicable Europeanand national directives. |
| Wash at a maximum temperature of 30 °C, Very gentle wash | |
| Do not bleach | |
| Do not dry in a tumble dryer | |
| Do not iron | |
| Do not dry-clean | |
![]() | Manufacturer |
![]() | The products demonstrably meet the requirements of the technical Regulations of the EAEU. |
![]() | The device has double protective insulation and therefore complies with protection class 2. |
![]() | Please dispose of the device in accordance with EC Directive – WEEE (Waste Electrical and Electronic Equipment). |
| The KEMA-KEUR symbol documents the safety and compliance with standards of an electrical product. | |
| The textiles used for this device meet the stringent human ecological requirements of Oeko Tex Standard 100, as verified by Hohenstein Research Institute. | |
![]() | WARNING: Warning of risks of injury or health hazards |
![]() | CAUTION: Safety information about possible damage to appliance/accessories. |
| NOTE: Important information. |
Items included in the package
Check that the exterior of the cardboard delivery packaging is intact and make sure that all contents are present. Before use, ensure that there is no visible damage to the device or accessories and that all packaging material has been removed. If you have any doubts, do not use the device and contact your retailer or the specified Customer Service address.
1 Heated underblanket
1 Control
1 Operating instructions
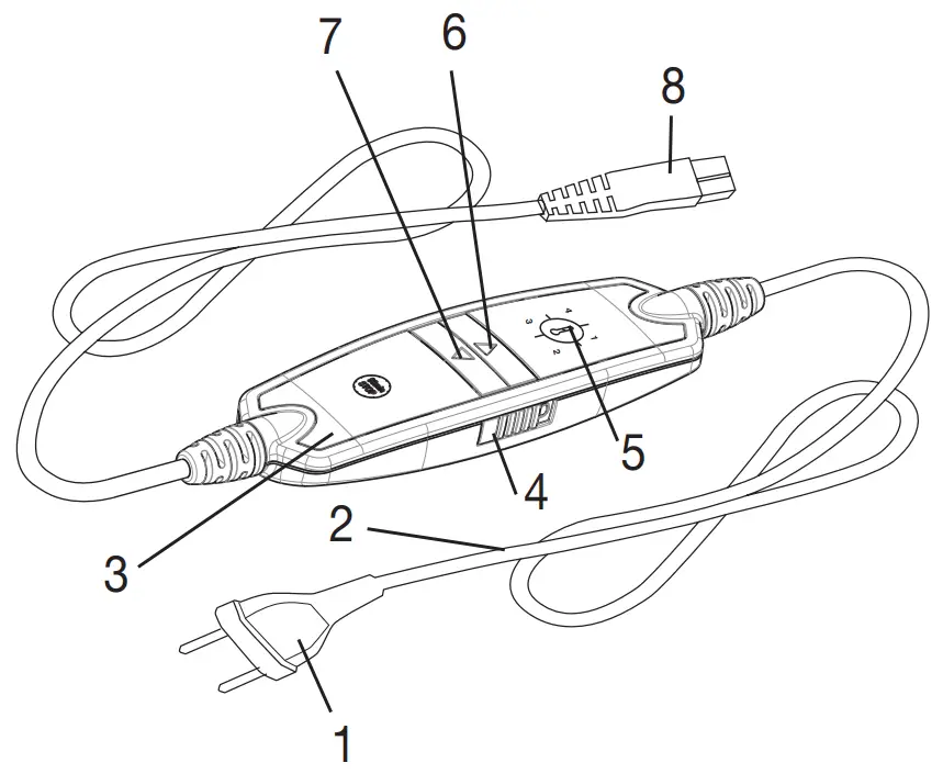
1.1 Description

- Supply plug
- Supply cord
- Control
- Slider for ON/OFF
- Illuminated temperature settings
-Button to increase the temperature
-Button to decrease the temperature- Plug-in coupling
Important instructions
Retain for future use
WARNING
- Non-observance of the following notes may result in personal injury or material damage (electric shock, skin burns, fire). The following safety and hazard information is not only intended to protect your health and the health of others, it should also protect the product. For this reason, pay attention to these safety notes and include these instructions when handing over the product to others.
- This heated underblanket must not be used by persons who are not sensitive to heat or by other vulnerable persons who may not be able to react to overheating (e.g. diabetics, people with skin alterations due to illness or scarred tissue in the application area, after taking pain relief medication or alcohol).
- This heated underblanket must not be used by very young children (0-3 years old) as they are unable to respond to overheating.
- This heated underblanket can be used by children older than 3 and younger than 8 years of age provided they are supervised. For this, the control must always be set to the minimum temperature.
- This heated underblanket may be used by children over the age of 8 and by people with reduced physical, sensory or mental skills or a lack of experience or knowledge, provided that they are supervised and have been instructed on how to use the heated underblanket safely, and are fully aware of the consequent risks of use.
- Children must not play with the heated underblanket.
- Cleaning and user maintenance must not be performed by children unless supervised.
- This heated underblanket is not designed for use in hospitals.
- This heated underblanket is only intended for domestic/private use, not for commercial use.
- Do not insert pins.
- Do not use when folded or bunched up.
- Do not use if wet.
- Before using it on an adjustable bed, check that the heated underblanket and the cables are not, for example, trapped in a hinge or bunched up.
- This heated underblanket may only be used in conjunction with the control specified on the label.
- This heated underblanket must only be connected to the mains voltage that is specified on the label.
- The electrical and magnetic fields emitted by this heated underblanket may interfere with the function of a pacemaker. However, they are still well below the limits: electrical field strength: max. 5000 V/m, magnetic field strength: max. 80 A/m, magnetic flux density: max. 0.1 millitesla. Please therefore consult your doctor and the manufacturer of your pacemaker before using this heated underblanket.
- Do not pull, twist or make sharp bends in the cables.
- If the cable and control of the heated underblanket are not positioned properly, there may be a risk of becoming entangled in, being strangled by, tripping over, or stepping on the cable and control. The user must ensure that excess lengths of cable, and cables in general, are safely routed.
- Please check this heated underblanket frequently for signs of wear and tear or damage. If any such signs are evident, if the heated underblanket has been used incorrectly or if it no longer heats up, it must be checked by the manufacturer before being switched on again.
- Under no circumstances should you open or repair the heated under blanket (including the accessories) yourself because faultless functionality can no longer be guaranteed thereafter. Failure to observe this will invalidate the warranty.
- If the mains connection cable of this heated underblanket is damaged, it must be disposed of. If it cannot be removed, the heated underblanket must be disposed of.
- When this heated underblanket is switched on:
– Do not place any sharp objects on it
– Do not place any heat sources, such as hot water bottles, heat pads or similar, on it - The electronic components in the control warm up when the heated underblanket is in use. For this reason, the control must never be covered or placed on the heated
underblanket when it is in use. - It is essential to observe the information relating to the following chapters: Operation, Cleaning and maintenance, Storage.
- If you should have any questions about using our devices, please contact our Customer Services department.
Intended use
CAUTION
This heated underblanket is designed for warming beds, only.
Operation
4.1 Safety
CAUTION
- This heated underblanket is equipped with a SAFETY SYSTEM. This sensor technology prevents the entire surface of the heated underblanket from overheating by automatically switching off the heated underblanket in the event of a fault. If the safety system has switched off the heated underblanket, the temperature setting is not illuminated any more even when the heated underblanket is switched on.
- Please note that the heated underblanket is not operable any more due to safety reasons in this case and has to be sent to the service address indicated.
- D o not connect the defective heated underblanket with another control of the same type. This would trigger a permanent switch-off via the control safety system.
4.2 Initial use
- Spread out the heated underblanket flat onto your mattress starting at the foot end.
- To operate the heated underblanket connect the control to the heated underblanket by plugging in the connector.

- Then plug in the supply plug into the mains outlet.
- Then put on your bedsheet in the usual manner so that the heated underblanket is between your mattress and the bedsheet
CAUTION
Make sure that the heated underblanket is spread out entirely flat and that it will not rumple up or crease when in use.
NOTE:
Lie in comfort
If the plug-in connector at shoulder level bothers you, you can rotate the electric underblanket by 180° so that the plug-in connector lies at the foot of the bed (see llustration). So that the switch is within comfortable reach of your hand, Beurer offers a switch with a longer connection cable (Item no. 108.611). This is available directly
from Beurer Customer Services.
4.3 Switching on
Set the ON/OFF slider (4) to the ON (I) position to switch on the heated underblanket (see Fig. switch). The temperature settings will then light up.
4.4 Selecting the temperature setting
To increase the temperature, press the button (6). To decrease the temperature, press the button (7).
After switching on the temperature setting is illuminated.
Setting 0: OFF
Setting 1: minimum heat
Setting 2-3: Individual heat
Setting 4: maximum heat
NOTE:
- The quickest way to heat up the heated underblanket is to select the highest temperature setting of the control, first.
- We strongly recommend switching on the heated underblanket approx. 30 minutes before going to bed and covering it with the quilt to prevent the warmth from escaping.
WARNING
If the heated underblanket is being used over several hours, we recommend that you set the lowest temperature setting on the control to avoid the body overheating and thereby any potential burns to the skin or heat stroke.
4.5 Automatic switch-back
NOTE:
This heated underblanket features an automatic switch-back for safety purposes. Temperature settings 4 and 3 are automatically switched to temperature setting 2 after 3 hours.
4.6 Automatic switch-off
This heated underblanket is equipped with an automatic switch-off. This turns off the heat supply 12 hours after the heated underblanket is first switched on. This is indicated by a flashing temperature setting. In order to reactivate the heated underblanket, the sliding switch (4) must initially be set to off (“0” position). After about 5 seconds it is possible to switch it on again. If the heated underblanket will not be used after timed switch-off, it should be switched off (sliding switch to position “0”) and the mains plug removed from the mains socket.
4.7 Switching off
Set the ON/OFF slider (4) to the OFF (0) position to switch off the heated underblanket. After switching off the temperature setting is not illuminated any more.
NOTE:
If the heated underblanket won’t be used for several days, switch it off (Slider to setting „0“/OFF) and remove the supply plug from the mains outlet.
Cleaning and maintenance
WARNING
Always remove the supply plug from the mains outlet and remove the control from the heated under- blanket by disconnecting it at the connector. Otherwise there is a risk of an electric shock.
CAUTION
The control must never come into contact with water or other liquids, as this may cause damage.
- To clean the control, use a dry, lint-free cloth. Do not use cleaning agents containing solvent or scouring agents.
- To remove stains from the heated underblanket use a damp cloth and, if necessary, a mild cleaning agent.
CAUTION
Note that the heated underblanket must not be dry-cleaned, wrung out, machine dried or ironed.
Otherwise the heated underblanket may be damaged.
- The heated underblanket is machine washable.
- Set the washing machine to a particularly gentle, 30 °C cycle (woolens programme). Use a mild detergent with dosage according to the manufacturer’s instructions.
CAUTION
Note that the heated underblanket will suffer from too frequent washing.
For its entire life, therefore, the heated underblanket should be washed not more than 5 times in a washing machine.
- While the heated underblanket is still damp after washing, shape it to its original form and size and place it flat over a clothes drying rack to dry.
CAUTION
- Do not attach the heated underblanket to washing lines with washing pegs or the like. Otherwise the heated underblanket may be damaged.
- Only reconnect the control to the heated underblanket after the connector and the heated underblanket are completely dry. Otherwise the heated underblanket may be damaged.
WARNING
Under no circumstances switch on the heated underblanket to dry it. Otherwise there is a risk of an electric shock.
Storage
When not in use we recommend to store the heated underblanket in its original packaging. For this purpose, disconnect the control from the electric underblanket by unplugging the plug-in coupling.
CAUTION
- Allow the heated underblanket to cool down before folding. Otherwise the heated underblanket may be damaged.
- Do not crease the heated underblanket by placing items on top of it during storage.
Disposal
For environmental reasons, do not dispose of the device in the household waste at the end of its useful life. Dispose of the unit at a suitable local collection or recycling point. Dispose of the device in accordance with EC Directive – WEEE (Waste Electrical and Electronic Equipment). If you have any questions, please contact the local authorities responsible for waste disposal.
What if there are problems?
| Problem | Cause | Remedy |
| The temperature settings are not illuminated while – the switch is fully connected to the heated underblanket – the supply plug is connected to the mains outlet with correct function – The ON/OFF slider is switched on at the switch side („I“) | The Safety System switched off the heated underblanket irreversible | Send the heated underblanket together with the switch to the service. |
Technical data
For technical data, see the rating plate label on the electric underblanket.
Guarantee / service
Further information on the warranty and warranty conditions can be found in the warranty leaflet supplied

BEURER GmbH • Söflinger Str. 218
89077 Ulm (Germany)
www.beurer.com
www.beurer-healthguide.com
www.beurer-gesundheitsratgeber.com

























