User Manual
Smart Video Doorbell
Version: 1.0

Important Note
- The device is powered by rechargeable lithium batteries. When it is fully charged, the battery life is approximately six months. The Mobile App will send a notification when the battery voltage is low. Please recharge the device in time if you get the notification.
- Keep the Doorbell within your router’s range.
- Make sure to select a place where the Wi-Fi signal is uninterrupted. Thick or insulated doors can greatly reduce the strength of your WiFi signal even if your router is close by. It is recommended to test the connectivity before installing the Doorbell.
- The device is designed based on the low power consumption technique. It could be remotely turned on with PIR human motion detection or doorbell press. The device will work for 30 seconds after waking up every time and then it goes back to standby.
Due to regular upgrades of systems and products, NGTeco could not guarantee exact consistency between the actual product and the written information in this manual.
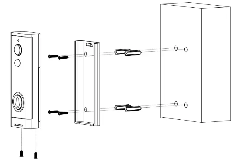
Components

Installation Diagram

- Press the backplate against the wall and drill the hole. Fix the backplate on the wall with screws.
- Insert batteries and cover them with a battery cover, attach the doorbell to the backplate.
- Fasten the doorbell to the backplate with a security screw.
Technical Specifications
| Feature | Specifications |
| Resolution | 1024*720/1920*1080 |
| Recording Angle | 166 degrees |
| IR LED | 6*850 mm |
| Wi-Fi Standard | IEEE 802 11b/g/n |
| Audio | Two-way talking, Noise Cancellation |
| Memory Type | Micro SD Card |
| Storage Capacity | 8/16/32 GB |
| Battery | 2*18650 Battery |
| Monitoring | Doorbell button, Motion Detection, Remote wakeup |
| Power Consumption | Standby: 20 μA; Working Status: 170mA |
How to connect Smart Camera to NGTeco Home?
Step 1: Account Registration
Search the NGTeco HOME App in Apple App Store or Google Play Store and download the App to your mobile phone/Tablet
Open the NGTeco HOME App and log in with your account. If you do not have an account, create an account with your Email ID.
Step 2: Power on the Doorbell
Insert the provided rechargeable battery and plug the doorbell into the power socket. Wait for a few seconds until you hear the prompt “The Doorbell is now ready to begin paring”.
Note:
- The Power Adapter is not included in the box, please use an Adapter with 5V, 1A output.
- If you did not hear the prompt, press, and hold the ”Reset” button for 5 seconds until you hear the prompt “System reset”.
Step 3: Add the Doorbell to the App
Tap the “+” button on the top right corner of the interface, and then select the “Video Doorbell” option. Choose the “Confirm indicator rapidly blink” button on the next screen.
Step 4: Add the Wi-Fi Details
Enter the Wi-Fi name and Password. Then tap the “Confirm” button. The App will search and connect the video doorbell automatically.
Note: The doorbell only works on 2.4GHz Wi-Fi networks.
Step 5: Scan the QR Code
- The App screen displays a QR code. Show the QR code towards the doorbell lens, and the doorbell will scan the QR code.
- Once you hear a long beep, tap the “I heard a prompt” button on your mobile.
Note: Please hold the phone about 15 to 20 cm away from the doorbell.
Wi-Fi Doorbell Functions
The Video Doorbell supports the following functions:
- Two-way Audio
- Video recording saved to the local file
- Take Photo Payback video and save on Micro SD card
Live view
In the device list section, it shows all the devices connected successfully to the Mobile App. Click the desired device to view live videos.

| 1. Settings and Management | 2. Wi-Fi Signal Strength | 3. Audio button | 4. SD/HD |
| 5. View Full Screen | 6. Screenshot | 7. Voice Chat | 8. Record live view |
| 9. Playback Video | 10. Cloud Storage | 11. View Photos |
SD Card Video Playback
Micro SD Card Recording: The App turns on the device to take the video. Press the Record button to record the video.
Remark: Currently, the device only supports Micro SD cards with the FAT32 system format. Others cannot be recognized.
Device Settings
Click the corresponding device to view the live videos directly in the device list section. Click edit
at the top right corner to set the device parameters.

Modify Device Name
Click “Device Name” on the setting page to rename the device.
Device Sharing
Click “Share Device” on the setting page to share the device details with other family members.
Device Information
Click “Device information” on the setting page to check device information.
Power Management Setting
Click “Power Management Setting” to check the power status or set the low battery options. The supported range of low battery management is 10% to 50%.
Basic Function Setting
Click “Basic Function Setting” to set the below functions:
- Flip Screen: On/Off
- Time Watermark: On/Off
- Talk Mode: One-Way Talk/ Two-Way Talk
PIR Sensitivity Settings
Click “PIR” to set the sensitivity.
- PIR: Low/Medium/High/Off
- Off: Close the PIR function
- Low: Wake up and record the video. If there is any motion in front of the camera which lasts for more than 7 seconds will be detected. A notification will be sent to the mobile at the same time.
- Medium: Wake up and record the video. If there is any motion in front of the camera which lasts for more than 5 seconds will be detected. A notification will be sent to the mobile at the same time.
- High: Wake up and record the video. If there is any motion in front of the camera which lasts for more than 1 second will be detected. A notification will be sent to the mobile device at the same time.
Note: In a crowded environment, it is recommended to close or set the device to LOW sensitivity to reduce unwanted notifications and videos.
Memory Card Settings
Click “Memory Card Setting” to check the Micro SD card status including total capacity, used and remaining capacity, or format the memory card.

Warning:
This device complies with Part 15 of the FCC Rules. Operation is subject to the following two conditions: (1) This device may not cause harmful interference, and (2) this device must accept any interference received, including interference that may cause undesired operation.
This equipment has been tested and found to comply with the limits for a Class B digital device, pursuant to Part 15 of the FCC Rules. These limits are designed to provide reasonable protection against harmful interference in a residential installation. This equipment generates, uses, and can radiate radio frequency energy and, if not installed and used in accordance with the instructions, may cause harmful interference to radio communications. However, there is no guarantee that interference will not occur in a particular installation. If this equipment does cause harmful interference to radio or television reception, which can be determined by turning the equipment off and on, the user is encouraged to try to correct the interference by one or more of the following measures:
- Reorient or relocate the receiving antenna.
- Increase the separation between the equipment and receiver.
- Connect the equipment into an outlet on a circuit different from that to which the receiver is connected.
- Consult the dealer or an experienced radio/TV technician for help.
IMPORTANT! Any changes or modifications not expressly approved by the party responsible for compliance could void the user’s authority to operate the equipment.

1600 Union Hill Road Alpharetta, GA 30005
Tel: 770-800-2321(US)
www.ngteco.com
Copyright©2020 NGTECO E-COMMERCE CO., LIMITED. All rights reserved.



















