AKASO Car Dash Camera User Manual

JOIN THE AKASO MOVEMENT

How to Insert Micro How to Format SD card?
SD Card?

How to Operate How to Install Suction
While Recording? Cup Mount?
How to Restart?
WHAT’S IN THE BOX

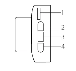
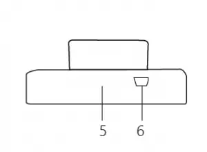
CAMERA OVERVIEW
- TF Card Slot 2. UP

- Menu 4. Down

- Stand Base 6. DC Power / USB Interface
- Video / OK 8. Mode

- Emergency Save 10. Power

- Lens 12. Display

- MIC 14. Reset Hole

Upon turning on the camera, press the “OK” button to stop recording.
- Menu : Enter and exist menu.
• Press the button one time to enter to recording mode settings.
• Press twice times to enter to system settings.
• Press third times to back to the main interface. - UP : Choose the option above
- Down : Choose the option below.
• Press the button to turn on / off the MIC - OK: Confirm the option
• When in system settings, press it confirm the option.
• When in recording mode, press it to start or stop recording. - Mode : Playback
• Press the button one time to enter to playback.
• Press twice times to back to the main interface. - Lock : Lock the video manually.
- Power : Short press it to turn on / off the screen, long press it to turn
on / off the camera.
CHARGING THE BATTERY

① Insert the USB car charger into your car’s cigarette lighter socket.
② Insert the USB end of the USB power cord into the USB car charger.
③ Insert the Micro USB into the dash cam USB port (Charger Specification: In: DC 12-24V, Out: DC 5V 2A)
Note:
- The battery takes about two hours to be charged fully.
- When the battery is charging, the indicator light on the top left of the screen will be stayed red; When it charged fully, the light goes off.
- To avoid damage to the device, please do not charge the battery via the USB data cable with other adapters.
RECORDING MODE SETTINGS
Press the menu button one time to enter to this mode, and press or to choose
the option.
- Resolution – 1080FHD / 720P / VGA three optional.
• Default setting is 1080FHD. - Loop Recording – off / 1 minute / 3 minutes / 5 minutes four optional
• Default setting is 3 minutes. - WDR (Wide Dynamic Range)
• Default is on.
• Balance light and darkness in driving to get the best image automatically. - Motion Detection
• Default is off.
• The detection range is 5m, any motion will activate the camera to start recording, and it will stop after 20 seconds if there is no any motion at all. - Audio Recording
• Default is on.
• Allows you to enable or disable audio recording with your videos. - Date Stamp
• Default is on.
• Stamp the date and time to the videos. - G-sensor – off / low / medium / high four optional
• Default is medium.
• Gravity Sensor means any collision will activate the camera to record, and the videos will be locked which will never be covered by new files.
• The video is stored as a file every three minutes. When driving, if the road is bumpy, please adjust it to low or turn off it directly to prevent the camera doesn’t work because of the memory card is full. When parking, recommend you to adjust it to medium - Parking Monitor (default is off)
• Default is off.
• When there is no power input and the camera has been turned off, the camera will be
turned on automatically and start recording, the video will be saved and the camera
automatic shutdown after 30 seconds. - License Plate
• Default is off.
• Press or to enter to your plate number, please note that numbers are behind the letters.
• Stamp the license plate to the videos, you will see it on computer not on camera.
SYSTEM SETTINGS
- Screen Timeout – off / 30 seconds / 1 minute / 2 minutes four optional
• Default is off.
• Turn off the screen according to your option automatically. - Auto Power off – off / 3 minutes / 5 minutes / 10 minutes four optional
• Default is off.
• Turn off the camera according to your option automatically. - Frequency – 50Hz / 60Hz two optional
• Default is 60Hz. - Beep Sound
• Turn on or off the button sound. - Language
• Choose camera’s language. - Data / Time Setting
• Press button twice to enter to setting interface, choose Data / time.
• Press and to adjust the data and time, press “OK” to confirm the each option, press to end the setting. - Format
• Every time you insert a SD card, please format it in the camera to ensure
that the SD card is compatible with the camera. - Default settings
• Restore the original settings - Version
• Check the camera’s version
SPECIFICATIONS
| Name | AKASO Dash Cam | Model | C200 |
| Size | 86.5mm x 50mm | Lens Angle | 170° |
| Net Weight | 59g | Working Temperature | 14℉ – 140℉ |
| Screen | 3 inch HD LCD display | Battery | 180mAh |
| Micro SD Card | 16GB-32GB (not in package) | Max Video Resolution | 1080P |
PRECAUTIONS
- Please safekeeping, prevent the lens from scratching and dirty.
- Please pay attention to anti-fouling and moisture-proof.
- Do not exposure the machine to the sun directly, prevent the built-in battery from damage.
TROUBLESHOOTING
Q: The bracket is easy to fall off.
A: Please tear off the film on the suction cup, and clean the windshield with a dry cloth.
Q: The image is blurry.
A: The windshield will reflect the light, please adjust the camera.
Q: The camera lose power often.
A: Due to different vehicle designs, please rotate the car charger to adjust it keep stable.
Q: The camera unable to be turned on.
A: Please make sure that whether the charge indicator light is on or off, if off, please re-insert the car charger and reset the camera.
Q: All buttons are not responding.
A: Please reset the camera to restart.
Q: The camera doesn’t record automatically after turning on.
A: 1, Check whether the memory card is full or no.
2, Reformat the card, if this problem exists, please change a new card.
Q: The video has no voice.
A: Please confirm whether the recording indicator light is on. And in recording mode, short press will close to record the voice.
Q: Men button was no responding.
A: Because when the camera is recording, you can not operate the menu button, please press OK button to stop recording
Q: The camera keeps turning on and off automatically.
A: please charge the camera via USB car charger, do not charge the battery via the USB data cable with other adapters.
CONTACT US
For any problem with AKASO products, please feel free to contact us, we will respond
within 24 hours.
E-mail: [email protected]
Tel: (888) 466-9222 (US) Mon-Fri (except holiday) 9am-5pm (EST)
Official website: www.akasotech.com



























