VERMEIREN Normandie 2F Comfort Chair

Preface
First of all we want to thank you for putting your trust in us by selecting one of our products.
Vermeiren products are the result of many years of research and experience. During the development, special attention was given to the ease of use and the serviceability of the product.
The lifetime for the product is strongly influenced by the care and maintenance of the product.
This manual will help you get acquainted with the operation of your product.
Following the user instructions and the maintenance instructions are an essential part of the warranty.
This manual reflects the latest product developments. Vermeiren has the right to introduce changes without the obligation to adapt or replace previously delivered models.
For any further questions, please consult your specialist dealer.
Product description
Intended use
The Normandie 2F comfort chair is developed entirely for your comfort. The comfort chair is designed for sitting of 1 person.
Individuals who would like to use the comfort chair must at least have sufficient control of their torso and may not display any disruptions in their sense of balance if this affects side stability.
The comfort chair is suited ONLY for indoor use.
You will need a helper for indoor transporting of the Normandie 2F, and the chair might also need its own storage place.
The different types of accessories, and the construction allow full use by persons disabled by:
- paralysis
- weak/malformed limbs (while maintaining control over the torso)
- injuries of the joints
- heart insuffiencies and poor blood circulation
The indication to use this product must take into account the following elements:
- body size and weight (max. load 130 kg)
- physical and psychological condition
- home environment
The comfort chair should only be used on surfaces where all four wheels/legs are touching the ground and where there is sufficient contact to propel the wheels equally. The comfort chair should not be used as a ladder, nor is it a transport for heavy or hot objects.
When used on mats, carpeted floors or loose floor coverings, the floor covering can get damaged.
It is necessary to choose the best fitted model for the size/build of the patient. The seat systems were formed according to ergonomic principles for your comfort.
Use only Vermeiren approved accessories.
The manufacturer is not liable for damage caused by the lack of or improper service or as a result of not following instructions from this manual. Compliance with the user and maintenance instructions are an essential part of the guarantee conditions.
Visually impaired people can contact the dealer for the instructions for use.
Technical specifications
Technical terms below are valid for the product in standard settings and with the upholstery.
If other accessories are used, the tabulated values will change.
| Make | Vermeiren | |||
| Address | Vermeirenplein 1/15, B-2920 Kalmthout | |||
| Type | Comfort chair | |||
| Model | Normandie 2F | Normandie 2F + wheels | ||
| Maximum occupant mass | 130 kg | 130 kg | ||
| Description | Min. | Max. | Min. | Max. |
| Overall length | 840 mm | 900 mm (rear wheel placed outwards) | ||
| Dismantled length | 1080 mm | 1040 mm (rear wheel placed inwards) | ||
| Effective seat width | 540 mm | 540 mm | ||
| Overall width | 670 mm | 670 mm | ||
| Dismantled width | 670 mm | 670 mm | ||
| Overall height | 1225 mm | 1250 mm | ||
| Dismantled height | 810 mm | 835 mm | ||
| Total mass | Approx. 28,10 kg | Approx. 28,5 kg | ||
| Mass of heaviest part | 25,35 kg | 25,75 kg | ||
| Masses of parts that can be dismantled or removed | Seat cushion: 2,75 kg | Seat cushion: 2,75 kg | ||
| Static stability downhill | 6% (in standard configuration) | 6% (in standard configuration) | ||
| Static stability uphill | 6% (in standard configuration) | 6% (in standard configuration) | ||
| Obstacle climbing | Not applicable | Not applicable | ||
| Seat plane angle | 8° | 8° | ||
| Effective seat depth | 410 mm | 410 mm | ||
| Seat surface height at front edge | 510 mm | 510 mm | ||
| Thickness seat cushions | 100 mm | 100 mm | ||
| Backrest angle | 10° | 45° | 10° | 45° |
| Backrest height | 780 mm | 780 mm | ||
| Distance between legrest and seat | 450 mm | 450 mm | ||
| Angle between seat and legrest | 0° | 82° | 0° | 82° |
| Armrests height | -1,5 mm (only for sideways transfer) 138 mm | 195 mm | -1,5 mm (only for sideways transfer) 138 mm | 195 mm |
| Maximum space between wall and comfort chair | 380 mm | 380 mm | ||
| Gas spring backrest | 400N | 400N | ||
| Gas spring legrest | 125N | 125N | ||
| Storage and use temperature | + 5 °C | + 40 °C | + 5 °C | + 40 °C |
| Storage and use humidity | 30% | 70% | 30% | 70% |
| We reserve the right to introduce technical changes. Measurement tolerance ± 15 mm / 1,5 kg / ° | ||||
Components
Normandie 2F

- Basic frame
- Adjustable backrest
- Removable seat
- Height adjustable armrests
- Armpads
- Levers inclination backrest / legrest
- Legrest
- Gas springs backrest / legrest
- Identification plate
- Transport wheels
Normandie 2F + wheels

- Basic frame
- Adjustable backrest
- Removable seat
- Height adjustable armrests
- Armpads
- Levers inclination backrest / legrest
- Legrest
- Gas springs backrest / legrest
- Identification plate
- Castor without brake
- Castor with brake
Explanation of symbols
![]() | Maximum mass |
![]() | Indoor use only |
![]() | CE conformity |
![]() | Type designation |
Accessories
Adjustable / Widened armrests
Push hoop (standard when equipped with steering castors)
For your safety
Take note of the following safety hints:
Follow the instructions for using your comfort chair. l To prevent injury of the hands and damage to the comfort chair, make sure that no objects and or body parts are caught between the adjustment systems (inclination of legrest, backrest, …).
Regularly check that the wheel immobilizers function correctly (only for Normandie 2F + wheels).
The parking brakes should be applied before getting into and out the comfort chair.(only for Normandie 2F + wheels).
If you want to pick up something (lying in front of, on the side, or to the rear of the comfort chair), you should not lean too far out to avoid tipping over.
When moving through doors, arches, etc. ensure that there is enough room at the sides so there is no damage to the comfort chair.
When inclining the comfort chair make sure there is sufficient room around and above it. Otherwise the adjustment movements could lead damage or injury.
Only use your comfort chair according to regulations. For example, avoid uncontrolled rolling against obstacles (steps, curbs, doorframes, etc) or dropping down from ledges. The manufacturer cannot assume liability for damage caused by overloading, collision or other improper use.
Never cross steps, ledges or other obstacles with a patient seated on the comfort chair. If alternatives like ramps or lifts are available, use them.
When transporting the comfort chair, never pick it up by grasping movable parts (e.g. legrest) or when the comfort chair is inclined.
Leave the comfort chair in the not inclined position when not using the comfort chair.
Do not sit on the legrest or armrests.
Do not lean on the leg or backrest – risk of tipping over the comfort chair.
Be careful when using possible causes of fire such as cigarettes since they may set the seat and back covers alight.
Never exceed the maximum load (130 kg).
Use the comfort chair on level surfaces, with all 4 casters / legs contacting the ground.
Use only Vermeiren approved accessories, spare parts or gas springs.
Never open the gas compression springs: the inside pressure is very high and may result in injury!
If one of the gas compression springs is damaged, stop using the comfort chair immediately. Contact you specialist dealer and have the necessary repairs done without delay.
Use
This chapter describes the everyday use. These instructions are for the user and the specialist dealer.
The product is delivered fully assembled by your specialist dealer. The instructions intended for the specialist dealer on how to set up the comfort chair are given in § 3.
Carrying the comfort chair
To carrying the comfort chair place the backrest into the upright position.
The best way to carry the comfort chair is to make use of the wheels and roll the comfort chair (only for Normandie 2F with wheels) or move the comfort chair backwards and roll them on the 2 wheels to the desired place.
If this is not possible, firmly grasp the frame with two persons on the fixed parts in the front and back or on the side. Do not use the legrest, armrests or the seat to grasp the comfort chair.
At least two persons are required for moving the chair up or down staircases or over single steps or landings, etc. Transporting the chair with the patient is impossible.
To prevent personal injury or damage to the product, there should be no people or objects under the comfort chair during transport.
Recommendations to use the comfort chair
Transfer in and out the chair
WARNING: Risk of tipping over Be sure that the comfort chair do not tip over backwards when the comfort chair is placed in his most backwards position.
CAUTION: In case you cannot perform the transfer in a safe manner, ask someone to assist you.
The transfer from the patient in the comfort chair shall be according the instructions below:
- Check brakes from the comfort chair are engaged (only for Normandie 2F + wheels).
- Place the comfort chair in his most position to the front (minimum inclination) with the adjusting levers.
- Disengage the brakes.
- Position the comfort chair as close as possible to the chair, couch or bed from you wish to transfer.
- Check brakes from the comfort chair are engaged.
- Transfer to the chair. Place the armpad at the same height as the seat cushion for a sideways transfer (refer to paragraph 2.4).
- Place the chair in his most backwards position (maximum inclination).
The transfer from the patient out the comfort chair shall be according the instructions below:
- Check that the brakes from the comfort chair are engaged.
- Place the comfort chair in his most position to the front (minimum inclination) with the adjusting levers.
- Disengage the brakes.
- Position the comfort chair as close as possible to the chair, couch or bed to you wish to transfer.
- Transfer out the chair. Place the armpad at the same height as the seat cushion for a sideways transfer (refer to paragraph 2.4).
Correct position in the chair
Some recommendations for a comfortable use of the chair:
- Position your backside as close as possible to the backrest.
Moving/transporting the chair
WARNING: Risk of clamping Be careful passing through restricted passages (e.g. doors).
WARNING: Risk of burns Be careful when using in hot or cold environments for a sufficient amount of time and when touching – Surfaces can assume the environment temperatures.
WARNING: Risk of injury There should be no people or objects under the comfort chair during transportation.
- Check brakes from the comfort chair are engaged (only for Normandie 2F + wheels).
- Transfer the patient out the chair.
- Disengage the brakes.
- Transport the chair to the desired place on an horizontal underground.
- Engage the brakes.
- Transfer the patient in the chair.
Inclination of comfort chair
WARNING: Risk of tipping over Be sure that the comfort chair do not tip over backwards when the comfort chair is placed in his most backwards position.
WARNING: Risk of injury Check the brakes are engaged before changing the inclination of the comfort chair (only for Normandie 2F + wheels).
WARNING: Risk of injury Make sure that no objects or individuals are in the adjusting area (see entrapment zones).
WARNING: Risk of injury Do not place your fingers, clothes, buckles, cables or other objects between the entrapment zone.
The angle of the backrest and the legrest can be adjusted by means of a pneumatic gas spring.
Entrapment zones are indicated in the figure above with .
Inclination of the comfort chair:
- Engage the brakes (only for Normandie 2F + wheels).
- The inclination of the comfort chair can be adjusted with the adjusting levers on the side next to the seat tubing at the height of the armrest socket. (When inclining the comfort chair see that there is enough space between the comfort chair and the wall: 380 mm).

Lightly pull up the grey lever, the pneumatic spring is released and the backrest can be moved into the desired position. If you let the lever go again, the pneumatic spring is blocked and the backrest stops at the desired position (inclination: 10° – 45°).
Lightly pull up the black lever, the pneumatic spring is released and the legrest can be moved into the desired position. If you let the lever go again, the pneumatic spring is blocked and the legrest stops at the desired position (inclination: 0° – 82°).
Adjusting the armrests
The armrests can be adjusted in height and can be lowered to the height of the seat frame for the sideways transfer of the patient.
Armrests adjusted in height:
Pull the lever of the armrests upwards (in the direction of the armpad).
The locking spring will then be released and the armrest can be moved within the armrest socket into the desired position (Range 57 mm: 4 positions: steps 19 mm).
The 3 upper holes of the guide part shall not be used.
WARNING: Risk of injury – If the locking spring 2 is guided outside the armrest socket 3 , the armrest is not locked. Use these position only for the sideways transfer of the patient.
Position sideways transfer of the patient:
To lower the armrest for a sideways transfer, pull the lever and guide the armrest down to the lowest possible position.
Now the armpad comes at the same height of the seat cushion.
Running wheels / Parking brakes (only for Normandie 2F + wheels)
WARNING: Risk of injury Lock all four wheels in place to put the comfort chair in a parking position.
WARNING: Good operation of the brakes is influenced by wear and
contamination of the wheels (water, oil, mud, …) Check the condition of the wheels before each use.
WARNING: The brakes are adjustable and can wear Check the operation of the brakes before each use.
CAUTION: Risk of unintended movement Make sure the comfort chair is on a flat horizontal surface before releasing the brakes. Never release all the brakes simultaneously.
1 Engaging the parking brakes
With your foot, press the grey brake plate of the wheels downwards till it locks in place. The wheels cannot roll.
Disengaging the parking brakes
With your foot, press the grey brake plate of the wheels in the direction of the frame. The wheels have now been released and can both roll and swivel.
Taking curbs by using ramps
WARNING: Risk of tipping over Never go up or down ramps without the aid of a helper.
If you are considering the installation of ramps to overcome obstacles, kindly note the following:
The chair is intended firstly and mostly to be used inside on level and solid surfaces. Never go up or down ramps that are rough or have bumpy edges, or the comfort chair is not equipped with four rolling castors. Limit yourself to ascents or descents with a maximum angle of 6% (3°).
Transport in the car
WARNING: Risk of injury See that the chair is attached properly in the car or the truck.
To transport the comfort chair in the car use following steps:
- Remove accessories.
- Store accessories safely.
- Place the chair in the luggage place.
- If the chair and the passenger compartment is NOT separated, attach the frame of the chair securely to the vehicle. You can use the available safety belts in the vehicle.
Installation and adjustment
The instructions in this chapter are for the specialist dealer.
To find a service facility or specialist dealer near you, contact the nearest Vermeiren facility.
A list of Vermeiren facilities can be found on the last page.
WARNING: Risk of unsafe settings – Use only the settings described in this manual.
WARNING: Variation of allowed adjustments can still change the stability of your product (tilt back or sideways).
Tools
To set up the comfort chair no tools are needed.
Manner of delivery
The Vermeiren product shall be delivered with:
- Frame with seat and backrest cushions
- Armrests
- Legrest
- Gas springs
- Manual
- Accessories
Before use check if everything is included and that no products are damaged (example by transport, …).
Assembly comfort chair
Your comfort chair shall be delivered like shown in the figure below. Use instructions below for the assembly of the comfort chair.
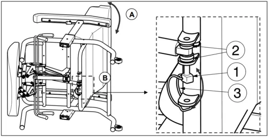
Mounting backrest
For assembly of the backrest, you should lay the model on a flat surface on its side.
A Move the backrest backwards until the sockets on the lower back frame and the suspension eye of the pneumatic spring lie over one another.
B Guide the locking pin through the back sockets and the pneumatic spring. Two plastic washers are to be inserted before and after the pneumatic spring socket as a spacer guide. Afterwards, secure the locking pin by guiding the tension spring over the pin until it projects out over the end of the spanning pin.
Mounting seat
WARNING: Risk of injury Make sure that no objects or body parts come between the seat and the frame.
The seat is attached to the basic frame with clamping fixtures.
A Place the seat slightly diagonally with the curved fixture in such a way that this fixture grabs under the back crossbar of the basic frame .
B Press the seat down at the front so that the clamp engages on the front
crossbar of the basic frame .
Move the backrest a little bit backwards if you have not enough space to mount the seat cusion on the frame.
If you would like to remove the seat, proceed in the opposite order.
Fixation seat
Included in the delivery: two chipboard screws.
Assembly of two chipboard screws to fasten the seat cushion. Be aware that the seat cushion cannot removed anymore out the comfortchair. The chipboard screws can be mounted only once using a drill.
Maintenance
For the maintenance manual of the comfort chairs refer to the Vermeiren website: www.vermeiren.com.























