DIMENSION GUIDE
JENNAIR® ELECTRIC RANGE
PRODUCT
W11615555A Electric Range
| APPLIANCE: | 30″ ELECTRIC RANGE | ||
| Units | in | cm | |
| A | Depth Closed Excluding Handle | 27 13⁄16 | 70.6 |
| B | Depth Closed Including Handle | 28⅞ | 73.4 |
| C | Depth Excluding Doors | 27 13⁄16 | 70.6 |
| D | Depth with Door Open 90o | 48 13⁄16 | 124 |
| E | Maximum Height | 38¼ | 97.2 |
| E | Minimum Height | 37¼ | 94.7 |
| F | Width | 29⅞ | 75.9 |

IMPORTANT: Dimensional specifications are provided for planning purposes only.
Do not make any cutouts based on this information. Refer to the Owner’s Manual before selecting cabinetry, verifying electrical/gas connections, making cutouts or beginning installation.
Location Requirements
IMPORTANT: Observe all governing codes and ordinances. Do not obstruct flow of combustion and ventilation air.
- It is the installer’s responsibility to comply with installation clearances specified on the model/serial/rating plate. The model/serial/rating plate is located behind the oven door on the top right-hand side of the oven frame.
- To eliminate the risk of burns or fire by reaching over the heated surface units, cabinet storage space located above the surface units should be avoided. If cabinet storage is to be provided, the risk can be reduce by installing a range hood or microwave hood combination that projects horizontally a minimum of 5″ (12.7 cm) beyond the bottom of the cabinets.
- The range should be located for convenient use in the kitchen.
- Recessed installations must provide complete enclosure of the sides and rear of the range.
- All openings in the wall or floor where range is to be installed must be sealed.
- Cabinet opening dimensions that are shown must be used.
Given dimensions are minimum clearances. - The anti-tip bracket must be installed. To install the anti-tip bracket shipped with the range, see “Install Anti-Tip Bracket” section in the Owner’s Manual.
- Grounded electrical supply is required. See the appropriate “Electrical Requirements” section in the Owner’s Manual.
- Contact a qualified floor covering installer to check that the floor covering can withstand at least 200°F (93°C).
- Use an insulated pad or 1/4″ (6.4 mm) plywood under range if installing range over carpeting.
IMPORTANT: To avoid damage to your cabinets, check with your builder or cabinet supplier to make sure that the materials used will not discolor, delaminate or sustain other damage. This oven has been designed in accordance with the requirements of UL and CSA International and complies with the maximum allowable wood cabinet temperatures of 194°F (90°C).
Mobile Home – Additional Installation Requirements
The installation of this range must conform to the Manufactured Home Construction and Safety Standard, Title 24 CFR, Part 3280 (formerly the Federal Standard for Mobile Home Construction and Safety, Title 24, HUD Part 280). When such standard is not applicable, use the Standard for Manufactured Home Installations, ANSI A225.1/NFPA 501A or with local codes.
In Canada, the installation of this range must conform with the current standards CAN/CSA Z240.1 – latest edition, or with local codes.
Mobile Home Installations Require:
- When this range is installed in a mobile home, it must be secured to the floor during transit. Any method of securing the range is adequate as long as it conforms to the standards listed above.
- Four-wire power supply cord or cable must be used in a mobile home installation. The appliance wiring will need to be revised. See “Electrical Connection – U.S.A. Only” section in the Owner’s Manual.
Cabinet Dimensions
Cabinet opening dimensions shown are for 25″ (64.0 cm) countertop depth, 24″ (61.0 cm) base cabinet depth and 36″ (91.4 cm) countertop height.
IMPORTANT: If installing a range hood or microwave hood combination above the cooking surface, follow the range hood or microwave hood combination installation instructions for dimensional clearances above the cooktop surface.
Range my be installed next to combustible walls with zero clearance.
NOTE: When installed in a slide-in cutout, the front of oven door may protrude beyond the base cabinet.
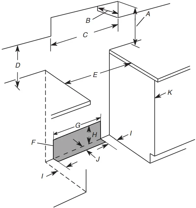
Slide-in Cutout
A. For minimum clearance to top of cooktop, see NOTE*
B. 13″ (33 cm) maximum upper cabinet depth
C. 30″ (76.2 cm) minimum opening width
D. 18″ (45.7 cm) upper side cabinet to countertop
E. 30″ (76.2 cm) minimum opening width
F. The shaded area is recommended for installation of grounded outlet
G. 13⅛” (33.3 cm)
H. 7 11/16″ (19.5 cm)
I. 4 13/16″ (12.2 cm)
J. 3 11/16″ (9.4 cm) plus measurement of L
K. Cabinet door or hinges should not extend into the cutout
L. Remaining counter depth should not exceed 2¼” (5.7 cm)
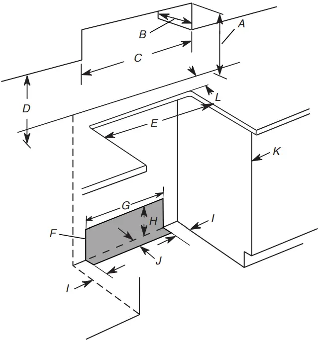
Freestanding Cutout
A. For minimum clearance to top of cooktop, see NOTE*
B. 13″ (33 cm) maximum upper cabinet depth
C. 30″ (76.2 cm) minimum opening width
D. 18″ (45.7 cm) upper side cabinet to countertop
E. 30″ (76.2 cm) minimum opening width
F. The shaded area is recommended for installation of grounded outlet
G. 13 1/8″ (33.3 cm)
H. 7 11/16″ (19.5 cm)
I. 4 13/16″ (12.2 cm)
J. 3 11/16″ (9.4 cm)
K. Cabinet door or hinges should not extend into the cutout
NOTE: 24″ (61.0 cm) minimum when bottom of wood or metal cabinet is shielded by not less than 1/4″ (6.4 mm) flame retardant millboard covered with not less than No. 28 MSG sheet steel, 0.015″ (0.4 mm) stainless steel, 0.024″ (0.6 mm) aluminum or 0.020″ (0.5 mm) copper.
30″ (76.2 cm) minimum clearance between the top of the cooking platform and the bottom of an uncovered wood or metal cabinet.
Electrical Requirements – U.S.A. Only
WARNING![]()
Electrical Shock Hazard
Electrically ground range.
Failure to do so can result in death, fire, or electrical shock.
If codes permit and a separate ground wire is used, it is recommended that a qualified electrical installer determine that the ground path and wire gauge are in accordance with local codes.
Do not use an extension cord.
Be sure that the electrical connection and wire size are adequate and in conformance with the National Electrical Code,
ANSI/ NFPA 70-latest edition and all local codes and ordinances.
A copy of the above code standards can be obtained from:
National Fire Protection Association
1 Batterymarch Park
Quincy, MA 02169-7471
WARNING: Improper connection of the equipment-grounding conductor can result in a risk of electric shock. Check with a qualified electrician or service technician if you are in doubt as to whether the appliance is properly grounded. Do not modify the power supply cord plug. If it will not fit the outlet, have a proper outlet installed by a qualified electrician.
Electrical Connection
To properly install your range, you must determine the type of electrical connection you will be using and follow the instructions provided for it here.
- Range must be connected to the proper electrical voltage and frequency as specified on the model/serial/rating plate. The model/serial/rating plate is located behind the oven door on the top right-hand side of the oven frame.
A. Model/serial/rating plate (located behind the oven door on the top right-hand side of the oven frame)Range Rating* Specified Rating of Power Supply Cord Kit and
Circuit Protection120/240 V 120/208 V Ampere 8.8-16.5 kW
16.6-22.5 kW7.8-12.5 kW
12.6-18.5 kW40 or 50**
50*The NEC calculated load is less than the total connected load listed on the model/serial/rating plate.
**If connecting to a 50 A circuit, use a 50 A rated cord with kit.
For 50 A rated cord kits, use kits that specify use with a nominal 1 3⁄8″(3.5 cm) diameter connection opening. - A circuit breaker is recommended.
- The range can be connected directly to the circuit breaker box (or fused disconnect) through flexible or nonmetallic sheathed, copper or aluminum cable. See the “Electrical Connection – U.S.A. Only” section in the Owner’s Manual.
- Allow at least 6 ft (1.8 m) of slack in the line so that the range can be moved if servicing is ever necessary.
- A UL listed conduit connector must be provided at each end of the power supply cable (at the range and at the junction box).
- Wire sizes and connections must conform with the rating of the range.
- This range is equipped with a CSA International Certified Power Cord intended to be plugged into a standard 14-50R wall receptacle. Be sure the wall receptacle is within reach of range’s final location.

- Do not use an extension cord.
Electrical Requirements – Canada Only
WARNING
![]()
Electrical Shock Hazard
Electrically ground range.
Failure to do so can result in death, fire, or electrical shock.
If codes permit and a separate ground wire is used, it is recommended that a qualified electrical installer determine that the ground path and wire gauge are in accordance with local codes.
Be sure that the electrical connection and wire size are adequate and in conformance with CSA Standard C22.1, Canadian Electrical Code, Part 1 – latest edition, and all local codes and ordinances.
A copy of the above code standards can be obtained from:
Canadian Standards Association
178 Rexdale Blvd.
Toronto, ON M9W 1R3 CANADA
- Check with a qualified electrical installer if you are not sure the range is properly grounded.
Range Rating* Specified Rating of Power Supply Cord Kit and
Circuit Protection120/240 V 120/208 V Ampere 8.8-16.5 kW 7.8-12.5 kW 40 or 50** 16.6-22.5 kW 12.6-18.5 kW 50 *The NEC calculated load is less than the total connected load listed on the model/serial/rating plate.
**If connecting to a 50 A circuit, use a 50 A rated cord with kit.
For 50 A rated cord kits, use kits that specify use with a nominal 1 3⁄8″ (3.5 cm) diameter connection opening. - A circuit breaker is recommended.
- This range is equipped with a CSA International Certified Power Cord intended to be plugged into a standard 14-50R wall receptacle. Be sure the wall receptacle is within reach of range’s final location.

- Do not use an extension cord.
W11615555A
®/™ ©2022 JennAir. All rights reserved. Used under license in Canada.
A. Model/serial/rating plate (located behind the oven door on the top right-hand side of the oven frame)

















