EDIFIER MP30 Multimedia Speaker

Important safety instruction
- Please read the instructions carefully. Keep it in safe place for future reference.
- Use only accessories approved by the manufacturer.
- Install the instrument properly by following the instructions in the device connection section.
- Using the product in a 0-35°C environment is recommended. Shipping and storing the product in a 0-35°C environment is recommended.
- To reduce the risk of fire and electric shock, do not expose the product to rain or moisture.
- Do not use this product near water. Do not immerge the product into any liquid or have it exposed to dripping or splashing.
- Do not install or use this product near any heat source (e.g. radiator, heater, stove, or other devices that generate heat).
- Do not place any object filled with liquids, such as vases on the product; neither should any open fire, such as lighted candles be placed on the
product. - Do not block any ventilation openings. Do not insert any object into ventilation openings or slots. It may cause fire or electric shock.
- Keep sufficient clearance around the product to maintain good ventilation (a minimum 5cm is recommended).
- Do not force a plug into the jack. Before connection, check for blockage in the jack and whether the plug matches the jack and is oriented to the right direction.
- Keep the provided accessories and parts (such as screws) away from children to prevent from being swallowed by mistake.
- Do not open or remove the housing yourself. It may expose you to dangerous voltage or other hazardous risks. Regardless the cause of damage (such as damaged wire or plug, exposure to liquid splash or foreign object falling in, exposure to rain or moisture, product not working or being dropped, etc.), the repair has to be performed by an authorized service professional immediately.
- Before cleaning the product with dry cloth, always turn off the product and disconnect the power plug first.
- Never use strong acid, alkali, gasoline, alcohol, or other chemical solvents to clean the product surface. Use only neutral solvent or clear water for
cleaning. - The product must be used at an altitude of lower than 2000m.
Excessively loud music may lead to hearing loss. Please keep the volume in a safe range Correct Disposal of this product. This marking indicates that this product should not be disposed with other household wastes throughout the EU. To prevent possible harm to the environment or human health from uncontrolled waste disposal, recycle it responsibly to promote the sustainable reuse of material resources. To return your used device, please use the return and collection systems or contact the retailer where the product was purchased. They can take this product for environmental safe recycling.
For wireless product:
- Wireless product may generate shortwave radio frequencies and interfere with the normal use of other electronic devices or medical equipment.
- Turn off the product when it’s disallowed. Do not use the product in medical facilities, on airplane, at gas stations, near automatic gates, automatic
fire alarm system or other automated devices. - Do not use the product in the vicinity of a pacemaker within a 20cm range. The radio waves may affect the normal operation of the pacemaker or
other medical devices.
What’s in the box
Note:
- Images are for illustrative purposes only and may differ from the actual product.
- For the need of technical improvement and system upgrade, information and specifications contained herein may be slightly different from actual product. If any difference is found, the actual product prevails.
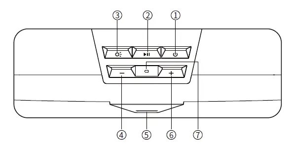
Functional operation
- Power on/off
Press and hold: power on/off
Press: input mode switch - Play/pause
Press: play/pause
Double press: sound mode switch (game/music mode)
Press and hold: disconnect Bluetooth and clear pairing records
(Bluetooth connected) - Light effect switch
Press: light effect switch
Press and hold: turn off light effect - Volume down
Press: volume down
Press and hold: previous track - Mode indicator
Red: USB audio streaming input
Blue: Bluetooth input - Volume up
Press: volume up
Press and hold: next track - Microphone
Note: In USB audio streaming mode, the speaker does not support volume sync. If need to adjust the volume, please separately adjust the speaker volume and the computer volume.
Operating instructions
- USB audio streaming connection
- Insert the USB cable from the speaker into the USB port on a computer, the speaker will auto-on.
- It is USB audio streaming input by default when the speaker is powered on for the first time.
- After the computer auto-installs USB audio streaming driver, the speaker is ready to use.
Not in USB audio streaming input
- Insert the USB cable from the speaker into the USB port on a computer.
- Press the ” ” button to switch to USB audio streaming input. Red LED will be steady lit.
- In the computer open the sound settings and select “Speaker (EDIFIER MP30)” as its output device, then the speaker is ready to use.
- Bluetooth connection

- Power on and press the ” ” button to switch to Bluetooth input. Blue LED will blink rapidly.
- Select “EDIFIER MP30” in your device setting to connect. Blue LED will be steady lit after connected.
- Press and hold the ” ” button to disconnect Bluetooth and clear pairing records.
- Bluetooth indicator:

- Bluetooth speakerphone

Note: If Bluetooth of the speaker has been hidden, it cannot be connected to your phone, please press the ” ” button to enter Bluetooth connecting state.
The speaker is connected to mobile phone through Bluetooth and there is an incoming call:
- press and hold the ” ” button to reject
- press the ” ” button to answer
- when in a conversation, press the ” ” button to end
Note:
- To enjoy all Bluetooth functions of this product, please ensure your audio source device has A2DP (Advanced Audio Distribution Profile) and HFP (Hands Free Profile) profiles.
- Pin code for connection is “0000” if needed.
Specifications
- Power output: 2.5W+2.5W
- Frequency response: 80Hz-20KHz
- Input: 5V 1A
Declaration for EU
- Frequency Band: 2.402GHz ~ 2.480GHz
- RF Power output: ≤10 dBm (EIRP)
There is no restriction of use.
Hereby, Edifier International Limited declares that the radio equipment type EDF100037 is in compliance with Directive 2014/53/EU. The full text of the EU declaration of conformity is available at the following internet address: https://www.edifier.com/int/eu-doc.html
Troubleshooting
No sound
- Check if the speaker is ON.
- Try to turn up the volume using the volume control.
- Ensure the audio cables are firmly connected and the input is set correctly on the speaker.
- Check if there is a signal output from the audio source.
Cannot connect via Bluetooth
- Make sure the speaker is switched to Bluetooth input. If it is in other audio input modes, Bluetooth will not connect. Disconnect from any Bluetooth device by pressing and holding the ” ” button, then try again.
- Effective Bluetooth transmission range is 10 meters; please ensure that operation is within that range.
- Try another Bluetooth device for connection.
Noise coming from speakers
- EDIFIER speakers generate little noise, while the background noise of some audio devices are too high. Please unplug audio cables and turn the volume up, if no sound can be heard at 1 meter away from the speaker, then there is no problem with this product.
To learn more about EDIFIER, please visit www.edifier.com For EDIFIER warranty queries, please visit the relevant country page on www.edifier.com and review the section titled Warranty Terms. USA and Canada: [email protected] South America: Please visit www.edifier.com (English) or www.edifierla.com (Spanish/Portuguese) for local contact information.
Model: EDF100037
Edifier International Limited
P.O. Box 6264
General Post Office
Hong Kong
Tel: +852 2522 6989
Fax: +852 2522 1989
www.edifier.com
© 2021 Edifier International Limited. All rights reserved.
Printed in China
NOTICE:
For the need of technical improvement and system upgrade, the information contained herein may be subject to change from time to time without prior notice. Products of EDIFIER will be customized for different applications. Pictures and illustrations shown on this manual may be slightly different from actual product. If any difference is found, the actual product prevails.

























