12 in. Electric Concrete Saw
User Manual

Please read and understand all instructions before use. Retain this manual for future reference.
SPECIFICATIONS
| Theoretical Horsepower (HP) | 2.5 |
| Blade Size (in.) | 12 |
| Arbor Size (in.) | 1 |
| Cutting Depth (in.) | 3/1/2002 |
| Speed Rating (RPM) | 4,500 |
| Includes | Wrench, 0.6m piper, (2) blades |
SAFETY
WARNING! Read and understand all instructions before using this tool. The operator must follow basic precautions to reduce the risk of personal injury and/or damage to the equipment. Keep this manual for safety warnings, precautions, operating or inspection, and maintenance instructions.
HAZARD DEFINITIONS
Please familiarize yourself with the hazard notices found in this manual. A notice is an alert that there is a possibility of property damage, injury, or death if certain instructions are not followed.
DANGER! This notice indicates an immediate and specific hazard that will result in severe personal injury or death if the proper precautions are not taken.
WARNING! This notice indicates a specific hazard or unsafe practice that could result in severe personal injury or death if the proper precautions are not taken.
CAUTION! This notice indicates a potentially hazardous situation that may result
in minor or moderate injury if proper practices are not taken.
NOTICE! This notice indicates that a specific hazard or unsafe practice will result in equipment or property damage, but not personal injury.
WORK AREA
- Keep the work area clean and well-lit. Cluttered or dark areas invite accidents.
- Do not operate power tools in explosive atmospheres, such as in the presence of flammable liquids, gases, or dust. Power tools create sparks, which may ignite dust or fumes.
- Keep children and bystanders away while operating a power tool. Distractions can cause you to lose control.
ELECTRICAL SAFETY
- Power tool plugs must match the outlet. Never modify the plug in any way. Do not use any adapter plugs with earthed (grounded) power tools. Unmodified plugs and matching outlets will reduce the risk of electric shock.
- Avoid body contact with earthed or grounded surfaces, such as pipes, radiators, ranges, and refrigerators. There is an increased risk of electric shock if your body is earthed or grounded.
- Do not expose power tools to rain or wet conditions. Water entering a power tool will increase the risk of electric shock.
- Do not abuse the cord. Never use the cord for carrying, pulling, or unplugging the power tool. Keep cord away from heat, oil, sharp edges, or moving parts. Damaged or entangled cords increase the risk of electric shock.
- When operating a power tool outdoors, use an extension cord suitable for outdoor use. Use of a cord suitable for outdoor use reduces the risk of electric shock.
- If operating a power tool in a damp location is unavoidable, use a ground fault circuit interrupter (GFCI) protected supply. Use of a GFCI reduces the risk of electric shock.
PERSONAL SAFETY
- Stay alert, watch what you are doing, and use common sense when operating a power tool. Do not use a power tool while you are tired or under the influence of drugs, alcohol, or medication. A moment of inattention while operating power tools may result in serious personal injury.
- Use personal protective equipment. Always wear eye protection. Protective equipment such as dust masks, non-skid safety shoes, hardhat, or hearing protection used for appropriate conditions will reduce personal injuries.
- Prevent unintentional starting. Ensure the switch is in the off-position before connecting to a power source and/or battery pack, picking up or carrying the tool. Carrying power tools with your finger on the switch or powering tools that have the switch on invites accidents.
- Remove any adjusting key or wrench before turning the power tool on. A wrench or a key left attached to a rotating part of the power tool may result in personal injury.
- Do not overreach. Keep proper footing and balance at all times. This enables better control of the power tool in unexpected situations.
- Dress properly. Do not wear loose clothing or jewelry. Keep your hair, clothing, and gloves away from moving parts. Loose clothes, jewelry, or long hair can be caught in moving parts.
- If devices are provided for the connection of dust extraction and collection facilities, ensure these are connected and properly used. Use of dust collection can reduce dust-related hazards.
POWER TOOL USE AND CARE
- Do not force the power tool. Use the correct power tool for your application. The correct power tool will do the job better and safer at the rate at which it was designed.
- Do not use the power tool if the switch does not turn it on and off. Any power tool that cannot be controlled with the switch is dangerous and must be repaired.
- Disconnect the plug from the power source and/or the battery pack from the power tool before making any adjustments, changing accessories, or storing power tools. Such preventive safety measures reduce the risk of starting the power tool accidentally.
- Store idle power tools out of the reach of children and do not allow people who are unfamiliar with the power tool or these instructions to operate the power tool. Power tools are dangerous in the hands of untrained users.
- Maintain power tools. Check for misalignment or binding of moving parts, breakage of parts, and any other condition that may affect the power tool’s operation. If damaged, have the power tool repaired before use. Many accidents are caused by poorly maintained power tools.
- Keep cutting tools sharp and clean. Properly maintained cutting tools with sharp cutting edges are less likely to bind and are easier to control.
- Use the power tool, accessories and tool bits, etc. in accordance with these instructions, taking into account the working conditions and the work to be performed. Use of the power tool for operations different from those intended could result in a hazardous situation.
SERVICE
- Have your power tool serviced by qualified personnel using only identical replacement parts. This will ensure that the safety of the power tool is maintained.
CONCRETE SAW SAFETY WARNINGS
- The guard provided with the tool must be securely attached to the power tool and positioned for maximum safety, so the least amount of wheel is exposed to the operator. Position yourself and bystanders away from the plane of the rotating wheel. The guard helps to protect the operator from broken wheel fragments and accidental contact with the wheel.
- Use only bonded reinforced or diamond cut-off wheels for your power tool. Just because an accessory can be attached to your power tool, it does not assure safe operation.
- The rated speed of the accessory must be at least equal to the maximum speed marked on the power tool. Accessories running faster than their rated speed can break and fly apart.
- Wheels must be used only for recommended applications. Do not grind with the side of a cut-off wheel. Abrasive cut-off wheels are intended for peripheral grinding and side forces applied to these wheels may cause them to shatter.
- Always use undamaged wheel flanges that are of the correct diameter for your selected wheel. Proper wheel flanges support the wheel thus reducing the possibility of wheel breakage.
- Do not use worn-down reinforced wheels from larger power tools. Wheels intended for a larger power tool are not suitable for the higher speed of a smaller tool and may burst.
IMPORTANT! The above warning does not apply to tools that are specifically designed to be used with diamond wheels.
- The outside diameter and the thickness of your accessory must be within the capacity rating of your power tool. Accessories sized incorrectly cannot be adequately guarded or controlled.
- The arbor size of wheels and flanges must properly fit the spindle of the power tool. Wheels and flanges with arbor holes that do not match the mounting hardware of the power tool will run out of balance, vibrate excessively, and may cause loss of control.
- Do not use damaged wheels. Before each use, inspect the wheels for chips and cracks. If a power tool or wheel is dropped, inspect for damage or install an undamaged wheel. After inspecting and installing the wheel, position yourself and bystanders away from the plane of the rotating wheel and run the power tool at maximum no-load speed for one minute. Damaged wheels will normally break apart during this test.
- Wear personal protective equipment. Depending on the application, use a face shield, safety goggles, or safety glasses. As appropriate, wear a dust mask, hearing protectors, gloves, and a shop apron capable of stopping small abrasive or workpiece fragments. The eye protection must be capable of stopping flying debris generated by various operations. The dust mask or respirator must be capable of filtrating particles generated by your operation. Prolonged exposure to high-intensity noise may cause hearing loss.
- Keep bystanders a safe distance away from the work area. Anyone entering the work area must wear personal protective equipment. Fragments of a workpiece or of a broken wheel may fly away and cause injury beyond the immediate area of operation.
- Hold the power tool by insulated gripping surfaces only, when performing an operation where the cutting accessory may contact hidden wiring or its own cord. Cutting accessory contacting a live wire may charge exposed metal parts of the power tool and could give the operator an electric shock.
- Position the cord clear of the spinning accessory. If you lose control, the cord may be cut or snagged and your hand or arm may be pulled into the spinning wheel.
- Never lay the power tool down until the accessory has come to a complete stop. The spinning wheel may grab the surface and pull the power tool out of your control.
- Do not run the power tool while carrying it at your side. Accidental contact with the spinning accessory could snag your clothing, pulling the accessory into your body.
- Regularly clean the power tool’s air vents. The motor’s fan will draw the dust inside the housing and excessive accumulation of powdered metal may cause electrical hazards.
- Do not operate the power tool near flammable materials. Sparks could ignite these materials.
- Do not use accessories that require liquid coolants. Using water or other liquid coolants may result in electrocution or shock.
Kickback is a sudden reaction to a pinched or snagged rotating wheel. Pinching or snagging causes rapid stalling of the rotating wheel which in turn causes the uncontrolled power tool to be forced in the direction opposite of the wheel’s rotation at the point of the binding.
If an abrasive wheel is snagged or pinched by the workpiece, the edge of the wheel that is entering the pinch point can dig into the surface of the material causing the wheel to climb out or kick out. The wheel may either jump toward or away from the operator, depending on the direction of the wheel’s movement at the point of pinching. Abrasive wheels may also break under these conditions.
Kickback is the result of power tool misuse and/or incorrect operating procedures or conditions and can be avoided by taking proper precautions as given below.
- Maintain a firm grip on the power tool and position your body and arm to allow you to resist kickback forces. Always use an auxiliary handle, if provided, for maximum control over kickback or torque reaction during start-up. The operator can control torque reactions or kickback forces if proper precautions are taken.
- Never place your hand near the rotating accessory. Accessory may kickback over your hand.
- Do not position your body in line with the rotating wheel. Kickback will propel the tool in a direction opposite to the wheel’s movement at the point of snagging.
- Use special care when working corners, sharp edges, etc. Avoid bouncing and snagging the accessory. Corners, sharp edges, or bouncing have a tendency to snag the rotating accessory and cause loss of control or kickback.
- Do not attach a saw chain, woodcarving blade, a segmented diamond wheel with a peripheral gap greater than 10 mm, or a toothed saw blade. Such blades create frequent kickback and loss of control.
- Do not apply excessive pressure on the wheel. Do not attempt to make an excessive depth of cut. Overstressing the wheel increases the loading and susceptibility to twisting or binding of the wheel in the cut and the possibility of kickback or wheel breakage.
- When a wheel is binding or when interrupting a cut for any reason, switch off the power tool and hold the power tool motionless until the wheel comes to a complete stop. Never attempt to remove the wheel from the cut while the wheel is in motion otherwise kickback may occur. Investigate and take corrective action to eliminate the cause of wheel binding.
- Do not restart the cutting operation in the workpiece. Let the wheel reach full speed and carefully re-enter the cut. The wheel may bind, walk up or kick back if the power tool is restarted in the workpiece.
- Support panels or any oversized workpiece to minimize the risk of wheel pinching and kickback. Large workpieces tend to sag under their own weight. Supports must be placed under the workpiece near the line of cut and near the edge of the workpiece on both sides of the wheel.
- Use extra caution when making a pocket cut into existing walls or other blind areas. The protruding wheel may cut gas or water pipes, electrical wiring, or objects that can cause kickback.
UNPACKING
WARNING! Do not operate the tool if any part is missing. Replace the missing part before operating. Failure to do so could result in a malfunction and personal injury.
Remove the parts and accessories from the packaging and inspect for damage.
IDENTIFICATION KEY
| 1 | Motor Casing |
| 2 | Back Cover |
| 3 | Carbon Brush Cover |
| 4 | Handle |
| 5 | Switch |
| 6 | Auxiliary Handle |
| 7 | Cover |
| 8 | Flange |
| 9 | Wheel |
| 10 | Saw Blade |

OPERATING INSTRUCTIONS
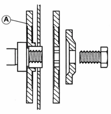
INSTALLING/REMOVING A DISC
WARNING! Always disconnect the machine from the power supply before attempting to install or remove a cutting disc.
NOTICE! Ensure that the machine’s arbor and the blade flanges are clean and free from dust and debris. Ensure that the direction of rotation marked on the blade matches the direction of rotation marked on the machine’s guard. The arbor bolt has a left-hand thread
- Turn counter clockwise to tighten the arbor bolt.
- Turn clockwise to loosen the arbor bolt.
- To remove a cutting disc, reverse the above installation procedure.

INSTALLING A DUST EXTRACTION MACHINE
WARNING! Dust can be dangerous. It is strongly recommend to use a suitable dust extraction machine (not supplied) to keep the workplace as clean and safe as possible.
The suction hose from the dust extraction machine should be attached to dust extraction port of the saw.
- Remove the rubber cap from the dust extraction port and store it when not in use.
- Push the connection hose from the dust extraction machine into the dust extraction port of the saw (Fig. 4)
- Follow all instructions supplied with the dust extraction machine.
- Ensure that the hose and power cable of any attached dust extraction machine do not pose tripping (or any other) hazards to the operator.
- When the dust extraction machine is no longer required, remove it from the saw and replace the cap to the dust extraction port.

ON/OFF TRIGGER SWITCH
This machine is equipped with a safety-start trigger switch. To start the tool:
- Push in the safety lock button (Fig.5a) on the side of the handle with your thumb.
- Depress the main trigger switch (Fig.5b) to start the motor.
WARNING! Never start the saw with the cutting edge of the saw blade in contact with the workpiece surface.

PRE-CUTTING
- Ensure that the power supply matches the requirements specified on the matches the requirements specified on the machines rating plate.
- Ensure that the machine trigger switch is in the OFF position. If the machine is connected to a power source with a trigger switch in the ON position, the machine could start operating immediately with the possibility of a serious accident occurring.
- If an extension cable is required, it must be a suitable type for use outdoors and so labeled.
- The manufacturer’s instructions should be followed when using an extension cable.
- Route any extension cable so that it does not pose a tripping (or any other) hazard to the operator or any bystanders.
WHEEL GUARD ADJUSTMENT
The wheel guard is adjustable and should be positioned to provide the operator with personal protection and maximum visibility of the cutting area.
- Loosen the wheel guard locking knob and rotate the guard to the required position. (Fig. 6)
- Securely tighten the wheel guard locking knob to lock the guard in place.

NOTICE! Check regularly the tightness of this locking knob and the security of the wheel guard during operation.
PARTS BREAKDOWN

PARTS LIST
| # | DESCRIPTION | QTY |
| 1 | Cable Wire | 1 |
| 2 | M6Nut | 1 |
| 3 | Left Handle | 1 |
| 4 | M5x20 Screw | 2 |
| 5 | Cable Sheath | 1 |
| 6 | Tension | 1 |
| 7 | Wiring Buckle | 2 |
| 8 | Switch | 1 |
| 9 | Right Handle | 1 |
| 10 | Φ6 Washer | 1 |
| 11 | M6x25 Screw | 1 |
| 12 | ST4x15 Screw | 8 |
| 13 | ST5x24 Screw | 4 |
| 14 | Motor End Cover | 1 |
| 15 | ST4x15 Screw | 2 |
| 16 | Soft Starter | 1 |
| 17 | Motor Housing | 1 |
| 18 | 609 RS Bearing | 1 |
| 19 | Stator | 1 |
| 20 | ST5x80 Screw | 2 |
| 21 | Spring | 2 |
| 22 | Brush Holder | 2 |
| 23 | ST4x10 Screw | 2 |
| 24 | Brush | 2 |
| 25 | Brush Cover | 2 |
| 26 | ST3x8 Screw | 2 |
| 27 | Rotor | 1 |
| 28 | Baffle | 1 |
| 29 | Bearing Washer | 1 |
| 30 | 6202 RS Bearing | 1 |
| 31 | Gear 31 Box | 1 |
| 32 | M4x10 Screw | 1 |
| 33 | ST5x40 Screw | 4 |
| 34 | 6200 RS Bearing | 1 |
| 35 | M4x10 Screw | 2 |
| 36 | Gear | 1 |
| 37 | Gear Washer | 1 |
| 38 | Bearing Pressure Plate | 1 |
| 39 | M4x10 Screw | 2 |
| 40 | Oil Baffle 40 | 1 |
| 41 | Gear 41 | 1 |
| 42 | M8 Nut | 1 |
| 43 | Oil Baffle 43 | 1 |
| 44 | Gear Box | 1 |
| 45 | M5x25 Screw | 4 |
| 46 | Handle | 1 |
| 47 | M6x45 Screw | 4 |
| 48 | 4x4x14 Key | 1 |
| 49 | Drive Shaft | 1 |
| 50 | 3x3x14 Key | 1 |
| 51 | 6301RS Bearing | 2 |
| 52 | Gear | 1 |
| 53 | Left M8 Nut | 1 |
| 54 | Breakwater | 1 |
| 55 | Φ12 Spring Washer | 1 |
| 56 | M12x15 Screw | 1 |
| 57 | Fixed Plate | 1 |
| 58 | M6x16 Screw | 4 |
| 59 | Lock Pin | 1 |
| 60 | Lock Pin Spring | 1 |
| 61 | Circlip for Shaft 6 | 1 |
| 62 | Gear Box | 1 |
| 63 | 6200Z Bearing | 1 |
| 64 | Oil Baffle | 1 |
| 65 | Circlip for Shaft 15 | 1 |
| 66 | Axle Sleeve | 1 |
| 67 | Bevel Gear | 1 |
| 68 | Gear Cover | 1 |
| 69 | Φ60×1.5 O-Ring | 1 |
| 70 | M6x16 Screw | 4 |
| 71 | Locking Hand Wheel | 1 |
| 72 | M8x24 Square Bolt | 1 |
| 73 | M5x10 Screw | 2 |
| 74 | Outlet | 1 |
| 75 | M5x10 Screw | 6 |
| 76 | Right Dust Outlet | 1 |
| 77 | Guard | 1 |
| 78 | Left Dust Outlet | 1 |
| 79 | M4x30 Screw | 1 |
| 80 | M4x10 Screw | 1 |
| 81 | Dust Outlet Cover | 1 |
| 82 | Outlet | 1 |
| 83 | 6302Z Bearing | 1 |
| 84 | 4x4x30 Key | 1 |
| 85 | Spindle | 1 |
| 86 | Bearing Pressure Plate | 1 |
| 87 | M6x16 Screw | 3 |
| 88 | Dustproof Ring | 1 |
| 89 | Flange | 1 |
| 90 | Saw Blade | 1 |
| 91 | Flange | 1 |
| 92 | Washer | 1 |
| 93 | Screw | 1 |
| 94 | PVC Water Pipe 6×8 (230 mm) | 1 |
| 95 | PVC Water Pipe 6×8 (600 mm) | 1 |
| 96 | Tap | 1 |
| 97 | Breakwater Plate | 1 |
| 98 | M5x10 Screw | 2 |
| 99 | 35 Bolt | 2 |
| 100 | Wheel | 2 |
| 101 | M8 Lock Nut | 2 |
| 102 | Pump | 1 |
| 103 | PVC Water Pipe 6×8 | 1 |
| 104 | Φ22.2 Saw Blade Pressure Plate | 1 |
| 105 | Dust Casing | 1 |
| 106 | #16 Wrench | 1 |
| 107 | Gasket 1 mm | 1 |
For technical questions call 1-800-665-8685
Visit www.princessauto.com for more information
8968828
12 in. Electric Concrete Saw
V4.0 
















