UVA LED PHOTOCATALYTIC
AIR PURIFICATION SYSTEM
User Manual
WAD-M20
Please read this manual carefully before using this product.

The AiroDoctor Medical Device meets U.S. Food and Drug Administration (FDA) requirements for the U.S. Commercial Distribution during the COVID-19 public health emergency. It is not yet FDA-cleared or approved for broader use.
Dear Customer,
Thank you for purchasing AiroDoctor.
In order to facilitate the installation and use of this unit, we recommend that you carefully read this manual in its entirety. To ensure that you always enjoy clean air, use this manual for qualified and standardized installation, proper use, and maintenance.
If any questions arise from the use, please consult this manual. If it is in accordance with the warranty, we kindly welcome you to contact the place of purchase. We welcome any feedback you have about our product and services.
Scientific Data
AiroDoctor air purifier with photocatalytic functionality completely breaks down harmful substances, such as viruses and pathogenic bacteria. This process is very efficient and safe for the environment as it produces no ozone or other chemical substances. The fine-pored structure of the photocatalytic system allows filtration of particles from PM2.5 classifications to less than 0.1μm.
| Summary of Evaluation Results – UVA LED Photocatalytic System | ||
| Testing Parameter | Microorganism | Percent Reduction |
| Virus | Human Coronavirus | >99.9% |
| Bacteria | E. Coli | >99.9% |
| Bacteria | Salmonella | >99% |
| Virus | Rotavirus | >99% |
| Virus | Norovirus (Murine) | >99% |
| Virus | Influenza A | >99.9% |
| Bacteria | MRSA | >99.9% |
Components

Key Features
- Removes >99% of tested viruses, bacteria, harmful gas, and odors by decomposition1
- 4-stage clean air purification system (Pre-Filter ―› Carbon-Filter ―› HEPA-Filter ―› UVA LED Photocatalytic Filter)
- Using eco-friendly UVA LED photocatalytic technology
- No ozone production nor harmful byproducts1

Filtering Systems

| Pre-Filter | Effectively adsorbs large particles with a diameter of around 5 μm, such as hair, fibers, and dust. |
| Activated Carbon Filter | Highly efficient cellular activated carbon neutralizes tobacco smoke, chemicals, odors, pollutants, and organic compounds. |
| HEPA Filter (H13) | Filters out up to 99.9% of the ultrafine dust particles, pollutants, fungal spores, and bacteria (up to 0.3 μm). |
| UVA LED Photocatalytic Filter | Environmentally friendly UVA LED photocatalysis technology with 250g of solid titanium dioxide permanently eliminates harmful gas- es and substances as well as the smallest viruses and bacteria. |
- Carbon and HEPA filters are integrated filters. https://airodoctor.com/us/definitions-and-references1
Installation/Use Instructions

Do not place in direct sunlight, facing air conditioner vents, or in heated places. It may cause the unit to warp, deteriorate, discolor, or malfunction.
Do not place near TVs or radios. This may distort images or produce noise. Using AiroDoctor Remote may cause interference with your TV or radio. Place at a distance of 3 ft or more from these devices. If you are sharing outlets with these devices, plugging in the purifier may distort images or produce noise. Do not plug power into one outlet (multitap) with other products.
For effective room circulation, place the unit approximately 1 ft or more away from walls or other objects. Keep the backside at least 8 inches away from the wall to enable it to work more effectively.
Do not place items on the unit as it may lead to malfunction. Be careful not to place magnets or any other metal items on the unit.
Do not block the exhaust vent or supply vent. Do not place objects on top of the exhaust vent or in front of the supply vent. Do not place flammable substances (sprays, gases, etc.) near the unit.
Important Safety Information

When moving or storing the device, power down via the power button then unplug the device. Do not pull on the power cord as this may cause a short circuit or internal damage to the power cord which may lead to a fire or electric shock.

Whenever moving the unit, use built-in handles on the side of the main body. Using other parts as a handle to move can cause damage and/or injury.
Do not cut, excessively twist, pull, or bend the power cord. If the power cord is damaged, for your safety please call the manufacturer, service department, or a trained professional to replace it.
To avoid electrical shock or fire, do not allow water, flammable cleaners, or other liquids to enter the product. If you do not operate the unit for a longer period than one week, leave the unit unplugged. Do not place your fingers or metal objects into the air vents. This may cause electrical shock or injury.
Do not use this product near gas appliances, heating appliances, or stoves.
Please keep AiroDoctor and AiroDoctor remote out of reach of children to avoid unintended damage or injury. 
Do not use the air purifier in a room that is using an incense-type insect killer. Chemical residue may accumulate in the unit and release back into the air, causing harm to physical health. After using insect killer or mosquito repellent, allow the room to be fully ventilated before using the air purifier. Turn off the unit should any of the following occur:
– Strange noises or vibrations during operation
– Product is unusually hot or emits a burning smell
Installing the product
Installing the Filter
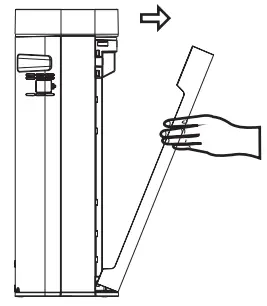
- Remove the Front Cover (Use both hands to pull).

- Remove the Pre-Filter

- Take the filter out of the Packaging.
* Make sure to remove the plastic cover of the filter before use. - There are differences between the inside and the outside of the absorption filter (Carbon Filter and HEPA Filter).

- There are differences between the inside and the outside of the Pre-Filter. The side with release tabs should be facing outward and on the topside.

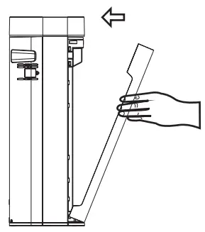
- Install the Front Cover.

* The product will not run if the front cover is uncovered.
Functional Description
| Icon | Name | Description | ||||||||||||||||||||||||||
![]()
| Power ON/OFF | When the product is plugged in and on standby, the “POWER” button turns on the product. Pressing “POWER” again sets the unit to standby. (The icon is red when on standby and green when powered on) If you press the power button on the operation panel while the product is running, the product will enter standby mode. (And the icon will turn red) | ||||||||||||||||||||||||||
![]()
| TIMER | When the product is on, each time the “TIMER” button is pressed, it will add 1 hour to the run time. When it accumulates to 12 hours, an additional press of the button will turn it off. (The icon will stay on when the product operates in “TIMER“ mode, otherwise, it will be off) | ||||||||||||||||||||||||||
|
| AUTO | When the product is on, after pressing the “AUTO” button, the negative ion generator and the germicidal lamp will start to work, and the gears will change according to the sensor’s data. (The icon will stay on when the product operates in “AUTO” mode, otherwise it will be off). If the speed is changed under “AUTO” mode, the product will quit this mode automatically.
| ||||||||||||||||||||||||||
![]() | SPEED | When the product is on, press “SPEED –” or “SPEED +” to switch the gear and change the operating speed. After the gear speed is changed, the motor will work only at the setting level without being affected by the sensor. (By pressing the “SPEED” button, the product will quit “AUTO” mode) | ||||||||||||||||||||||||||
![]() | SLEEP | When the product is on, it will turn to sleep mode 5 seconds after the “SLEEP” button is pressed. In sleep mode, all lights turn off and the product works in first gear. To wake it up, press any button then press “SLEEP” to quit sleep mode. The product is operational in “SLEEP” mode. In “AUTO” mode, when surrounding light is reduced for two minutes this product will continue running in “SLEEP” mode. When the surrounding light increases for 3 minutes, it will exit sleep mode and continue to run in auto mode. |
Installing the unit
Functional Description
| Icon | Name | Description |
![]() | CHILD LOCK | When the product is on, press the “CHILD LOCK” button to lock all buttons. In this mode, buttons will have no reaction to any touch. To turn off this mode, press “CHILD LOCK” for 5 seconds. |
![]() | RESET | This unit has a regular reminder function for cleaning or filter replacement, which is set to every 320 hours and 1500 hours. After every 320 hours, the indicator light on the panel will flash to inform users to clean the pre-filter. After cleaning, press the “RESET” button for 5 seconds, then the light will stop flashing. After every 1500 hours, the indicator light will stay on to inform users to clean the carbon + HEPA filter. At that time, press the button for 5 seconds so that the timing can be reset. To check operational time in hours, press the “RESET” button once and it will display on the screen. |
![]() | Remote Control | This product is provided with a remote controller powered by a lithium 3V battery. There is a one-to-one correspondence between the buttons on the remote CHILD LOCK controller and the operation panel. The functions and operation methods are the same. When placing the battery into the remote, ensure you are placing the battery between the two metal springs. See the below picture. ![]() |
Cleaning & Maintenance
Unplug the power cord before cleaning & maintaining the product.
Exterior Body of Unit
- Use a soft cloth to remove stains and dirt from the unit body.
- For tougher stains, dampen the cloth with water and/or use mild detergent and wipe off.
Pre-Filter (approximately twice per month)
- Clean the surface of the filter with a vacuum cleaner or wash with water.
- Allow drying thoroughly.

Integrated (Carbon + HEPA) Filter (approximately once every two months)
- Clean dust and any visible particles from the front of the filter with a vacuum cleaner.
- Do not use water to clean this filter.
- The filter is delicate. Do not press too hard on the filter while vacuuming.
- Do not expose to direct sunlight.

UVA LED Photocatalytic Filter
- In case any dust or particles are against the grill, use a vacuum cleaner to remove them.
- Make sure not to apply too much pressure.
Particulate Sensor (approximately once every two months)
- Be sure to unplug the power cord.
- Wipe the lens with a dry cotton swab periodically to remove any dirt, moisture, or residue as they may cause improper sensor readings.
- Do not use the cotton swap on any other area other than the surface of the lens.

Filter Replacement
You may need to replace filters sooner than recommended depending on where and how you use the appliance (such as in an environment or areas with higher air pollution). Additional filters must be purchased separately.
Recommended filter cleaning/replacement period
| Item | Cleaning period | Replacement period |
| Pre Filter | 4 Weeks | – |
| Integrated Filter (Carbon + HEPA) | 4 Weeks | 6 months |
| UVA LED Photocatalytic Filter | Once a year | – |
| Particulate Sensor | 4 Weeks | – |
- Refer to page 10 for a how-to guide to cleaning the filter.
- UVA LED Photocatalytic Filters do not require a separate replacement. Do not remove it when cleaning. If there is an abnormality in the photocatalytic filter, please contact the vendor you purchased the product from.
Troubleshooting
Check the following troubleshooting instructions and contact the vendor where you purchased the unit if the issue is not resolved.
| Malfunction | Inspect / How to fix |
| Not powering on or unresponsive. | 1. Make sure the power plug is fully inserted into the outlet, then retry powering on. 2. Make sure the front cover is inserted correctly. 3. Make sure that the product is safely installed on a flat or level floor. 4. If the screen has a child lock turned on, press the lock button for 5 seconds to turn it off. |
| If you feel the air is not clean but the indicator light shows green. | This may be a product location issue. Place the unit in the space where you feel the air is compromised. |
| If the air indicator light shows red (poor) even though the product has been run- ning for a period of time. | Refer to the manual to clean the particulate sensor and/or filters. (See page 10) |
| When the unit is not producing odorless air. | 1. Clean the air intake and all the internal filters. 2. If you haven’t replaced the filter in the recommended timeframe (See page 11), replace it with a new filter. |
Specifications
| Product Name | AiroDoctor Air Purifier |
| Model Name | WAD-M20 |
| Max. Room Size | Up to 2150 ft2 |
| CADR (Clean Air Delivery Rate) | 282 ft3/m |
| Noise Level (Max.) | 55 dB |
| Filter Type | Pre-Filter, Integrated (Carbon+HEPA) Filter, UVA LED Photocatalytic Filter with 250g of solid titanium dioxide |
| HEPA Filter Grade | H13 |
| Fan Speed | 1 ~ 8 Levels |
| Timer | 12 hours (max), Set in 1-hour increments |
| Filter Replacement Notice | Yes |
| Indicator Light of Air Quality | 4 Levels Green (Good), Blue (Average), Yellow (Below Average), Red (Poor) |
| Energy Efficiency | Class 4 |
| Rated Voltage | 110-220 V AC, 50/60 Hz |
| Power Consumption | 85 W |
| Weight | 25.4 lbs |
| Dimensions | 15.8 (W) × 9.1 (D) × 25.2 (H) inches |

This page was intentionally left blank.
For cleaner and healthier air


AiroDoctor is distributed in the USA and Canada by:
AEX TECHNOLOGY SOLUTIONS, LLC.
444 West Lake Street
Suite 1700
Chicago, IL 60606
www.airodoctor.com/us




























