URBAN 2 Smartwatch
User Manual
Technical information
Magnetic charger
Size: 44 mm: 44113810.7 mm
Case Material: Zinc Alloy
Strap: 44 mm changeable strap
Charger: magnetic pin charger
Screen: 1.75HDIPS, 320985
Touch screen: 2.5D curved Capacitive full touch screen
Bluetooth push: SMS, WeChat, Email, Facebook news and other APP notifications reminder ECG: ECG data
Pedometer: Exercise steps, calorie consumption, exercise mileage record
Sedentary reminder function
Sleep monitor function
Anti-loss function for Smartphone
Bluetooth: 3.0, 4.0
Battery: 230MAH/170MAH Large-capacity lithium polymer battery
Languages: Chinese, English, German, Spanish, Italian, French, Portuguese (Portugal), Portuguese (Brazil), Russian, Indonesian, Malay, Polish, Vietnamese, Hebrew, Arabic, Persian, Thai, Burmese, Turkish, Japanese, Korean
Other functions: Alarm clock, calendar, stopwatch
Water resistance: IP68
Operation Steps
Turn On/Of Button: Long press to switch ON/OFF the watch; short press to return to standby. Hold for 10 seconds to reboot the device.
Touch instructions: Swipe left to enter Menu mode, tap its icon to enter a function, swipe right to return to Menu, swipe left to enter the next level of the function.
Watch spheres switch: Long press the watch screen and slide right or left to select different spheres.
Charging instructions
This product works with magnetic charging.
Connect the charging input to the device’s back charging pins, it will charge automatically.
It supports PC USB or standard 5V chargers. It will fully charge in 70 minutes.
Caution: Do not let its charging pins be in touch with any other conducting material at the same time, it may cause a short circuit.
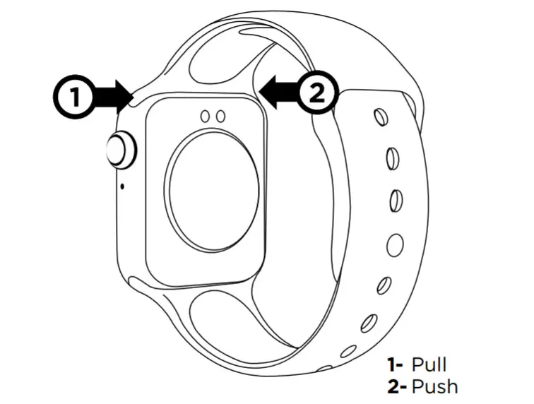
Changing the strap
Pull forward with one hand, push forward with the other hand at the same time and the strap will be easily removed.

Pairing with smartphone
Download the “M active” App and follow one of these 2 methods:
- Android/iOS Phone: scan the following QR code to Download “M active”.
http://download.microwear.com/mactive.html
iOs
After installation, turn on Bluetooth and the M active app on your mobile device. Make sure notifications, location, and all permissions are enabled.
Find “Watch 6” on the list of available devices on the mobile APP and connect.
Android
For Urban 2, go into Settings. Then go to Bluetooth Settings. Activate Bluetooth.
Go to the M active application on your Smartphone. Then go to Devices and find the Watch 6 device. Select that device and connect.
In the Urban 2 menu, select messages or contacts. Connect BT functionality and search for available devices.
On your Smartphone, go back to the list of Bluetooth devices.
Once “Pairing” appears for Urban 2, a pairing request will appear on your Smartphone.
Select the authorization box to manage calls and messages and the “Pair” button on your mobile device.
Then, your Urban 2 will show the text “Paired” indicating that it is complete.
Note: Sometimes Bluetooth connection can be unstable. If this happens, please restart the Bluetooth function, then try to connect again, or restore factory settings. If the system appears halted, long-press the Power button for 10 seconds to restart the watch.
Some Android phones need to turn ON GPS to connect.
Main functions
Calling
Dial: Call via cellphone and talk from the smartwatch’s edge.
Contacts: Sync all the contacts from your cellphone with a maximum of 50.
Call logs: Sync all the calls history in the cellphone.
SMS: Sync all the messages on the cellphone (does not support iOS phone yet). Notifications: Synchronize all the phone notifications, such as Facebook, WhatsApp, Email, etc.
Bluetooth: Search the device you won’t to connect, or disconnect the devices.
Pedometer: Records the steps walked during the day, calories burn, and distance. Every day at 00:00 all data will be automatically saved and reset to 0.
Sleep monitor: It automatically monitors the user’s sleep from 9p.m to 9 a.m. It records sleep duration and quality.
Heart rate monitor: wear the watch tightly with your wrist, the best position would be the upper of the hand-wrist, after 20 seconds it will show the real-time heart rate data. Swipe down to see the historic.
ECG: Optical heart rate and ECG combined technology, it can show the data in about 30 seconds.
Blood pressure: Tap to enter and start measuring, put your hand down for around 1 min, and then it will display the result.
Thermometer: The body temperature will be measured immediately once you enter the function.
Sedentary: Set a time reminder of being sat and it will remind you to stand when time’s up. Anti-lost: Click the “Find phone” option and its connected phone will start ringing. It works on both watch and App sides.
Alarm: 5 alarms maximum, long press can cancel the alarm.
Stopwatch: Tap the left icon to start timing, and tap again to pause. Tap a third time for cumulative time.
Calendar
Settings
Bluetooth Settings: Turn on/off Bluetooth.
Clock: There are different watch spheres to choose from. Time will be synced once connected with M active App.
Notifications flash: you can set a notification flash. Battery working time will be reduced. Display: Set the time and brightness adjustment.
Sound: You can select the caller profile, select Ringtones or select notification ringtones.
Maintenance recommendations
- Regularly clean the product with a dry cloth. The product must be disconnected or Switched off when you clean it.
- Keep the connectors and/ or ports free from dust, lint, etc. to prevent improper connections.
- Avoid breaking the device. Do not put objects over it or bend it too strong.
- If the product includes a cable do not bend it too strong and do not pull from it to unplug the product.
- Do not wet the product. Keep it always in a dry place, away from humidity.
- When not using the product, store it in a place free from dust, dirt, lint, liquids, etc.
- If water or other liquids enter the product interior, unplug it immediately from any attached power source or device it is connected to.
- Avoid dropping or hitting the product. It might be damaged.
- Do not use the product for anything other than its intended use.
- Please recycle the product in accordance with local environmental laws and regulations.
Safety information
Please read the following instructions before using the device for the first time:
- When you use a device keep it away from heat sources (fire) and from humidity sources (water and other liquids).
- If the product is wet or damaged do not use it.
- Do not use the product with wet hands.
- Do not leave the product in contact with flammable materials.
- Do not expose the product to high temperatures (for example: inside a car during hot weather)
- Do not throw the product into fire.
- Keep the product away from children.
- Disconnect or switch off the product if you are not going to use for a long period of time.
- Do not use the device if you perceive any visible defects.
- Do not attempt to open or puncture the product. You might damage it.
- Do not use the product with incompatible devices.
- Do not dismount or modify the product. These actions will invalidate the Warranty.
Legal Note
Hereby, Atlantis Internacional S.L. declares that this product is in compliance with the essential requirements and other relevant provisions of Directive 2014/53/EC.
The features and functions described in this manual are based on tests made by Atlantis Internacional S.L. It is the user’s responsibility to examine and verify the product after its purchase. Atlantis Internacional S.L. is not responsible and will never be liable for any personal loss or injury, economical loss, material loss, or any damage due to misuse, abuse, or improper installation of the product.
For electronic devices with Bluetooth: Atlantis Internacional S.L. is not responsible and will never be liable for any function, communication, and connection failure between the product and Bluetooth-enabled devices.
Electronic and electrical devices disposal
This symbol indicates that electrical and electronic equipment is to be collected separately.

- This product is designated for a separate collection at an appropriate collection point. Do not dispose of as household waste.
- The final price of this product includes the cost necessary for the correct environmental management of the generated waste.
- If the equipment uses batteries, they must be removed from the equipment and disposed of in an appropriate collection center. If the batteries cannot be removed, do not attempt to do it yourself since it must be done by a qualified professional.
- Separate collection and recycling help conserve natural resources and prevent negative consequences for human health and the environment that might result from incorrect disposal.
- For more information, contact the retailer or the local authorities in charge of waste management.

















