
Quick Start Guide
V1.0
2020.11
Model: Waydoo Flyer ONE-RC

Wayde Flyer ONE Quick Start Guide
Disclaimer
Please read this manual and related warnings carefully before use. This product concerns water sports equipment. Using this product has inherent risks that may cause serious injury or even death. Users who use this product must understand and accept the inherent risks of using this product. Misuse of this product may cause product damage or personal injury. As a continuous sort of product development, Waydoo reserves the right to change the components, specifications, or other aspects of this
product without prior notice. For more information, please visit: www.waydootech.com.
WARNING
Minors under the age of 18 are not suggested to use this product. A safety summary as part of the operating safety knowledge is included. Please read the entire content of the disclaimer and safety operating instructions carefully. After reading the entire user manual, familiarize yourself with the functions of the product before proceeding. This product can cause serious injury to oneself or others, or cause product damage and property loss. This product can only be used safely with instructions clearly in mind, and it requires some basic common sense before operation. Do not use parts that are not provided or recommended by Waydoo, and strictly follow Waydoo’s instructions to install and use the product. This guide contains instructions on safety, operation, and maintenance. Make sure to carefully read all instructions and warnings in the quick start guide before assembly, setup, and use.
Wayde Flyer ONE
Introduction
Founded in 2018, Shenzhen Waydoo Intelligence Technology Co., Ltd. is a company that invests and manufactures intelligence hardware for water sports enthusiasts.
The Waydoo Flyer ONE has been ingeniously built to allow more people to experience the thrill of water sports. The overall weight of the product is 16 kg without battery and 28 kg with battery, with an overall size of 1680×700×1050 mm.
Feature Highlights
![]() | |||
| Power 6000W | Operating Time 55 – 85 min | Charging Time 2 h | Maximum Speed 42 km/h |
Parts
Jet ONE Controller
The Jet ONE Controller should be paired with the PowerFlight Cell for Bluetooth connection. The Jet ONE Controller is ergonimcally designed and adopts an OLED display interface. The display shows the speed and the power level of the PowerFlight Cell and the Jet ONE Controller. The Jet ONE Controller displays power, Bluetooth connection, and light speed. It offers 24-speed gears.
- Power Button
- Display
- Magnetic Charging Port
- “+” Speed Gear
- “-” Speed Gear
- Trigger
Charge the Jet ONE Controller
- This product uses magnetic charging to reduce friction between terminals.
- When the charging cable connector is closed to the charging port of the Jet ONE Controller, the charging connector automatically connects to charge. The charging time is 3 hours.Jet ONE Controller Display

- Jet ONE Controller Power Level
- Speed 3. Waydoo Flyer ONE Power Level
- Bluetooth 5. Speed Gear
Remarks:
- When the Jet ONE Controller is not connected, the Bluetooth icon on the display continues to liash until it is connected.
- The Jet ONE Controller ours 24-speed gear options. In speed limit mode, speed options can be limited to 10 gears and the highest gear can be adjusted.
- The number on the left of the speed level shows the current gear.

Remarks:
- When the battery level of the Jet ONE Controller is lower than 20%, a low battery warning prompt appears. Make sure to charge in time.
- When the Jet ONE Controller is in standby for more than 8 seconds, it will switch to the screen with the lock icon. Press and hold ”-“ for 1 second to unlock.

Short press “+” and “-” simultaneously when the Jet ONE Controller is powered on to enter Settings. Scroll through the menu by pressing the “+” or “-” and press the Power Button to confirm.
After entering the sub-menu, use “+” or “-” to scroll and press the Power Button to select the Mode. Press “+” or “-” to switch and press the Power Button to confirm. The highest gear can be adjusted in speed limit mode.
Finally, press “+” or “-“ to scroll to the return option, and press the Power Button to confirm until you exit the Settings. Refer to the Units and change operation as follows:
For languages, refer to the Language and change operation work as the following mode operation.
PowerFlight Cell
The PowerFlight Cell can be embedded in the board and has an average battery life of 55-85 minutes. The battery has a capacity of 32500mAh and the voltage is 14S/58.8V. Additionally, the built-in AL system tracks the battery status, allowing for a safer user experience.
- Bluetooth Button
- Battery Status Display
- Rotary Lock
- Power Button
- Integrated Port

Battery Status Indicators
Fast Charger
Adopting an aluminum alloy diecasting, the Fast Charger has an input voltage of 90-260 V, the output voltage of 58.6-59 V, charging current of 16-18 A, and a protection level of IPX6.
- Integrated Line
- Power Cord
- Indicator Light
Charging Status Description
| LED | Status |
| Steady blue light | Standby |
| Flashing blue light | Connecting |
| Flashing green light | Charging |
| Full green light | Fully charged |
Note: Fully charge the PowerFlight Cell when using it for the first time. Make sure to use the standard charger. 
Charge the PowerFlight Cell
- Connect the charger’s integrated line to the battery integrated port.
- The charger power indicator shows a steady blue light indicating standby mode; then short press the linking switch on the smart battery, and the indicator
will change from a steady blue light to an ashing blue light, waiting for communication; then the ashing blue light turns to ash green, indicating that it enters the charging mode.
- When the indictor light on the Fast Charger changes from ashing green to full green it means that the PowerFlight Cell is fully charged. The PowerFlight Cellusually takes 2 hours to charge. When the red light ashes on the Fast Charger, it means the device is malfunctioning. Stop charging immediately if this occurs.
EPP Board
The EPP Board acts as the main body and core of the efoil, with a large area of soft cushion that makes for a better user experience. High-quality composite materials and aluminum alloy are used to reinforce the board, while the streamlined design optimizes the overall performance of the product.

- Side Handle
- Rotary Lock
- PowerFlight Cell
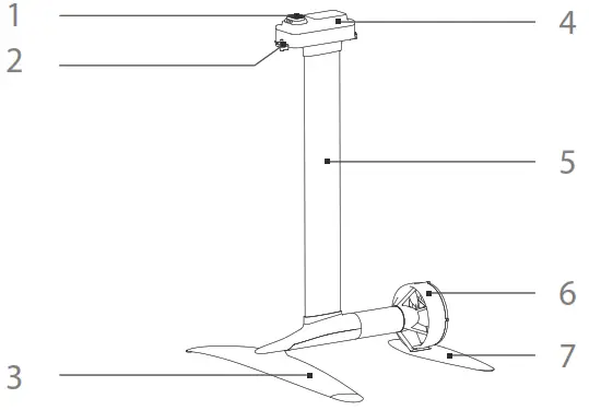
Power Assembly & Wing Set
The Power Assembly & Wing Set has a built-in control system and uses the EPP Board to complete the system connection. The ESC and motor are located underwater and boost effective heat dissipation. With an overall structure that is easy to assemble and disassemble, the Power Assembly & Wing Set is quick to start using.

- Integrated Port
- Bolt Fixing Hole
- Main Wing
- Mast Head
- Support Rod
- Propeller Guard
- Tail Wing
Travel Pack and Toolkit
![]() | Travel Pack (Board) x 1 Travel Pack (Gears) x 1 |
| EPP Board x 1 | |
| Power Assembly & Wing Set x 1 | |
| PowerFlight Cell x 1 | |
| Jet ONE Controller x 1 | |
| Controller Charging Cable x 1 | |
| Fast Charger x 1 | |
| M6*24 Board Fixing Bolt x 2 | |
| M6*15 Board Fixing Bolt x 2 | |
| Mast Fixing Bolt x 2 | |
| 4mm Hexagon Wrench x 1 |
Assembly Steps
1. Assembling the Mast

- Turn the EPP Board over to insert the Mast & Power Assembly vertically into the board installation port.
- After inserting the masthead into the hub to make sure it ts, x with L-shaped bolts and tighten.
2. Assembling the Wings

- Attach the Tail Wing on the tail-end mounting hub and tighten the two M6*15 bolts clockwise with the 4mm Hexagon Wrench.

- Put the Main Wing on the front-end mounting hub and tighten the two M6*24 bolts clockwise with the 4mm Hexagon Wrench.
- Flip over the EPP Board and proceed to the next step.

- Installing the PowerFlight Cell
- Face the battery compartment upward and reset both Rotary Locks.
- Insert the PowerFlight Cell into the battery compartment. Turn both Rotary Locks 180-degree to securely lock the battery in place.
4. Connecting the Jet ONE Controller
- Press the Power Button on the Jet ONE Controller for 5 seconds. Power on the Jet ONE Controller.
- Short press once and long press and hold the Power Button on the PowerFlight Cell. Power on the PowerFlight Cell.

- To prepare to pair, short press once and long-press the Bluetooth button on the PowerFlight Cell for 2 seconds. After the PowerFlight Cell is powered on, finish Bluetooth pairing in one minute, otherwise, the PowerFlight Cell should be rebooted.

- For Bluetooth pairing, simultaneously press and hold the Power Button of the Jet ONE Controller and speed gear “-” button. When the Bluetooth icon disappears, it means the pairing is successful. If the devices have been paired before, they will connect automatically and Step 3&4 can be skipped.
Safety Guidelines
1. Safety Summary
- Refer to the user manual and watch the ocial instructional video to learn how to use this product.
- This product can only be used on water. Take safety measures when using this product and wear a life jacket and safety helmet.
- The use of this product requires a water depth of at least 1.2 meters. Be aware of gravel, plants, or wild animals in the water.
- When using the product, pay attention to the surrounding environment, stay away from the shore, and keep a safe distance from ships and other people.
- Do not use this product in waters where there are swimmers or divers.
- Do not use this product in waters with oating objects, obstacles, or many wild animals and plants.
- Do not use damaged or malfunctioning products.
- Do not place the product directly on the roof of the car for transportation. Otherwise, the product may slide o and cause serious damage.
- Do not use this product before fully understanding the operation steps and inherent risks of the product.
- Do not allow others to use this product unless they fully understand how to use the product correctly.
- Do not remove the propeller guard.
- Do not attempt to x or touch the propeller in the water.
- Do not remove the battery when the product is in the water.
- When the system is powered on, keep the propeller away from your body, fingers, and toes. The rotating propeller may cause serious, or even life-threatening, injury. Treat with caution.
- When used in the water, any contact with the powertrain, front wing or tail wing may cause serious, or even life-threatening, injury. Treat with caution.
- Do not use this product in bad weather. Pay attention to changes in weather when using this product.
- Always use this product steadily and safely. Do not perform dangerous operations such as overspeeding or sharp turns.
- During the use of the product, the dead weight of the product shall not exceed 100kg.
2. Know Before Use
Before using this product, check the product to ensure that the waterproof components (such as the Jet ONE Controller, the PowerFlight Cell, and the masthead) are not damaged, the power system and control system work normally, the battery power is sufficient, and the bolts of each component have been tightened. Do not use
damaged products.
- Check whether the connection position of the Power Assembly & Wing Set is rm and the bolts are tightened in place.
- Make sure that the propeller and protective cover are not damaged or cracked, and carefully remove any sand or debris residue.
- Install the PowerFlight Cell in the designated location.
- Make sure the PowerFlight Cell is installed firmly and the lock is tightened in place.
- Make sure the product is free of damage and is working properly before use.
3. Special Warning
To avoid possible injury and loss, the following must be observed.
- Use original accessories or accessories certified by Waydoo. The use of non-original accessories may cause danger to the safe use of the hydrofoil.
- Make sure no foreign matter (such as water, oil, sand, or soil) has entered any of the components.
Motor
ATTENTION
- Before use, make sure that the propeller and protective cover are not damaged or cracked, and carefully remove any sand or debris.
WARNING
- Do not remove the propeller guard.
- Do not attempt to x or touch the propeller in the water.
- When the system is powered on, keep the propeller away from your body, fingers, and toes.
- The rotating propeller may cause serious, or even life-threatening, injury. Treat with caution.
Support Rod
ATTENTION
1. The use of the product requires a water depth of at least 1.2 meters. Be careful of gravel, plants, or wild animals in the water.
2. When using the product, pay attention to the surrounding environment, stay away from the shore, and keep a safe distance from ships and others.
WARNING
1. When used in water, any contact with the wings and the Support Rod may cause serious, or even life-threatening, injury. Treat with caution.
PowerFlight Cell
WARNING
- Do not disassemble or modify the PowerFlight Cell for other purposes. Otherwise, the warranty will be invalid.
- Do not disassemble, puncture, impact, or drop the PowerFlight Cell.
- Do not operate the PowerFlight Cell with wet hands.
- Do not install or remove the PowerFlight Cell in water.
- Do not discard the PowerFlight Cell randomly.
- Do not expose the PowerFlight Cell to direct sunlight, re, or place it in an environment where the temperature exceeds 60° C (140° F).
- Use the standard charger for charging.
- Place the PowerFlight Cell in a safe place and avoid contact with young children or animals.
- Check whether the PowerFlight Cell is normal before use. Using abnormal batteries may cause damage, electric shock, re, and even life-threatening situations.
- If you need to store the PowerFlight Cell for more than one month, maintain the battery level at 40-60%.
- The transportation of the PowerFlight Cell needs to comply with relevant local laws and regulations.
4. Restrictions and Local Regulations
It is prohibited to use this product in waters where there are swimmers or divers. It is forbidden to operate in restricted trac areas. Make sure to strictly abide by local laws and regulations.
Refrain from lying in weather such as rain, thunder, snow, heavy fog, strong wind, and storms.
After Use
- After use, press and hold the Power Button of the Jet ONE Controller for 5 seconds, and power o the Jet ONE Controller.
- Take the board out of the water. Short press the Power Button of the PowerFlight Cell and then long press for 2 seconds. The PowerFlight Cell will beep to confirm it is powered oF. Unscrew the Rotary Locks and remove the PowerFlight Cell.
- Unscrew the Main Wing and Tail Wing Fixing Bolts and remove the wings.
- Unscrew the L-shaped Fixing Bolts to uninstall the Power Assembly.
- Rinse the sand and dirt from the Board and other parts with fresh water.
Troubleshooting
If there are any problems during use, stop operating the product, lay on the board, and paddle with your hands until you return to land. After the problem is solved, you can use the board again. If there is any problem that cannot be solved, contact the after-sales service in time.
Possible Failures and Solutions
- The battery fault light turns red: Check if the temperature of the battery is too high. If the temperature is too high, stop using it and wait for the battery to cool down before continuing to use. Check whether the battery level is too low. If the battery is too low, charge immediately. If the problem is still not solved, contact after-sales service in time.
- The battery has no output: Check whether the power assembly and the battery are properly connected. If there is any looseness, tighten the L-shaped bolts in time. Normally, the battery has output. The output indicator on the display will continue to light up in blue.
- The battery cannot be charged normally: First, check whether the fault indicator of the battery is on. If it is, contact the after-sales service to repair or replace the battery, Next, check whether the charger indicator is fiashing red. If the charger is in good condition, check whether the AC plug of the charger and the integrated battery port are properly connected. Tighten if they are loose. If the connection is normal, turn the charger over. Make sure the rocker switch of the electrical appliance is in the ON position and then the battery should be able to charge normally.
- The motor keeps making abnormal noises during use: Immediately release the trigger of the remote control to stop the motor, turn o the remote control, lay on the board, and paddle back to land using your hands. Take out the battery and check whether there is any foreign matter in the propeller. If there is foreign matter, remove the propeller protective cover and the propeller for cleaning. Before inspecting the propeller, make sure that the battery is disconnected and remove the battery.
5. The motor stops rotating during use:
Immediately release the trigger of the remote control to stop the motor, turn off the remote control, lay on the board, and paddle back to land using your hands. Check whether the status indicator of the remote control shows normal connection status. Next, check whether the battery level is normal, and then check whether the powertrain and the board are loose. If it is loose, tighten it in time. If the problem is not solved after attempting the above steps, remove the battery and check whether seawater has seeped into the metal joints or if there is any corrosion. If the above situation has occurred, rinse the plug with fresh water and dry it with a rust remover to remove the rust on the metal joints. Finally, wash and dry the plug. 6. The machine shakes, vibrates, and it is dicult to maintain balance during use: Immediately release the trigger of the remote control to stop the motor, turn of the remote control, lay on the board, and paddle back to land using your hands. Remove the battery and check whether the mounting bolts of the power assembly are loose. If loose, tighten them in time.
7. The remote control connection appears intermittent during use: Immediately release the trigger of the remote control to stop the motor, turn of the remote control, lay on the board, and paddle back to land using your hands. Turn on the remote control and check whether the Bluetooth icon is fiashing. If it is fiashing, restart the battery and pair again using Bluetooth. If the problem is still not resolved, contact after-sales service in time. 8. The remote controller has a fault: “Err.1” = Angle sensor initialization failed. “Err. 2” Splash initialization failed. “Err. 3” = Angle sensor and splash initialization failed. “Err. 4” = GPS failed. “Err. 7” = Angle sensor initialization, splash initialization, and GPS failed..
Maintenance
Regularly check the waterproof components (such as the Jet ONE Controller, the PowerFlight Cell, and the mast
head) for damage and the status of each module of the power system and control system.
- After using the product, turn of the Jet ONE Controller and PowerFlight Cell.
- To clean the Power Assembly & Wing Set, align the water inlet of the motor mount with a freshwater pipe, and clean the motor mount for approx. 30 seconds to ensure that the motor mount is clean and free of debris. Next, clean the motor shroud, propeller, and propeller guard. Afterward, clean the mast plug. Make sure to remove any salt, sand, or other debris that is found. Finally, clean the mast.
- Clean the board, battery mounting position, and the mast mounting base and other parts with fresh water to ensure that there is no salt, sand, or other debris remaining. Wipe with a dry towel and let sit in a dry environment to remove the remaining water.
- Clean the battery, battery integrated ports, and buttons with fresh water. Use a dry towel and let stand in a dry environment to remove the remaining water.
- Clean the remote control. Pay special attention to the location of the remote control trigger. If you and that there is a jam when pulling the trigger, check whether there is any gravel in the trigger. If so, rinse the gravel out with clean water.
- After cleaning, wait for the moisture of all parts to dry before putting the parts back into the package.
- When storing this product, avoid direct sunlight. Ultraviolet rays and high temperatures will cause permanent damage to the product.
- To ensure safety, make sure to turn of the remote control and battery when transporting this product.
Wayde Flyer ONE – Warranty Period
| EPP Board | 1 year |
| Mast & Power Assembly | 1 year |
| Main Wing and Tail Wing | 1 year |
| PowerFlight Cell | 1 year (or less than 300 cycles) |
| Jet ONE Controller | 1 year |
| Fast Charger | 1 year |
After-sales Service Plan
- When contacting Waydoo, explain in detail the problem with the product.
- Waydoo’s technical support sta will try to diagnose and solve your problem by phone, email, or remote assistance.
- If you still cannot solve your problem, send the product to Waydoo for further testing. Wayde will arrange
services for you according to the corresponding warranty service type of the product.
Non-after-sales Coverage
- Damage caused by transportation or loading and unloading during the return, exchange, and repair.
- Any unauthorized Modification, disassembly, opening, and repair without social authorization.
- Battery damage is caused by any accidental factors or human factors, such as obvious hard object damage, cracks, severe deformation, broken power cord, disconnection, etc.
- Product failure or damage caused by installation, use, maintenance, and storage not in accordance with the requirements of the instruction manual
- Damage due to circuit Modification, battery-pack Modification, or using unmatched chargers guided by unsocial instructions.
- Damage caused by using outside the safe load range of the product.
- Damage is caused by forced use of the product when the parts are damaged.
- Damage caused by using batteries with quality problems.
- The product or component has the identification label changed or removed.
- Failure or damage caused by force majeure (such as re, earthquakes, food, etc.).
- Products or parts that have exceeded the warranty period.
FCC STATEMENT
1.This device complies with Part 15 of the FCC Rules. Operation is subject to the following two conditions:
(1) This device may not cause harmful interference.
(2) This device must accept any interference received, including interference that may cause undesired operation.
2. Changes or modifications not expressly approved by the party responsible for compliance could void the user’s authority to operate the equipment.
NOTE: This equipment has been tested and found to comply with the limits for a Class B digital device, pursuant to Part 15 of the FCC Rules.
These limits are designed to provide reasonable protection against harmful interference in a residential installation. This equipment generates uses and can radiate radio frequency energy and, if not installed and used in accordance with the instructions, may cause harmful interference to radio communications. However, there is no guarantee that interference will not occur in a particular installation. If this equipment does cause harmful interference to radio or television reception, which can be determined by turning the equipment off and on, the user is encouraged to try to correct the interference by one or more of the following measures: Reorient or relocate the receiving antenna. Increase the separation between the equipment and receiver. Connect the equipment into an outlet on a circuit different from that to which the receiver is connected. Consult the dealer or an experienced radio/TV technician for help. FCC Radiation Exposure Statement This equipment complies with FCC radiation exposure limits set forth for an uncontrolled environment. This equipment should be installed and operated with an minimum distance 5mm between the radiator & your body.
Wayde Technical Support
This guide may be updated without notice.
Check the social Waydoo website for the latest version.
www.waydootech.com


























