


OPERATOR’S MANUAL
18 VOLT JIG SAW
PCL525

WARNING: To reduce the risk of injury, the user must read and understand the operator’s manual before using this product.
SAVE THIS MANUAL FOR FUTURE REFERENCE
GENERAL POWER TOOL SAFETY WARNINGS
WARNING
Read all safety warnings, instructions, illustrations and specifications provided with this power tool. Failure to follow all instructions listed below may result in electric shock, fire and/or serious injury.
Save all warnings and instructions for future reference. The term “power tool” in the warnings refers to your mains-operated (corded) power tool or battery-operated (cordless) power tool.
WORK AREA SAFETY
- Keep work area clean and well lit. Cluttered or dark areas invite accidents.
- Do not operate power tools in explosive atmospheres, such as in the presence of flammable liquids, gases or dust. Power tools create sparks which may ignite the dust or fumes.
- Keep children and bystanders away while operating a power tool. Distractions can cause you to lose control.
ELECTRICAL SAFETY
- Power tool plugs must match the outlet. Never modify the plug in any way. Do not use any adapter plugs with earthed (grounded) power tools. Unmodified plugs and matching outlets will reduce risk of electric shock.
- Avoid body contact with earthed or grounded surfaces, such as pipes, radiators, ranges and refrigerators. There is an increased risk of electric shock if your body is earthed or grounded.
- Do not expose power tools to rain or wet conditions. Water entering a power tool will increase the risk of electric shock.
- Do not abuse the cord. Never use the cord for carrying, pulling or unplugging the power tool. Keep cord away from heat, oil, sharp edges or moving parts. Damaged or entangled cords increase the risk of electric shock.
- When operating a power tool outdoors, use an extension cord suitable for outdoor use. Use of a cord suitable for outdoor use reduces the risk of electric shock.
- If operating a power tool in a damp location is unavoidable, use a ground fault circuit interrupter (GFCI) protected supply. Use of a GFCI reduces the risk of electric shock.
- Use battery only with charger listed. For use with 18V lithium-ion battery packs, see tool/ appliance/ battery pack/ charger correlation supplement 987000-432.
PERSONAL SAFETY
- Stay alert, watch what you are doing and use common sense when operating a power tool. Do not use a power tool while you are tired or under the influence of drugs, alcohol or medication. A moment of inattention while operating power tools may result in serious personal injury.
- Use personal protective equipment. Always wear eye protection. Protective equipment such as a dust mask, non-skid safety shoes, hard hat, or hearing protection used for appropriate conditions will reduce personal injuries.
- Prevent unintentional starting. Ensure the switch is in the off-position before connecting to power source and/ or battery pack, picking up or carrying the tool. Carrying power tools with your finger on the switch or energizing power tools that have the switch on invites accidents.
- Remove any adjusting key or wrench before turning the power tool on. A wrench or a key left attached to a rotating part of the power tool may result in personal injury.
- Do not overreach. Keep proper footing and balance at all times. This enables better control of the power tool in unexpected situations.
- Dress properly. Do not wear loose clothing or jewelry. Keep your hair and clothing away from moving parts. Loose clothes, jewelry or long hair can be caught in moving parts.
- If devices are provided for the connection of dust extraction and collection facilities, ensure these are connected and properly used. Use of dust collection can reduce dustrelated hazards.
- Do not let familiarity gained from frequent use of tools allow you to become complacent and ignore tool safety principles. A careless action can cause severe injury within a fraction of a second.
- Do not wear loose clothing or jewelry. Contain long hair. Loose clothes, jewelry, or long hair can be drawn into air vents.
- Do not use on a ladder or unstable support. Stable footing on a solid surface enables better control of the power tool in unexpected situations.
POWER TOOL USE AND CARE
- Do not force the power tool. Use the correct power tool for your application. The correct power tool will do the job better and safer at the rate for which it was designed.
- Do not use the power tool if the switch does not turn it on and off. Any power tool that cannot be controlled with the switch is dangerous and must be repaired.
- Disconnect the plug from the power source and/or remove the battery pack, if detachable, from the power tool before making any adjustments, changing accessories, or storing power tools. Such preventive safety measures reduce the risk of starting the power tool accidentally.
- Store idle power tools out of the reach of children and do not allow persons unfamiliar with the power tool or these instructions to operate the power tool. Power tools are dangerous in the hands of untrained users.
- Maintain power tools and accessories. Check for misalignment or binding of moving parts, breakage of parts and any other condition that may affect the power tool’s operation. If damaged, have the power tool repaired before use. Many accidents are caused by poorly maintained power tools.
- Keep cutting tools sharp and clean. Properly maintained cutting tools with sharp cutting edges are less likely to bind and are easier to control.
- Use the power tool, accessories and tool bits etc. in accordance with these instructions, taking into account the working conditions and the work to be performed. Use of the power tool for operations different from those intended could result in a hazardous situation.
- Keep handles and grasping surfaces dry, clean and free from oil and grease. Slippery handles and grasping surfaces do not allow for safe handling and control of the tool in unexpected situations.
BATTERY TOOL USE AND CARE
- Recharge only with the charger specified by the manufacturer. A charger that is suitable for one type of battery pack may create a risk of fire when used with another battery pack.
- Use power tools only with specifically designated battery packs. Use of any other battery packs may create a risk of injury and fire.
- When battery pack is not in use, keep it away from other metal objects, like paper clips, coins, keys, nails, screws or other small metal objects, that can make a connection from one terminal to another. Shorting the battery terminals together may cause burns or a fire.
- Under abusive conditions, liquid may be ejected from the battery; avoid contact. If contact accidentally occurs, flush with water. If liquid contacts eyes, additionally seek medical help. Liquid ejected from the battery may cause irritation or burns.
- Do not use a battery pack or tool that is damaged or modified. Damaged or modified batteries may exhibit unpredictable behavior resulting in fire, explosion or risk of injury.
- Do not expose a battery pack or tool to fire or excessive temperature. Exposure to fire or temperature above 265° F may cause explosion.
- Follow all charging instructions and do not charge the battery pack or tool outside the temperature range specified in the instructions. Charging improperly or at temperatures outside the specified range may damage the battery and increase the risk of fire.
SERVICE
- Have your power tool serviced by a qualified repair person using only identical replacement parts. This will ensure that the safety of the power tool is maintained.
- Never service damaged battery packs. Service of battery packs should only be performed by the manufacturer or authorized service providers.
JIG SAW SAFETY WARNINGS
- Hold power tool by insulated gripping surfaces, when performing an operation where the cutting accessory may contact hidden wiring. Cutting accessory contacting a “live” wire may make exposed metal parts of the power tool “live” and could give the operator an electric shock.
- Use clamps or another practical way to secure and support the workpiece to a stable platform. Holding the workpiece by hand or against your body leaves it unstable and may lead to loss of control.
- Know your power tool. Read operator’s manual carefully. Learn its applications and limitations, as well as the specific potential hazards related to this power tool. Following this rule will reduce the risk of electric shock, fire, or serious injury.
- Always wear eye protection with side shields marked to comply with ANSI Z87.1 when assembling parts, operating the tool, or performing maintenance. Following this rule will reduce the risk of serious personal injury.
- Protect your lungs. Wear a face or dust mask if the operation is dusty. Following this rule will reduce the risk of serious personal injury.
- Protect your hearing. Wear hearing protection during extended periods of operation. Following this rule will reduce the risk of serious personal injury.
- Check damaged parts. Before further use of the tool, a guard or other part that is damaged should be carefully checked to determine that it will operate properly and perform its intended function. Check for alignment of moving parts, binding of moving parts, breakage of parts, mounting, and any other conditions that may affect its operation. A guard or other part that is damaged should be properly repaired or replaced by an authorized service center. Following this rule will reduce the risk of shock, fire, or serious injury.
- Inspect for and remove all nails from lumber before using this tool. Following this rule will reduce the risk of serious personal injury.
- Battery tools do not have to be plugged into an electrical outlet; therefore, they are always in operating condition. Be aware of possible hazards when not using your battery tool or when changing accessories. Following this rule will reduce the risk of electric shock, fire, or serious personal injury.
- Do not place battery tools or their batteries near fire or heat. This will reduce the risk of explosion and possibly injury.
- Do not crush, drop or damage battery pack. Do not use a battery pack or charger that has been dropped or received a sharp blow. A damaged battery is subject to explosion. Properly dispose of a dropped or damaged battery immediately.
- Batteries can explode in the presence of a source of ignition, such as a pilot light. To reduce the risk of serious personal injury, never use any cordless product in the presence of open flame. An exploded battery can propel debris and chemicals. If exposed, flush with water immediately.
- Under extreme usage or temperature conditions, battery leakage may occur. If liquid comes in contact with your skin, wash immediately with soap and water. If liquid gets into your eyes, flush them with clean water for at least 10 minutes, then seek immediate medical attention. Following this rule will reduce the risk of serious personal injury.
- Save these instructions. Refer to them frequently and use them to instruct others who may use this tool. If you loan someone this tool, loan them these instructions also.
SYMBOLS
The following signal words and meanings are intended to explain the levels of risk associated with this product.
| SYMBOL | SIGNAL | MEANING |
![]() | DANGER: | Indicates a hazardous situation, which, if not avoided, will result in death or serious injury. |
![]() | WARNING: | Indicates a hazardous situation, which, if not avoided, could result in death or serious injury. |
![]() | CAUTION: | Indicates a hazardous situation, that, if not avoided, may result in minor or moderate injury. |
| NOTICE: | (Without Safety Alert Symbol) Indicates information considered important, but not related to a potential injury (e.g. messages relating to property damage). |
Some of the following symbols may be used on this product. Please study them and learn their meaning. Proper interpretation of these symbols will allow you to operate the product better and safer.
| SYMBOL | NAME | DESIGNATION/EXPLANATION |
![]() | Safety Alert | Indicates a potential personal injury hazard. |
![]() | Read Operator’s Manual | To reduce the risk of injury, user must read and understand operator’s manual before using this product. |
![]() | Eye Protection | Always wear eye protection with side shields marked to comply with ANSI Z87.1. |
![]() | Wet Conditions Alert | Do not expose to rain or use in damp locations. |
![]() | No Hands Symbol | Failure to keep your hands away from the blade will result in serious personal injury. |
![]() | Recycle Symbol | This product uses lithium-ion (Li-ion) batteries. Local, state or federal laws may prohibit disposal of batteries in ordinary trash. Consult your local waste authority for information regarding available recycling and/or disposal options. |
| V | Volts | Voltage |
| min | Minutes | Time |
| Direct Current | Type or a characteristic of current | |
| no | No Load Speed | Rotational speed, at no load |
| …/min | Per Minute | Revolutions, strokes, surface speed, orbits etc., per minute |
FEATURES
PRODUCT SPECIFICATIONS
Length of Stroke …………………………. 1 in.
Strokes Per Minute ……………………… 0 – 3,000 /min. (SPM)
Cutting Angle ……………………………… 0° to 45° (Left and Right)
Orbital Motion ……………………………. 4 Settings
ASSEMBLY
WARNING:
Do not use this product if it is not completely assembled or if any parts appear to be missing or damaged. Use of a product that is not properly and completely assembled or with damaged or missing parts could result in serious personal injury.
WARNING:
Do not attempt to modify this product or create accessories or attachments not recommended for use with this product. Any such alteration or modification is misuse and could result in a hazardous condition leading to possible serious personal injury.
If any parts are damaged or missing, please call 1-800-525-2579 for assistance.
OPERATION
WARNING:
Do not allow familiarity with this product to make you careless. Remember that a careless fraction of a second is sufficient to inflict serious injury.
WARNING:
Always remove battery pack from the tool when you are assembling parts, making adjustments, cleaning, or when not in use. Removing battery pack will prevent accidental starting that could cause serious personal injury.
WARNING:
Always wear eye protection with side shields marked to comply with ANSI Z87.1.Failure to do so could result in objects being thrown into your eyes and other possible serious injuries.
WARNING:
Do not use any attachments or accessories not recommended by the manufacturer of this product. The use of attachments or accessories not recommended can result in serious personal injury.
WARNING:
To avoid possible serious injury, keep hands and fingers away from the area between the gear housing and saw blade clamp.
APPLICATIONS
You may use this product for the purposes listed below:
- Cutting all types of wood products (lumber, plywood, paneling, composition board and hard board)
- Cutting thin sheet metal
- Cutting plastics and laminates.
SWITCH TRIGGER
See Figures 1 and 2, page 11.
The lock-out button, located on the handle above the switch trigger, reduces the possibility of accidental starting.
- To turn the saw on: Slide lock-out button to the unlocked position, and press the switch trigger.
- To turn the saw off: Release the switch trigger.
INSTALLING/REMOVING BATTERY PACK
See Figure 3, page 11.
To install:
- Lock the switch trigger by sliding the lock-out button into the locked position.
- Insert the battery pack into the product as shown.
- Make sure the latches on each side of the battery pack snap into place and the battery pack is secured before beginning operation.
To remove:
- Lock the switch trigger by sliding the lock-out button into the locked position.
- Depress the latches on each side of the battery pack and remove the battery pack from the tool.
WARNING:
Battery products are always in operating condition. Therefore, the switch should always be locked when not in use or carrying at your side.
BLADE SELECTION
For best performance, always select a specific blade for the particular application and type of material you wish to cut. This will help create a smoother, faster cut and prolong blade life.
WARNING:
This tool is designed to work with T-shank blades. Using non-T-shank blades may result in blades coming loose from tool, resulting in personal injury or property damage.
INSTALLING/REMOVING BLADES
See Figure 4, page 12.
The toolless blade clamp design does not require the use of a blade wrench when installing or removing the blade.
- Remove the battery pack.
- Rotate the blade clamp away from the orbital adjustment knob until resistance is felt on the lever, and hold in place.
- Insert the saw blade as far as possible into the slot in the saw bar. Some resistance may be felt in doing this.
- Check to make sure the back of the saw blade is centered in the groove of the blade-support roller.
- Release the blade clamp. Make sure the blade is securely in place.
- Reinstall the battery pack.
NOTE: Check that the blade is inserted fully and completely secured. Blade will lock into position when correctly installed. Do not use the tool if the blade is not installed correctly.
To remove blades:
- Remove the battery pack.
- Allow blade to cool.
- Rotate the blade clamp away from the orbital adjustment knob until resistance is felt on the lever, and hold in place.
- Remove the saw blade.
GENERAL CUTTING
See Figure 5, page 12.
Rest the front of the saw base on the workpiece and align cutting edge of the blade with the line on your workpiece. Start the saw and move it forward on the work surface. Apply downward pressure to keep the saw steady and only enough forward pressure to keep the blade cutting. Do not force the saw. Forcing the saw may overheat the motor and break saw blades. Broken saw blades must be replaced with new saw blades.
NOTICE:
Do not force the saw. Forcing the saw may overheat the motor and break saw blades. Use clamps or another practical way to secure and support the workpiece to a stable platform.
STRAIGHT CUTTING
See Figure 5, page 12.
A straight cut can be made by clamping a piece of wood or straight edge to the workpiece and guiding the edge of the saw against it. Make the cut from one direction only; don’t cut halfway and complete the cut from the opposite end.
| Orbital Setting | Material Type | Suggested Blade Type | TPI (Teeth per inch) | Speed Setting | Orbital Action |
| 0 | Counter Top, Laminate Board | Wood Cutting Blade | 1 0 – 1 2 ( D o w n Stroke Blade) | Max Speed | No Orbit |
| Thin Sheet Metal | Metal Cutting Blade | 14-24 | Slow – Medium Speed | No Orbit | |
| 1 | Plastics and PVC | Wood Cutting Blade | 10-12 | Medium Speed | Minimal Orbit |
| Scrolling or Curving Cuts in Wood | Scrolling Wood Blade | 10-12 | Max Speed | Minimal Orbit | |
| 2 | Plywood, Decking and Hardwood | Wood Cutting Blade | 6-12 | Medium – Max Speed | Medium Orbit |
| 3 | General Lumber and Soft Wood | Wood Cutting Blade | 6-10 | Medium – Max Speed | Maximum Orbit |
ORBITAL MOTION
See Figure 6, page 12.
The blade of the saw cuts in an orbital motion. This feature is adjustable and provides faster, more efficient cutting. With orbital motion the blade cuts through the work on the upstroke but does not drag across the work on the downstroke. To adjust the orbital motion, rotate the orbital adjustment knob to the desired setting. Refer to the chart to find the right setting for your application.
NOTE: Setting the orbital position to a lower setting will result in a smoother finish but slower cut. A higher setting will result in a rougher finish but faster cut.
OPTIONAL EDGE GUIDE
(NOT INCLUDED)
See Figure 7, page 12.
An optional edge guide may be purchased separately. It can be used for making crosscuts and rip cuts.
- Remove the battery pack.
- Insert the edge guide through the two slots in the base of the saw.
- Adjust to the desired width and lock in place with the edge guide screw.
- Reinstall the battery pack.
SCROLL CUTTING
See Figure 8, page 12.
Scroll cuts can be made with the jig saw by guiding the direction of the cut with applied pressure on the handle as shown.
NOTE: Using blades specifically designed for scroll cutting will reduce stress on the saw and produce better cutting results.
WARNING:
Excessive side pressure to the blade could result in broken blades or damage to the material being cut. Broken blades could result in serious personal injury.
PLUNGE CUTTING
See Figure 9, page 13.
WARNING:
To avoid loss of control, broken blades, or damage to the material being cut, always use extreme caution when making plunge cuts. We do not recommend plunge cutting on materials other than wood.
To make plunge cuts using pilot holes:
- Mark the line of cut clearly on the workpiece.
- Drill a pilot hole inside the area marked by the line of cut. The pilot hole should be large enough to slide the blade through the material.
- Slowly lower the blade through the pilot hole in the workpiece until the base contacts the workpiece. Fully squeeze the switch trigger to start the saw.
- Do not move the base forward until the blade is entirely through the workpiece and the base is in complete contact with the workpiece.
- Move the saw forward to complete the opening.
To make plunge cuts without using pilot holes:
- Mark the line of cut clearly on the workpiece.
- Tilt the jig saw forward so that it rests on the front edge of the base and blade will not come in contact with the workpiece when the tool is turned on.
- Make sure the blade is aligned with the area to be cut.
- Fully squeeze the switch trigger and slowly lower the blade into the workpiece until the blade cuts through the workpiece.
- Continue lowering the blade into the workpiece until the base rests flat on the work surface, then move the jig saw forward to complete the opening.
- Use only the 7 teeth per inch blade for this type of cut.
BEVEL CUTTING (ANGLE CUTTING)
See Figures 10 – 11, page 13.
Bevel cutting angles may be adjusted from 0° to 45° right or left. Angles for cuts from 0° to 45° in 15° increments are marked on a scale on both the left and right side of the base. Notches on the underside of the base provide positive stops at each of the above mentioned 15° increments. A protractor is recommended when accurate cuts are required.
- Remove the battery pack.
- Remove the hex key from the storage compartment. Loosen the two base pivot screws until the base can be moved.
NOTE: Do not completely remove screws. - Slide the base backward until the base can move freely left and right.
- Align the pointer on the housing with the desired angle indicated on the scale on the saw base.
- Once the desired angle is reached, slide base forward until the tab on the motor housing aligns with the appropriate notch on the underside of the base.
NOTE: When making a set-up for accurate cuts with a protractor, or for angles other than the preset 15° increments, the positive stop notches on the underside of the base are not used. - Tighten the base pivot screws securely.
- Return the hex key to the storage compartment.
- Reinstall the battery pack.
METAL CUTTING
See Figure 12, page 13.
NOTE: The jig saw must be in the no-orbit mode to cut metals and conduit. Set the orbital adjustment knob to “0.” Refer to the Orbital Motion section earlier in this manual for more details.
Many kinds of metals can be cut with the saw using a metal cutting blade. Be careful not to twist or bend the blades. Do not force. If the blade chatters or vibrates excessively, use a finer-tooth metal-cutting blade. If blade heats excessively, use lower speed. If blade teeth become filled or clogged when cutting soft metals, such as aluminum, use a coarsertooth blade or lower speed. We recommend use of lubricant when cutting metals to keep blades cool, increase cutting action, and prolong blade life. Clamp the work firmly and saw close to the clamping point to eliminate any vibration of the work being cut.
When cutting conduit, pipe, or angle iron, clamp work in a vise if possible and saw close to the vise. To cut thin sheet materials, “sandwich” the material between hardboard or plywood and clamp the layers to eliminate vibration and material tearing. By doing this, the material will be cut smoothly. Lay out your pattern or line of cut on top of the “sandwich.”
NOTE: When cutting metal, keep exposed portion of saw bar clean and free of metal chips by wiping frequently with an oily cloth. Use extreme caution in disposing of oily cloth after completion of job to prevent potential fire hazard.
MAINTENANCE
WARNING:
When servicing, use only identical replacement parts. Use of any other parts could create a hazard or cause product damage.
GENERAL MAINTENANCE
Avoid using solvents when cleaning plastic parts. Most plastics are susceptible to damage from various types of commercial solvents and may be damaged by their use. Use clean cloths to remove dirt, dust, oil, grease, etc.
ACCESSORIES
Look for these accessories where you purchased this product or call 1-800-525-2579:
- Edge Guide Kit ……………………………………. 202936001
WARNING:
Current attachments and accessories available for use with this product are listed above. Do not use any attachments or accessories not recommended by the manufacturer of this product. The use of attachments or accessories not recommended can result in serious personal injury.
NOTE: ILLUSTRATIONS START ON PAGE 11
AFTER FRENCH AND SPANISH LANGUAGE SECTIONS.
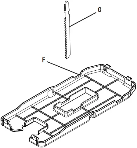
PCL525

A- Blade-support roller
B – Orbital adjustment knob
C – Switch trigger
D – Toolless blade clamp
E – Lock-out button
F – Non-marring shoe
G – T-shank saw blade
H – LED light
I – Hex key
Fig. 1

A – Switch trigger
B – Lock-out button
Fig. 2

A – Lock
B – Unlock
Fig. 3

A – Battery pack
B – Latches
Fig. 4

A – Toolless blade clamp
B – Saw blade
C – Blade support roller
Fig. 5

A – Workpiece
B – C-Clamp
C – Straight edge
Fig. 6

A – Orbital adjustment knob
B – To increase orbital setting
C – To decrease orbital setting
Fig. 7

A – Edge guide screw
B – Base
C – Optional edge guide (not included)
Fig. 8

Fig. 9

Fig. 10
SLIDE BASE BACKWARD TO ADJUST ANGLE SLIDE BASE FORWARD TO LOCK IN AT DESIRED ANGLE

A – Hex key
B – Base pivot screw
C – Base
D – Notches
E – Backward
F – Forward
Fig. 11

A – Base
B – Pointer
C – Tab (inside 0˚ positive stop)
D – 45˚ positive stop
E – Scale
Fig. 12

OPERATOR’S MANUAL/JIG SAW
PCL525
To request service, purchase replacement parts, locate an Authorized Service Center or obtain Customer or Technical Support:
Visit www.ryobitools.com or call 1-800-525-2579
If any parts or accessories are damaged or missing, do not return this product to the store. Call 1-800-525-2579 for immediate service.
Please obtain your model and serial number from the product data plate.
This product is covered under a 3-year limited Warranty. Proof of purchase is required.
MODEL NUMBER* ___________ SERIAL NUMBER _________________
*Model number on product may have additional letters at the end. These letters designate manufacturing information and should be provided when calling for service.
RYOBI is a registered trademark of Ryobi Limited and is used pursuant to a license granted by Ryobi Limited.
ONE WORLD TECHNOLOGIES, INC.
P.O. Box 1288, Anderson, SC 29622 • Phone 1-800-525-2579
États-Unis, Téléphone 1-800-525-2579 • USA, Teléfono 1-800-525-2579
www.ryobitools.com
998000795
10-9-21 (REV:04)
























