GLACIER BAY Huckleberry MR 32 Inch Mirror

Safety Information
DANGER
- Keep small parts away from children during assembly.
- Failure to follow warnings and cautions could result in serious injury.
- DO NOT use harsh bathroom cleaners or grout cleaners on any natural stone.
WARNING
- Read these instructions carefully and keep them in a safe place.
- Adult assembly is required.
- Do not over-tighten connectors (screws, bolts, etc.) Overtightening can lead to product damage.
- Small parts may present a choking hazard prior to assembly.
- Do not stand, step, or climb on the unit.
Caution
- USE preventative cleaning measures to keep your stone pristine.
- USE sealers according to the product-specific directions.
- Blot spills quickly, and wash with mild soap and warm water.
- Be sure to check all packing materials carefully for small parts that may have come loose inside the carton during shipment. If parts are missing, contact THE GLACIER BAY to obtain any missing parts.
- Using abrasive cleansers will damage the surface.
Warranty
LIMITED LIFETIME WARRANTY
- This warranty extends only to the original owner user for personal household use only. For commercial uses, additional limitations may apply.
- Glacier Bay warrants your satisfaction with each mirror. Should any mirror not meet your satisfaction due to a visual defect, simply return it to your retailer with the original packaging, PRIOR TO INSTALLATION, for a replacement.
- Glacier Bay warrants mirrors to be free from defects in workmanship and materials under normal use and service for a period of one (1) year.
- Glacier Bay will, at its election, repair, replace, or make appropriate adjustment where Glacier Bay optional inspection discloses any such defects occurring in normal usage within the warranty periods.
- Please note that Glacier Bay is not responsible for installation or removal costs.
- Modification of any mirror’s components may void the warranty. This warranty does not cover any claim arising from abuse, misuse, negligence, accident, improper installation or operation on the part of the purchaser. This warranty is void if Glacier Bay’s product is subject to alterations, or if repairs were done to the mirror unit.
- This warranty does not extend to any components installed by dealers, installers or by any party other than Glacier Bay.
- Implied warranties, including that of merchantability or fitness for a particular purpose, are expressly limited in duration to the duration of this warranty.
- Glacier Bay disclaims any liability for special, incidental or consequential damages.
WHAT IS COVERED
Glacier Bay products are manufactured with superior quality standards and workmanship and are backed by our limited lifetime warranty. Glacier Bay products are warranted to the original consumer purchaser to be free of defects in materials or workmanship. We will replace FREE OF CHARGE any product or parts that proves defective. Simply, return the product / part to any of THE Glacier Bay retail locations or call 1-855-434-5224 to receive the replacement item. Proof of purchase (original sales receipt) from the original consumer purchaser must be made available for all Glacier Bay warranty claims.
WHAT IS NOT COVERED
This warranty excludes incidental/consequential damages and failures due to misuse, abuse or normal wear and tear. This warranty excludes all industrial, commercial & business usage, whose purchasers are hereby extended a one-year limited warranty from the date of purchase, with all other terms of this warranty applying except the duration of warranty. Some states and provinces do not allow the exclusion or limitation of incidental or consequential damages, so the above limitations may not apply to you. This warranty gives you specific legal rights and you may also have other rights that vary from state to state and province to province. Please see a store or contact 1-855-434-5224 for more details.
Pre-assembly
PLANNING ASSEMBLY
Check the mirror for damage before installation. If any part of the mirror is missing or damaged, contact the Customer Service Team at 1-855-434-5224. Ensure that the mirror location is accessible to wall. It is suggested that you rough-in the wall before installing the mirror.
TOOLS REQUIRED 
PACKAGE CONTENTS
- A Mirror 1
- B Wall anchor 2
- C Screw 2
Assembly (Option#1)
Positioning for mirror
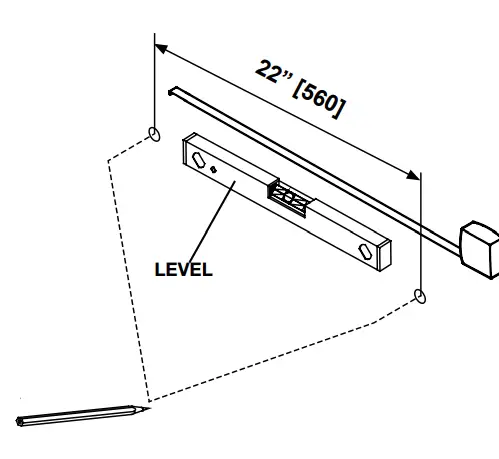
- Measure the distance between the centers of the hangers on the back of the mirror. Use a level to mark these two points on the wall.

NOTE: This mirror can be hanged by two directions
Drilling holes
- Gypsum wallboard or concrete walls: Drill pilot holes in the marked locations with a ø 8 mm / 5/16 in drill bit. Insert the wall anchors (B) using a rubber mallet until the wall anchors are flush with the wall.
- Solid wood walls: Drill pilot holes in the marked locations with a ø 2 mm / 1/16 in drill bit. Wall anchors are not necessary.

CAUTION: Wear a pair of rubber gloves to protect your hands.
Installing screws
- Install a screw in each wall anchor (if installing in wallboard or concrete), until the head of each screw is approximately 10mm / 3/8 in. away from the wall.

WARNING: Pull the screws firmly outward and downward to ensure that they are securely installed into the wall.
Hanging the mirror
- Hang the mirror on the screws using the hanger on the back of the mirror.

Assembly (Option#2)
Positioning for mirror
- Measure the distance between the centers of the hangers on the back of the mirror. Use a level to mark these two points on the wall.

NOTE: This mirror can be hanged by two directions.
Drilling holes
- Gypsum wallboard or concrete walls: Drill pilot holes in the marked locations with a ø 8 mm / 5/16 in drill bit. Insert the wall anchors (B) using a rubber mallet until the wall anchors are flush with the wall.
- Solid wood walls: Drill pilot holes in the marked locations with a ø 2 mm / 1/16 in drill bit. Wall anchors are not necessary.

CAUTION: Wear a pair of rubber gloves to protect your hands.
Installing screws
- Install a screw in each wall anchor (if installing in wallboard or concrete), until the head of each screw is approximately 10mm / 3/8 in. away from the wall.

WARNING: Pull the screws firmly outward and downward to ensure that they are securely installed into the wall.
Hanging the mirror
- Hang the mirror on the screws using the hanger on the back of the mirror.

Care and Cleaning
- For daily maintenance, use a wet cloth and a soft liquid cleaner.
- Never use abrasive cleaners or strong bleach, scrapers, metallic brushes, or other objects or any products which can graze or tarnish surfaces.



























