4016943 Lenlock One Light Wall Sconce
Instruction Manual
For Models:
19902 19903
19904 19905
19906 19907

4016943 Lenlock One Light Wall Sconce

1 Light Wall Sconce
Fixture weight ±2 lbs:
Peso ±2 lb: 3.06 lbs (1.39 kg)
Poids fixe ±2 lbs:
| Hardware Service Kit | ||
| Part | Model | Finish |
| KE99701214 | 19902 19905 | Brushed Nickel |
| KE99701834 | 19903 19906 | Noble Bronze |
| KE99701L24 | 19904 19907 | Palm Gold |
| Glass | ||
| Part # | Model | Type |
| KE30001045 | 19902 19903 19904 | Cased White Glass |
| KE30002046 | 19905 19906 19907 | Clear Seeded Glass |
INSTALLATION INSTRUCTIONS
![]()
- To avoid possible electrical shock, before installing your light fixture, disconnect the power by turning off the circuit breakers to the outlet box associated with the wall switch location.
- The lighting fixture must be grounded. If the ground wire for the installation site is not present, immediately STOP installation and consult a qualified electrician.
- All wiring must be in accordance with national and local electrical codes ANSI/NFPA 70. If you are unfamiliar with wiring or in doubt, consult a qualified electrician.
READ AND SAVE THESE INSTRUCTIONS
These instructions are provided for your safety. It is very important that they are read carefully and completely before beginning the installation of the lighting fixture.
PREPARING FOR INSTALLATION
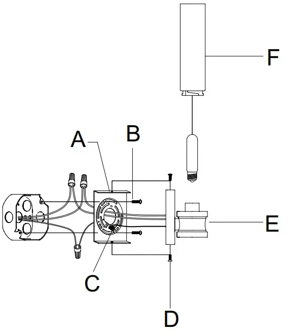
Carefully remove all contents from the carton. Shut off the power at the circuit breaker and completely remove the old fixture from the wall, including the old mounting bracket. Remove the new mounting bracket assembly from the bag. Pull the house wires through the center of the mounting plate (A). Secure the mounting plate (A) to the junction box by tightening the screws (B).

CONNECTING THE WIRES
Have a helper support the fixture’s weight while completing the wiring. Attach the fixture’s wires to the power supply wires from the junction box. Connect black to black (live); white to white (neutral);
grounding to grounding (green or copper). Twist the ends of the wire pairs together. Then, twist on a wire connector. Make sure all twists are in the same direction. Loop the fixture’s ground wire around the grounding screw (C) and tighten it. If there is no ground wire (green or copper) from the junction box, contact a qualified electrician.
FINISHING THE INSTALLATION
Place the fixture (E) over the mounting plate (A) making sure to align the holes of the fixture with the holes of the mounting plate. Secure the fixture with screws (D). Install the bulb according to the fixture specifications (not included).
Do not exceed the recommended wattage. Lift the glass (F) and align the notches in the glass with the tabs in the lamp cup (E). Attach the glass by lifting and turning clockwise one-third of a full turn of the glass until it stops. Turn on the power and test the fixture. For a vertical installation make sure the mounting plate (A) has folded sides with drilled holes at the top and bottom of the junction box. Your installation is now complete.
CLEANING TIPS
Treat the fixture gently! Regular cleaning will reduce the need for deep cleaning. For regular cleaning, turn off the light and wipe down the fixture with a clean lint-free cotton or microfiber cloth. Never spray the cleaner directly onto the fixture.


















