EUROSTER 4040 Smart Programmable Thermostat

Wireless, programmable thermostat for all types of heating and air-conditioning devices featuring remote control with a smartphone or tablet.
MANUFACTURER: P.H.P.U. AS, Chumiętki 4, 63-840 Krobia, Poland
In order to take full advantage of thermostat capabilities please read this installation and operation manual carefully.
This manual is intended for the 26.08.2021 version of the thermostat.
THERMOSTAT APPLICATION
Euroster 4040 Smart is a state-of-the-art wireless thermostat used to control the temperature inside living and utility rooms. It is used to control the operation of the CH boiler
and other heating system components. It controls electrical equipment, floor heating, and air-conditioning systems. Sensors used in Euroster 4040 Smart enable temperature read-out and programming accuracy of 0.1 °C. The thermostat operates with two temperature levels:
comfort (day
) temperature and economical (night
) temperature. Each temperature is modifiable within the range of 5 °C…35 °C. The thermostat is programmable in seven-day cycles with an accuracy of 0.5 hour, therefore it enables 48 temperature changes in 24 hours. It is possible to program different time ranges for each day of the week. The remote control feature enables the control of the thermostat from anywhere around the world.
The Android application may be downloaded from Google Play Store and the iOS application from App Store. The application configuration and operation manuals are available at http://www.euroster.pl.
BASIC THERMOSTAT FUNCTIONS
- does not require leading cable connections between the thermostat and the controlled device
- Control through dedicated mobile applications for iOS and Android systems
- Remote access by a user-friendly application in Polish
- Integrated Wi-Fi – no need to use gateways
- User-friendly thermostat enabling easy control of temperature in living and utility rooms
- Bidirectional radio communication ensures high operational reliability and resistance to interference
- Information on radio and Wi-Fi signal strength
- Clear, back-lit E-Ink display
- Two temperature levels: comfort and reduced
- 0.5-hour accuracy of range programming
- Simultaneous display of current and preset temperature value
- Thermostat interlock with a selectable 4-digit code
- Numerous useful functions: temporary temperature setting, constant temperature, vacation mode, discharged batteries indication
- Temperature read-out accuracy of 0.1 °C
- Possibility to switch the thermostat off with an active frost protection temperature after the heating season
- Temperature reading correction
- Surface mounting
4040 Smart THERMOSTAT VISIBLE ELEMENTS
BODY
a) Operation mode switch:
• In the heating mode, it switches on the battery-saving ECO mode.
• In thermostat cooling mode it switches between heating
and cooling
operation.
b) Thermostat control knob
c) Display.

DISPLAY
a) Current temperature
b) Clock
c) Preset temperature
d) Displayed information
e) Date and day of the week
f) Current program symbol

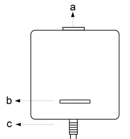
RX Smart RECEIVER VISIBLE ELEMENTS
a) Heating device continuous operation switch.
b) Setting button with signalizing LEDs.
c) Output cable.

INSTALLATION
Safety rules
CAUTION!
- Prior to the commencement of any installation works read this manual carefully! Incorrect installation and improper use may lead to serious hazards to users or other persons and result in property damage!
- Prior to mounting or dismantling the set make sure that the heating/cooling system is de-energized.
- Voltages hazardous to life may be present on thermostat connecting cables (power supply phase voltage), therefore only qualified technicians may install the thermostat!
- The electric connections performed and cables used shall be adequate to the applied loads and must conform to all requirements!
- Do not install the set in rooms with increased humidity; protect it against water and other liquids!
- Do not install any set showing signs of mechanical damage!
- The thermostat is not a safety component. Additional protection devices must be used in systems prone to the risk of damage due to the failure of control systems!
- The device is not intended for use by children!
- Should there be any problem with the proper operation of the thermostat, please contact your technician or the manufacturer!
CAUTION!
Euroster 4040 RX Smart Receiver and a heat emitting device must be powered from the same phase of the power system.
Selecting the place of thermostat installation
The thermostat is designed for indoor installation. No cables are connected to the thermostat, thus it can be placed anywhere. To ensure fully efficient operation of the thermostat, please make sure that the following recommendations regarding the location of the thermostat are observed:
- Locate the thermostat at the height of approximately 1.5 m above the floor Avoid places exposed to intense sunlight, situated near heating or cooling devices, directly by doors, windows, and other similar locations, where the temperature measurement could be easily disturbed by external conditions.
- Avoid places with poor air circulation, e.g. behind furniture.
- Avoid moist places due to the negative effect of moisture on the service life of the device.
Installation of the receiver
Insert the receiver into the 230 V power socket, as close as possible to the controlled device. The Wi-Fi module is built-in inside the receiver, thus you should ensure that the receiver is within the range of the Wi-Fi signal. You should also check the strength of the radio signal between the thermostat and the receiver.
Insertion and replacement of batteries
Place the batteries in the thermostat while observing their correct polarity. There are installation markings in the battery compartment. Then install (snap) the thermostat onto the base.
CAUTION! Use only alkaline AAA batteries to power the thermostat. Do not use rechargeable batteries because their voltage is lower and their effective time is shorter.
It is recommended to replace batteries before each heating season.
Sample Connection Diagrams
The following diagrams are simplified and do not cover all elements necessary for the correct installation.
In arrangement with a 230 V 50 Hz device
- Electrical connection block
- Output cable, using COM – NO contact (normally open)
- Euroster RX Smart (receiver)
- Euroster 4040 TX Smart placed in any room

In a system with a gas boiler
- Electrical connection block
- Output cable, using COM – NO contact (normally open)
- Euroster RX Smart (receiver)
- Euroster 4040 TX Smart placed in any room

USER SETTINGS
In this mode, you may set basic parameters and select functions. Enter settings by pressing the central button. Use
buttons to select the item you want to modify and press the central button again, then introduce changes and press
to exit the menu. The introduced changes are stored.
Switching the thermostat off
Hold the central button until the thermostat is switched off (approximately 5 seconds). Switching the thermostat off holds the temperature control indefinitely – a clock, weekday, current room temperature, and
icons are displayed. To restore temperature control hold the central button again for 5 s
Battery saving – ECO mode
When using the thermostat in the heating mode only, you may activate battery saving mode. Put the operation mode switch in the ECO position. The date and time will not be displayed, the time of thermostat response to the changes sent to and from the application will lengthen to 20 minutes. The weekly program will operate normally.
Manual (temporary) temperature change
The manual override function enables a temporary change of temperature without introducing changes in a program. The thermostat will operate according to the new temperature setting throughout the current program. With the beginning of the subsequent program the manual override is completed and the thermostat restores operation according to programmed temperatures.
To activate manual override set the desired temperature using
buttons. At this point, the manual override icon
is displayed. To finish the manual override earlier press the left
button.

Temperature level modification
Two temperature levels are available in the thermostat: comfort temperature and economical
temperature. These temperatures apply for all days of the week. Temperature values may be changed freely within the range of 5 °C…35 °C (in cabled sensor mode: 5 °C…85 °C). Factory
settings are the following: comfort temperature 21 °C, economical temperature 20 °C. To modify the temperature go to the menu, select item, and use the central button to select the temperature to be modified. Use
buttons to set the desired temperature. The longer the button remains pressed, the quicker the values change. Exit the menu by pressing
button or holding it for a few seconds.
Weekly program
A separate period is provided for each day of the week. Select
item in the menu. Abbreviated names of weekdays are displayed. Use the central button to tick a day or individual days to be modified (if an identical program is to be set for them). Use the right button to enter the period.
Use the left button to set the period for economical temperature and the right button to set the
period for comfort temperature. Whenever you press a button the temperature is programmed
for 0.5 hour.
Use
buttons to change the period of the range without changing the program, e.g. if it is necessary to correct the program. Confirm the introduced modifications with the central button. Exit the menu by pressing
button or holding it for a few seconds.

Temperature maintenance – constant temperature
The thermostat maintains the preset temperature regardless of the preset weekly program. To
activate operation with constant temperature setting go to the menu and select
. Use
buttons to set the desired temperature. Confirm the entered temperature with the central button. The constant temperature icon is displayed. At this point, the thermostat starts operating in constant temperature mode. To restore operation according to the weekly program, switch off the constant temperature function.
Vacation mode
Maintenance for a vacation period is used to set the desired temperature for the time of being away on vacation. It will allow you to significantly reduce heating system energy consumption. To switch to vacation mode go to the menu and select
. Use
buttons to set:
- the year when the vacation commences; confirm it with the central button
- the month and day when the vacation commences; confirm them with the central button
- the hour when the vacation commences; confirm it with the central button
- the year when the vacation ends; confirm it with the central button
- the month and day when the vacation ends; confirm them with the central button
- the hour when the vacation ends; confirm it with the central button
- the temperature applicable throughout the entire vacation mode period.
Confirm the settings with the central button. Upon its commencement, the vacation mode
icon is displayed.
THERMOSTAT SETTINGS 
In this menu you may change and select the following functions:

- Date/time
The date setting sequence is year > month > day. Using
buttons select a year. Confirm with the central button. Set a month and day. Follow the same procedure to set hours and minutes. - Weekday language
The thermostat may display weekdays in Polish, English, or using universal symbols, where 1 stands for Monday, 2 for Tuesday, etc. - Hysteresis/PWM
Two operational options of activating the heating (cooling) algorithm are available:
hysteresis or PWM.
In the case of hysteresis, the device is activated based only on a difference between the
preset and current temperature. To set hysteresis go to the menu and select
, then
select
. Use
buttons to change the hysteresis value (the range is 0.2 °C… 10 °C; the factory setting is: 0.2 °C).
PWM (
), is a more advanced method to achieve the preset temperature. It is suited for systems with underfloor water heating. It is used to limit room temperature fluctuations. Unlike in on/off controls the current status of the transmitter depends not only on the current difference between the preset and measured temperature but also on the past changes of temperature. For example, if the measured temperature is lower than the preset temperature for a long period, the thermostat switches the heating device permanently on. To activate this function it is necessary to set three additional operation parameters:
✓ CPH – maximum number of cycles per hour (3-10). The thermostat calculates the number of switch-ons and switch-offs (cycles) per hour (according to temperature changes).
✓ CON – cycle duration period (2-10). It is the minimum period (minutes) for which the thermostat switches the transmitter on each time.
✓ PB – control bandwidth (0.5 °C…3 °C). If the difference between the preset and measured temperature is included in the proportional control band, then the thermostat selects the switch-on and switch-off times. Outside of this band, the output is in continuous on or off operation. - Heating in advance
Activating this function results in switching the heating on earlier to obtain the preset temperature at the required time. The time of advance in switching the heating on is calculated with an advanced algorithm, taking into account previous room heat-up
times and the current temperature read-out. It takes the thermostat several days to calculate times for various temperatures correctly. To activate this function go to the thermostat menu and select
. - Thermostat interlock
The thermostat features a setting interlock function. A four-digit code of your choice
may be entered. In such a case it is not possible to change the settings. A setting interlock does not affect the thermostat operation. To activate the interlock go to the setting menu and select
, then use the
keys to enter your code. Activating the interlock is signaled with
icon. Follow the same steps to unlock the thermostat. This function is not active by default.
SERVICE SETTINGS
The service menu permits thermostat configuration according to the type of system. We suggest that you exercise special prudence when modifying these settings, because inappropriate settings may result in improper functioning of the system or, in extreme cases, lead to damaging system components.
To enter service settings press and hold for 5 seconds two buttons – the central and right buttons. The window presented below is displayed. Service settings are unavailable when the thermostat is switched off or batteries are flat. Navigate the menu the same way you did in previous windows. The service menu consists of the following elements:

- Air conditioning
Having selected air-conditioning mode the device connected to the thermostat will be switched on when the temperature increases above the preset level.
In air-conditioning mode, the function of the thermostat power switch changes and the switch is used to select between heating and cooling. Activating the air-conditioning operation enables the preset ranges to be replaced with different ones – the ranges stored for cooling. Returning to heating functions restores the previous ranges. This function enables the thermostat to operate with air-conditioning and heating without losing the settings. The
icon of the switched-on device also changes. - Selection of temperature sensor
This option permits the selection of a temperature sensor to cooperate with the thermostat. There are three operation modes available:
✓ the thermostat measures and maintains the temperature based only on internal sensor operation
✓ the thermostat measures and maintains the temperature based only on external (cabled) sensor operation
✓ the thermostat measures the temperature of both sensors; it maintains the temperature of an internal sensor, and the external sensor acts as a temperature limit. Having selected this operation mode set the floor temperature limit value. This parameter is used to establish the maximum safe floor temperature. When the preset temperature is reached, the device gets switched off.
✓ Temperature sensor correction. It is used to adjust the read-out within the range of +/- 5 °C. The function is convenient if the thermostat is located in a slightly warmer or cooler area of the room. Press the central button to introduce a change. Use
buttons to set the new value. Confirm with the central button.
CAUTION! The floor temperature sensor is not included in the basic kit. Please order it separately. Connecting the sensor requires changing the thermostat base, therefore wall-mounting becomes necessary.
- Wi-Fi
Enables checking the MAC address of the device. - Pairing mode
It is used to establish the radio connection between the thermostat and the receiver. Pairing mode is described in point 8.1. - Test Mode
In the test mode you may check the main parameters of the kit:
✓ Program version and compilation date
✓ RX receiver relay operation – use
button to change the status of the relay
✓ Internal sensor temperature measurement
✓ Cabled sensor temperature measurement (if installed)
✓ Backlight operation – use
to switch it on/off
✓ Light sensor operation
✓ Strength of the radio signal between the thermostat and the receiver (transmission and reception) - Reset
By selecting and confirming this item you restore the thermostat factory settings.
ERROR INDICATION
– no sensor, sensor short-circuit or damage
– discharged batteries
– no radio communication
– no Wi-Fi signal
RX RECEIVER SETTINGS
Establishing the connection between 4040 Smart thermostat and 4040RX Smart receiver
Each thermostat and each receiver have a unique number distinguishing them from other ones. It is not possible for any thermostat not paired with the particular receiver to interfere with the operation of another pair or set.
The thermostat may be paired with the receiver again at any time. A blackout, battery replacement as well as a complete reset of all thermostat settings do not affect the pairing of devices in any way.
Pairing procedure:
- Enter the service setting mode in the thermostat
- Select pairing mode
- Insert the receiver in the power socket
- Press the receiver button 3 times – the blue LED will light up
- After detecting the receiver digit 1 (the first receiver) will be displayed
- Press the central button and exit the menu Pairing mode will be finished.
Caution!
Pairing mode is available for 10 minutes after inserting the receiver into the power
socket!
Factory-established pairs are paired, however, pairing may be repeated if necessary.
Selection of operating mode
While holding its button pressed, insert the receiver into the power socket. Depending on the preset mode a green or red LED will light up. Each time the button is pressed the operating mode changes. When the mode is selected the receiver restores operation.
Green – normally open mode (COM – NO). It is the mainly used operation mode. While the device operation indicator is active, the output cables are shorted.
Red – normally closed mode (COM – NC). While the device operation indicator is active, the output cables are opened.
Caution! Normally open mode (COM – NO) is the factory setting.
FIRST START
When the receiver is plugged into the power socket it signals the relay operation mode. Flash of the green LED – normally open mode (COM – NO), flash of the red LED – normally closed mode (COM – NC).
Each change of the thermostat status (switching the heating on/off) is implemented immediately, whereas the signalization confirming reception of the transmitter radio signal is repeated every 15 minutes.
Radio signal strength
Information on the strength of the radio signal is shown with the confirmation of transmitter signal reception. Reception of the radio signal is confirmed with the green signal. Three flashes of the LED stand for a very strong connection, two flashes – good connection and one flash – sufficient connection.
No radio communication
If the communication between the thermostat and the receiver is interrupted (e.g. due to discharged batteries) and such a condition lasts for 60 minutes (no response from the receiver), the receiver will switch to the anti-frost mode. The heating device will be switched on for 20 minutes every 3 hours, to prevent extensive cooling of the rooms. At the time of reestablishing communication (replacement of batteries), the receiver switches the system off and automatically resumes operation.
No radio communication is signaled with the green diode flashing fast.
Continuous operation of the heating device (MAN)
In the case of system damage, it is possible to switch the heating on manually. Move the switch on the RX receiver to the MAN position. Such status is signaled with red (in the heating mode) or blue (in the cooling mode) LED flashing fast. Additionally, the “RX MANUAL” message is displayed on the thermostat.
The receiver signal chart
| Function | Signal |
| Pairing | Blue |
| Radio signal reception | Green |
| No signal | Green – flashing |
| Switching on the heating device | Red |
| Manual override in the heating mode | Red – flashing |
| Switching on the air-conditioning device on | Blue |
| Manual override in the air-conditioning mode | Blue – flashing |
| Wi-Fi connection reset | Alternately green & blue 3 times |
MAINTENANCE
Do not use solvents and aggressive detergents to clean the thermostat, since they may damage the surface of the housing and the display. Clean the thermostat housing with a soft cloth.
DIMENSIONS

TECHNICAL DATA
| Controlled device | heating / air-conditioning systems |
| Supply voltage | 3 V (2 pieces of alkaline AAA batteries) / receiver – 230 V 50 Hz |
| Receiver output | relay, voltage-free type, SPST |
| Maximum load | 5 A 230 V 50 Hz |
| Temperature measurement range | 0 °C…+100 °C |
| Temperature adjustment range | +5 °C…+35 °C |
| Temperature adjustment accuracy | 0.1 °C |
| Temperature reading accuracy | 0.1 °C |
| Hysteresis range | 0.2 °C… 10 °C with the step of the change of 0.1 °C or PWM mode |
| Visual signalization | Back-lit E Ink display |
| Operation temperature | +5 °C…+40 °C |
| Storage temperature | -10 °C…+50 °C |
| Ingress protection rating | IP20 |
| Color | white/gray |
| Mounting method | thermostat – stand / receiver – 230 V 50 Hz socket |
| Weight | Thermostat without batteries – 115 g Receiver – 185 g |
| Warranty period | 2 years |
| Frequency of radio operation | 868 MHz |
| Maximum power of transmission | < 25 mW |
| Thermostat class: | IV (PWM mode) |
| Thermostat contribution to the seasonal energy efficiency of room heating: | 2% (PWM mode) |
| Wi-Fi parameters | 2.4 GHz 802.11 b/g/n, WPA and WPA2 encryption |
KIT CONTENTS
- Euroster 4040 Smart thermostat
- RX Smart receiver
- 2 pieces of alkaline AAA batteries
- thermostat stand
- Installation and Operation Manual with Warranty Certificate
SIMPLIFIED DECLARATION OF CONFORMITY
P.H.P.U. AS AGNIESZKA SZYMAŃSKA-KACZYŃSKA hereby represents that the type of
EUROSTER 4040 Smart equipment conforms to the following directives: 2014/35/EU (LVD), 2014/30/EU (EMC), 2014/53/EU (RED), 2011/65/EU (RoHS).
The complete text of the Declaration of EU conformity is available at the following Internet
address: www.euroster.pl
ELECTRONIC WASTE MANAGEMENT INFORMATION
This product is designed and manufactured from high-quality materials and components suitable for reuse. The crossed-out wheelie bin symbol located on the product (Fig. 1) means that the product is subject to selective collection in accordance with the provisions of the Directive 2012/19/EU of the European Parliament and of the Council.
The product contains batteries, which are marked with a crossed-out wheelie bin symbol (Fig. 1). The batteries are subject to the selective collection in accordance with the provisions of the Directive 2006/66/EC of the European Parliament and of the Council. Such marking informs that the electrical and electronic equipment, as well as batteries and accumulators, may not be disposed of together with other household waste after their service life has ended. The user is obliged to take the used devices and batteries or accumulators to a point of collection of waste electrical and electronic equipment and batteries and accumulators. The entities collecting such equipment, including the local collection points, shops, and municipal entities, set up an appropriate system enabling the handover of such equipment and batteries and accumulators. The proper disposal of waste equipment, batteries, and accumulators contributes to the prevention of consequences hazardous to the health of persons and nature, resulting from the possible presence of hazardous components in the equipment and batteries and from inaccurate storage and processing of such equipment and batteries.
Households play an important role in contributing to reuse and recovery, including recycling, of waste equipment. The attitudes influencing the protection of the common good of a clean environment are shaped at this level. Households are also one of the larger users of small equipment and its rational management at this level impacts the recovery of recyclables.
Inaccurate disposal of this product may be penalized in accordance with national legislation.
WARRANTY CERTIFICATE
EUROSTER 4040 Smart Thermostat
Warranty terms:
- The warranty is valid for 24 months from the device sale date.
- Claimed thermostat together with this warranty certificate must be supplied to the seller.
- Warranty claims shall be processed within 14 business days from the date the manufacturer has received the claimed device.
- The device may be repaired exclusively by the manufacturer or by other party clearly authorized by the manufacturer.
- Warranty becomes invalidated in case of any mechanical damage, incorrect operation and/or making any repairs by unauthorized persons.
- This consumer warranty does not exclude, restrict nor suspend any right of the Buyer ensuing if the product would not meet any of the sale contract terms.
Business entity that issued this warranty certificate is:
P.H.P.U. AS Agnieszka Szymańska-Kaczyńska, Chumiętki 4, 63-840 Krobia, Poland


icon of the switched-on device also changes.



















