KAYOBA 021090 Snooker Table Mini
TOOLS YOU NEED

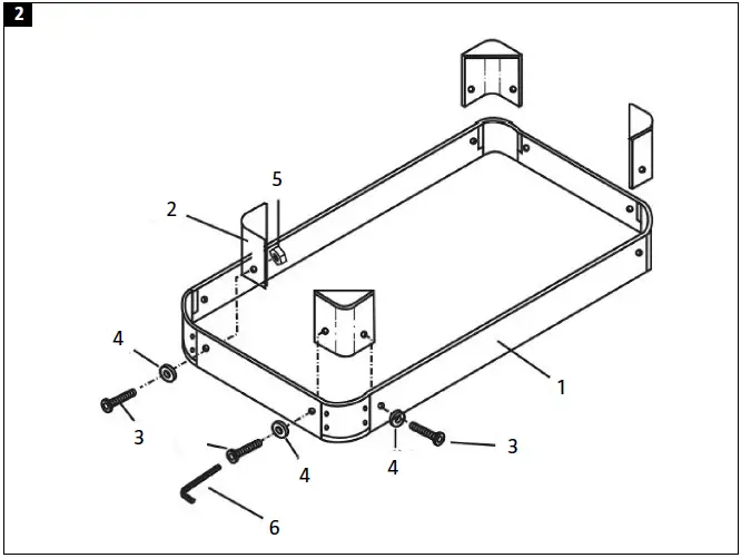
ASSEMBLE

Jula reserves the right to make changes.
For latest version of operating instructions, see www.jula.com
Jula AB, Box 363, SE-532 24 SKARA
2022-05-06
© Jula AB




Jula reserves the right to make changes.
For latest version of operating instructions, see www.jula.com
Jula AB, Box 363, SE-532 24 SKARA
2022-05-06
© Jula AB
Download manual
Here you can download full pdf version of manual, it may contain additional safety instructions, warranty information, FCC rules, etc.