LED Outdoor Light Post
Instruction Manual

Thank you for purchasing this light fitting. Please read the instructions carefully before use to ensure the safe and satisfactory operation of this product. Please retain these instructions for future reference.
Warning
This is a Class 1 product and must be earthed.
Please read these instructions carefully before commencing any work.
This unit must be fitted by a competent and qualified electrician.
Install in accordance with IEE Wiring regulations and current Building Regulations.
To prevent electrocution switch off at mains supply before installing or maintaining this fitting. Ensure other persons cannot restore the electrical supply without your knowledge. If you are in any doubt, please consult a qualified electrician.
This light fitting should be connected to a circuit with a 30mA RCD fit.
If replacing an existing fitting, make a careful note of the connections.
This system contains non-replaceable parts and cannot be serviced. If damage occurs the part should be scrapped.
Waste electrical products should not be disposed of with household waste. Please recycle where facilities exist.
Check with your local authority or retailer for recycling advice.
This product is not suitable for dimming.
This product is rated at IP44.
This product is not suitable for location in or near a marine or sea environment.
Specification
| Voltage: | 240V 50Hz a.c. |
| Lamp: | 3W LED Module |
| IP rating: | 44 |
Installation
Existing fittings must be completely removed before the installation of a new product. Before removing the existing fitting, carefully note the position of each set of wires.

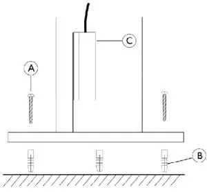
- Using a base plate as a template, mark the fixing holes onto the mounting surface.
- Drill holes to the necessary size and depth – taking care not to damage any concealed pipes or wiring below the mounting surface.
- We recommend fitting this product with screws (A) which are suitable for use on most surfaces, however, alternative fixings may be required.
- Push the plastic plugs (B) into the mounting holes as shown.
Wiring
Having correctly identified the wiring from your existing light fitting, pull the wire through the hole and connect to the connection block inside the product in the following way:

- Pull terminal block (D) from inside of the tube.
- Unscrew the 4 screws which attach the black box to the spacing strip. Open the black box and pull out the terminal block.
- Connect Live input wire to brown wire on the product (or terminal on terminal block marked ‘L’).
- Connect Neutral input wire to blue wire on the product (or terminal on terminal block marked ‘N’).
- Connect Input Earth wire (Green/yellow) to Earth wire on fitting,
- Check that you have correctly identified the supply wires, the connections are tight and that no loose strands have been left out of the connection block.
- Push terminal block back into the black box and refit the terminal block cover.
Check that…
- You have correctly identified the wires.
- The connections are tight.
- No loose strands have been left out of the connection block.
Commissioning
- Push the terminal block up into the tube.
- Locate the product in position and fit the screws to secure in place.
- Replace fuse or circuit breaker and switch on. Your light is now ready for use.
Fitting/Replacing Bulbs
This system contains non-replaceable parts and cannot be serviced.
Care and Cleaning
Do not use solvents or abrasive cleaners as these could damage the finish.
In normal circumstances, stainless steel is very resistant to corrosion. It does however require maintenance to preserve the high-quality appearance. Wash the product with warm soapy water, removing all surface deposits. Rinse with clear water and with a soft cloth, wipe dry.
In some cases, surface corrosion may arise after installation. This is normally caused by tiny iron particles left behind after the brushing process when finishing.
Wash and dry as detailed above. Then with a soft cloth soaked with protective oil, wipe all over.
However, if the product is subject to extreme environmental conditions such as marine locations, industrial pollution, and acid rain these maintenance procedures should be carried out around four times a year. For severe corrosion, non-abrasive cream cleaners or proprietary stainless steel cleaners should be used to remove the corrosion. Wash and dry as detailed above. Then with a soft cloth soaked with protective oil, wipe all over.
Do not clean the units with a pressure washer.
Recycling advice
Waste electrical products should not be disposed of with household waste. Please recycle where facilities exist. Check with your Local Authority or retailer for recycling advice.
Safety information
For your safety, always switch off the supply before changing lightbulbs, or cleaning.
This system contains non-replaceable parts and cannot be serviced. If damage occurs the part should be scrapped.
The LEDs are protected by a glass shade. The shade cannot be replaced, if the shade becomes cracked or damaged, this fitting must be discarded.

This product contains a light source of energy efficiency class F.
| UK Manufacturer: BH17 7BY | EU Manufacturer: 1 Gnarrenburg, 27442 |
20/09/2021

















