TT-150 Electric Conveyor Toaster
User Manual
Thank you for purchasing this range of appliances from our company.
Proper attention to preventative maintenance and scheduled maintenance procedures will prolong the life of the appliance.
Warning:
Improper installation, adjustment, alteration, service, or maintenance can cause property damage, injury, or death. Read the installation, operation, and maintenance instructions thoroughly before installing or servicing this appliance.
For your safety
Do not store gasoline or other flammable liquids in the vicinity of this or any other appliance.
WARNING: FIRE HAZARD
The area where the appliance is installed must be kept clear of combustibles and flammables. This includes mops, rags, grease, wrapping paper, and electrical cords.
Warning
Electrical Grounding Instructions
This appliance is equipped with a three-prong (grounding) plug for your protection against shock hazards and should be plugged directly into a properly grounded three-prong receptacle. Do not cut or remove the grounding prong from this plug.
Notice
This appliance is designed for use in non-combustible locations only. Install the appliance on a firm, level, non-combustible surface.
For servicing, a clearance of 6 inches (15cm) from the rear of the appliance to wall should be kept.
This kind of conveyor toaster is developed by our company. It absorbs the advantages of similar products at home and abroad. It is novel in design and reasonable in structure. It is easy to operate and maintain. It is made of stainless steel. The rotation speed of the belt can be adjusted to toast your desired bread. It is an ideal choice for hotels, super-markets, western food kitchens, fast-food chains, and other food industries.
General information
Proper installation, professional operation, and consistent maintenance of this appliance will ensure that it gives you the very best performance and long, economical life.
This instruction manual contains the information needed to properly install the appliance and to use and care for the appliance in a manner that will ensure its optimum performance. This manual is considered to be a permanent part of the appliance. This manual and supplied instruction, circuit diagrams, schematics, parts breakdown illustrations, notices, warnings, and naming plates must remain with the appliance if it is sold or moved to another location. It should be easily accessible for anyone carrying out the installation, servicing, and cleaning.
Adjust the speed of the conveyor to control the color of the toasting bread. The feed ramp can lead bread onto the conveyor. The toast crumb tray collects crumbs easily. The front and rear discharge can be changed to use by the mind. To ensure proper operation, please read this manual carefully before using it. After reading, keep this manual in a convenient place for further reference.
Technical Parameter
| Model | TT-150 | TT-300 | TT-450 |
| Voltage | 110V | 110V | 110 |
| Power(W) | 1340 | 2240 | 2640 |
| Frequency | 60 | 60 | 60 |
| Dimension | 418×288×387 | 418×368×387 | 418×468×387 |
| Efficiency (pcs/h) | 150 | 300 | 450 |
Additional parts installation
2.1. When the package was opened, get the above additional parts as follows: one down tray, one back tray, one guide net, and four adjustable feet.
2.2. First, install the four adjustable feet into the nuts which are at the bottom of the unit body. Then place the unit at the proper counter height. For the safe operation, adjust the adjustable feet to make the unit placed steadily.
2.3. Insert the hook of the crumb tray into the appliance and make sure it meets the stop pins as picture one shows. 
2.4. Down tray installation: Insert the down tray to the hook of the down tray from the back of the appliance following the arrowhead (picture two). 
2.5. Back tray installation: Insert the back tray to the hook of the back tray following the arrowhead (picture three). 
Electrical parts installation
3.1. Make sure the supplied voltage matches the rating voltage on the naming plate.
3.2. Make sure that the appliance is grounded safely. For convenient operation, never pile up the sundry goods near the switch.
Operation
4.1. When the power is on, the indicator will light, turn the knob COLOR CONTROL to the right until it reached the position “3” (notice: the speed of the chain net as fast as the color became lighten. When the gearshift switch was turned to the “BREAD” position, the upper heating element and the lower electric heating element will work simultaneously, and the inside temperature of the unit will go up. The temperature within the unit can reach the highest temperature 284℃ in twelve minutes if no bread is placed inside the unit. Then the temperature will remain at 284℃.
4.2. Before toasting, turn on the power and it will take approximately 10 to 12 minutes for the unit to warm up. Then try to toast two pieces of bread to see whether the color is good or not, and adjust the speed of the chain net to your own need. (Notice: The larger scale for the COLOR CONTROL is, the more slowly the chain nets rotate. The color of bread will deepen, and vice versa.) After adjusting the speed of the chain net, put the bread onto the chain net following the guiding net. The bread will go with the chain net into the inside of the unit.
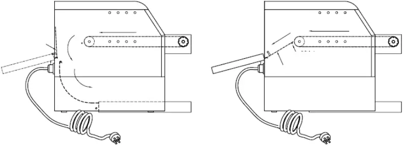
4.3. After the bread has been toasted well, put the bread into the down tray, the bread will follow the down tray to slip onto the lower crumb tray from the unit chamber as picture four shows.
4.4. If you want to get the bread at the back of the unit, draw the sliding board out of the unit. Then the back sliding board hook meets the pin which is near the chain wheel. The toasted bread will come out onto the back sliding board as picture five shows. Pull the pull ring and let the back sliding board return to its normal position after being used.
4.5. If toasting the steamed bun, turn the knob which on the right to the “BUNS” position, the upper electric heating elements working. I want to heat preservation, and turn it to the “STBY” position.
4.6. After using, turn the knob to the “OFF” position and pull the plug out.
4.7. If the wire is damaged, replace it with the manufacturer or service agent and the qualified person only.
Transportation and storage
In the process of transportation, the appliance should be handled carefully, preventing intense shaking. The packaged appliance should be stored in a well-ventilated area free of caustic air. It cannot be placed in the outside area and should never be put upside down Keep it dry and dust-free. Do not expose it to direct sunlight. Avoid mechanical shocks and vibrations If it is for temporary storage, the weather-proof method should be taken
Cleaning and maintenance
6.1. Before cleaning and repairing the unit, cut off the power in case of electric shock.
6.2 After finishing a day’s work, pull out the tray and clean it Use a piece of wet cloth dampened with a detergent solution that is not corrosive to clean the unit. Do not wash the unit with water jets
6.3 Never toast any food whose surface is covered by a lot of sugar, because the sugar will flow into the unit and cause contamination to the unit It may result in malfunctions of the unit
Notice
7.1 The voltage and phase of the power supply should match the one on the naming. plate
7.2 Operators should install a suitable switch, fuse protector, and three-prong receptacle
7.3 The appliance should be grounded safely. No insulation material should place between the body and the earth Make sure the appliance is grounded safely to avoid unnecessary electric shock.
7.4 Before using, be sure that the wire is not loose and the voltage is normal.
Daily checking
Check the appliance before and after use. Before using, make sure the appliance does not lean. Be certain that the power cord is not worn out or broken. When in use, make sure no unpleasant smell is present and there is no unusual noise.
Circuit diagram

HL1——Power indicator lamp ∞——Fan EHI, EH2——Electric heating elements
R——Speed regulator M——Motor QS.——Switch
Parts breakdown illustration

Spare parts
| NO | Description | Model & Specifications | Quantity | ||
| HET-150 | HET-300 | HET-450 | |||
| 1 | Power cord | 3×1.5m ㎡ | 3×1.5m ㎡ | 3×1.5m ㎡ | 1 |
| 2 | Indicator lamp. | 250V Green | 1 | ||
| 3 | Winding resistor | 30W 500Ω | 1 | ||
| 4 | Switch | 4924015000 | 1 | ||
| 5 | Fan | SF23080AT | DP200A | DP200A | 1 |
| 6 | Motor | QXYH6030M23G | 1 | ||
| 7 | The lower electric heating element | 220V 0.6kw | 220V 1.0kw | 220V 1.2kw | 1 |
| 8 | The upper electric heating element | 220V 0.7kw | 220V 1.2kw | 220V 1.4kw | 1 |


















