PYLONTECH amber rock Portable Energy Storage Power User Manual
Warning
Read the entire user manual and understand the features of this product before operating.
Faulty operation may result in damage to the product or personal property and cause serious injury. Pylontech will not bear any legal liability arising thereof. Don’t use components not provided or recommended by Pylontech. This manual contains instructions on safety, operation, maintenance, etc. It is important to read and follow all the instructions and warnings in the user manual before assembly, setup or use of the product. Otherwise, you will be failed to get after-sales service from Pylontech under warranty condition.
Safety Instructions
Product Use
- Keep the battery away from water. Liquid inside the device may cause short circuit, component failure, fire or even explosion.
- Be cautious with third-party components and check their specifications before use to avoid safety accidents.
- Keep the machine out of the reach of children. If children accidentally swallow parts, please seek assistance immediately.
- Do not use the battery at extreme environmental conditions such as of high temperature, humidity, altitude, or strong magnetic fields. Do not expose product in the sun. Otherwise, it might potentially affect the performance and cycle life of the battery.
- The battery should be used at temperature between 0˚C to 40˚C. Use of batteries in environment below 0˚C or above 40˚C, may trigger off battery self-protection and shutdown spontaneously.
Allow the batteries to return to a normal operating temperature before use. - Never disassemble the battery in any way. Otherwise it may damage or suffer from the risk of electric shock. Contact local service center when maintenance is in need.
- The display of battery capacity level is only for reference. Please refer to the actual condition.
- Do not wrap the battery while it is running.
- Do not place heavy objects on the machine.
- Do not operate the battery with wet hand. Do not insert your fingers or other items into the machine. Otherwise it may incur the risk of electric shock.
- Do not hit or shake the battery when use it.
- Always use charger which conforms with the regulation of AC output.
Product Charging
- Use Pylontech approved charger to charge the Battery. Over-voltage charging might potentially cause battery damage or even catch on fire.
- When charging the battery with PV, connect it with MPPT and ensure that the output voltage and current of MPPT are set in an appropriate range.
- Do not charge the battery in high temperature. Keep it away from the fire and avoid the direct sunlight during charging.
- During charging, it is normal that the adapter may heat up in the appropriate range.
- When the battery is completely discharged, please recharge it within 12 hours. The battery will be irreversibly damaged if it stays fully discharged for a long time.
Product Transportation and Storage
- Store the battery in a dry environment. The battery will enter hibernation mode if depleted and stored for along period. Keep recharging the battery every three months.
- For long period storage, ensure that the battery has sufficient power (more than 3 bars of power left ).
- Transport the battery in accordance with the local laws and regulations. Properly package and firmly installation should be a must to prevent the battery from violent impact or shake during transportation.
- Do not carry the battery on plane.
Product Battery Disposal
Do not dispose the battery in ordinary trash. Strictly follow your local regulations regarding the battery disposal and recycle.
Function Instructions
Intelligent Management Function
The device is equipped with BMS intelligent management function for real-time monitoring of data like the voltage,current and temperature of the battery. And it also has protection functions for over-voltage, over-current, over-temperature, under-voltage, under-temperature and fault detection.
When voltage of the battery pack or battery cell is lower than the set value, the system will automatically shut down after 30 seconds of delay.
Integrated intelligent management function can monitor output status in real time and it doesn’t need an independent switch to control each output.
No Load Auto-Shutdown Function
When the charger is not in place and the output power of all ports remains less than 2 W for 40 minutes, the system will shut down automatically.
Fault Detection Function
The battery will stop charging and discharging in the event of breakdown of components and other malfunction, and the failure symbol will show on the screen. Users can shut down the device after fault occurs.
Capacity Expansion Function
An extendable battery pack can be connected with the main battery to enlarge capacity.
When connect batteries in parallel, turn on the switch of extendable battery pack after its secure connection.
When the connection is successful, the screen will show a relevant hint.
AR500’s Feature
On/Off Button
Press the On/Off button for 0.5 seconds and the device will start up. When no charger is connected, press the On/Off button for 0.5 seconds to shut down the device. If the device fails to shut down because of component breakdown, press the On/Off button for 15 seconds for forced shutdown.
Wireless Charging
A wireless charging transmitter has been built in with a maximum output power of 15W, which can supply power for wireless loads meeting the QI standards.
The built-in foreign object automatic identification of the wireless charging could ensure safety when an illegal device is placed.
Align the wireless charging receiver with the wireless charging label to ensure the charging efficiency.
DC JACK 5521 Port
The device has 2 DC JACK ports, with maximum output of 3A.It is equiped with DC adapter appropriate for more ports.
DC JACK port is self-protected and self-restored without any indications.
Cigarette Lighter Port
The built-in output port for vehicle cigarette lighter, with a maximum output current of 10 A, is able to supply power for vehicle-mounted devices.
The port has over-current/short-circuit protection functions. After over-current or short-circuit protection is triggered off, a sign will be displayed on the screen. The protection can be done by shortly pressing the On/Off button. If the protection is triggered off for 3 times consecutively, the device will no longer try to restore the output.
AC Switch
The AC output port has an independent control switch, red for off and green for on.
LCD Screen
The LCD screen of the device can display battery’s power level, AC output status, and alarms, etc. in real time.
When the device is on standby for 5 minutes, the screen will turn off its backlight. After it is connected with the load or the switch is gently tapped, the backlight will turn on again.
USB-A Port
USB-A fast charging port is compatible with various fast charging protocols, with a maximum power of 24W. The USB fast charging module has load monitoring function. When all of 2 USB ports are used at the same time, the device will dynamically adjust the output voltage and current to ensure load safety.
USB-C Port
USB-C fast charging port is compatible with various charging protocols, with a maximum power of 27W.
The USB fast charging port has functions of short circuit and over-current protections.
AC Output Port
The AC inverter has protection functions, such as overload protection, over temperature protection, under-voltage protection, and over-voltage protection.
If the protection is activated during use, remove the load and restart the AC switch.
The AC maximum output is 300VA. The protection will be activated after 15 seconds duration of 1.3 times overload.Before use, ensure that the load power factor is over 0.8.
(* Depending on the version of the machine, the AC output ports will be different)
Fan
The intelligent air cooling of the device will start up or shut down based on the dynamic information such as internal temperature, output power and etc.
Charging Ports
The device is equipped with two charging ports which are quick charging and standard charging.
Power-on activation function is available. If the charger is plugged in when the device is off, the system will automatically start up. When the charger is in place, the device cannot be shut down.
Charging with grid: the device has a 4A standard charger and a 12A quick charger, which can be fully charged in 9 hours and 3 hours respectively.
Charging with photovoltaic: the device can be charged with connection to the MPPT module of 12V output platform.
Charging with vehicle cigarette lighter: the device can be charged with the cigarette lighter port of a vehicle with an engine displacement under 4.0L. The device’s charging capacity depends on the voltage of the lead-acid battery of the vehicle. When the voltage of the lead-acid battery is lower than or equal to the device’s battery voltage, charging will stop.
During charging, the equipment has over-voltage and over-current protection functions.
LED Switch
LED lighting modes can be adjusted through the LED switch.
Operation details: press the On/Off button briefly to turn on LED and the brightness is normal mode; press the button briefly again, and the LED shifts to the brighter mode; press the button for the third time, flashing mode for SOS helping will be activated; briefly press the button for the fourth time, and the LED light will go out. the LED can be turned off with a long press of the button under any mode mentioned above.
LED Light
LED lighting is available on the device. The user can adjust its brightness (2 options, bright or brighter) and switch to SOS flashing for help.
User Interface Introduction
| Symbol | Name | Function |
![]() | Starting Up | The battery is turned on. |
| SHUTTING DOWN . . . | Shutting Down | The battery is shut down. |
| Upgrading | The battery is being upgraded. | |
![]() | Charger in Place | When the charger is plugged in, a sign will be displayed on the screen to inform the user that the charging device has been connected. |
![]() | Extendable battery pack in Place | When the extendable battery pack is connected, the LCD screen will display the symbol to tell the user that it is connected. |
![]() | Battery Capacity | Each bar refers to 20% of the capacity |
![]() | Fully Charged | When the battery is fully charged, the symbol will be displayed. |
![]() | AC Status | AC switch status |
Protection Symbols
| Symbol | Trouble | Troubleshooting |
![]() | AC protection: the alarm symbol will be displayed on the screen when the protection is activated by AC output over-current, overload, over-temperature, and short circuit. | Firstly, please find the cause of the trouble and then restart the AC switch. If the problem is solved, AC output will be restored. |
![]() | This symbol will be displayed on the screen when over-current or short circuit protection of the cigarette lighter port is activated. | Please remove the load and tap the On/Off button to restore the output of cigarette lighter port. |
![]() | Limited to the nature of lithium battery, when the battery temperature is higher than 55˚C or lower than 0˚C, the battery is not suitable for charging, the screen will display this symbol and charging will be interrupted. | Charging will restart as the temperature of lithium battery goes back to 3~50˚C. |
![]() | Limited to the nature of lithium battery, when the battery temperature is higher than 60˚C or lower than -15˚C, the battery is not suitable for discharging, the screen will display this symbol and charging will be interrupted. | The device will restart discharging after the temperature of lithium battery goes back to 0~55˚C |
| When the battery is running low, the device will turn off the output and display low battery protection symbol. | The system will shut down automatically after this symbol shows for 30 seconds. | |
| When the input power of the device is lower than the output power and the battery is running low, the device will shift to the Charge-First mode. | Under this mode, the device will shut down all energy output until the battery level goes up to over 30%, and the DC output will resume. However, the AC output still remains closed. The AC output must be turned on manually, which is a step designed to ensure the safety of the user. | |
![]() | This symbol shows when the system detects hardware failures. | Please turn off the device and contact maintenance personnel. |
![]() | This symbol shows when the over-voltage or over-current protection is activated during charging. | Please check the specifications of the charger and figure out whether the output voltage matches. Illegal chargers may damage the device, or even cause fire and other serious consequences. |
Charging with Utility Power
Charging with Utility Power

Connect with AC to charge the device
Standard Charging with Utility Power

Standard charging: connect the standard charging cable with the low-power port, and it takes less than 10 hours for the device to be fully charged.
Fast Charging with Utility Power

12A Fast charging: connect the fast-charging cable with the high-power port and it takes less than 3 hours for the device to be fully charged.
25A Fast charging: connect the fast-charging cable with the high-power port and it takes less than 1.5 hours for the device to be fully charged.
Cigarette Lighter/Expansion Pack
Charging with Vehicle Cigarette Lighter

Connect with the vehicle cigarette lighter to charge the device

Connect the cigarette lighter cable with the standard charging port
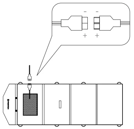
Capacity Expansion
the expansion pack under the device
the expansion pack above the device
Connect the portable power station with expansion pack through a connection cable to expand the capacity.
Charging with PV
Charging with PV

The photovoltaic panel charges the device through a cable.
Fast Charging/Standard Charging with PV

Standard charging: connect the standard charging cable with the low-power port.

Fast charging: connect the fast-charging cable with the high-power port.
Diagram of PV Connection

Connect with Pylontech Standard PV Panel

Connect with Other Matched PV Panel
Specifications
Charging
- Charging Voltage 14.8VDC
- Max. Charging Current 25A
AC Output
- Max. Output Power 300VA
- Output Voltage 220/110/100 VAC±5%
- Output Frequency
50Hz @ 220VAC/ 50Hz @ 230VAC
60Hz @ 110VAC/ 60Hz @ 100VAC - Overload Capacity 1.3 times overload for 15S
Cigarette Lighter
- Max. Current 10A
- Over-Current Protection Threshold 12A
DC-JACK
- Max. Current 2 Ports, 3A in total
- Ports Number 1 Group* 2 Ports
USB
- Output Voltage 5V~12V
- Output Power Type-A Max. 24W/Type-C Max. 27W
- Type of Connection USB Type-A/USB Type-C
LED Lighting
- Output Power 1.5W(Low Intensity)
- Output Power 6W(High Intensity)
- SOS Helping Available
Wireless Charging
- Output Power 5W / 7.5W / 10W / 15W
- Field strength 80.85dBuv/m@3m (only for CE)
- Fequency 110-148kHz
- Foreign Object Identification Available
Structural Information
- Dimensions 303*198*160mm
- Net Weight 6.5Kg
- Protection Class IP20
- Cooling Air Cooling
Environmental Specifications
- Recommended Working Temperature 0~45˚C
- Storage and Transportation Temperature, Short Term -20˚C ~ +60˚C
- Storage and Transportation Temperature, Long Term 25˚C±5˚C
- Humidity 0~95% @no condensing
- Altitude 2000m @1 standard atmospheric pressure, derating needed at above 2000m
Frequently Asked Questions and Answers
Q: Why the AC function doesn’t work and the AC protection sign is displayed on the screen while the AC switch is on?
A: To ensure the safety of users, the AC port does not automatically restore the output until the AC protection status is manually cleared. When the temperature protection or low power protection is removed, please restart the AC switch manually or restart the device to restore the AC function.
When the temperature goes out of the range or the battery capacity is too low, the device will automatically turn on its self-protection; the AC function can only be turned on manually when the temperature is in the range or the battery is up to a certain level.
Q: I bought a MPPT module, could you tell me how to connect and configure it?
A: Please follow the instructions in MPPT operation manual to connect the MPPT module with AR500. The MPPT output voltage shall be set to 14.8V, while output current shall not be higher than 18A. If the set voltage is higher than 20V, it will damage the components.
Q: Why does it take longer to charge when I use the wireless charging function?
A: Please align the screen-printed wireless charging label on the device with the power source.
Positional shift may reduce the charging efficiency.
Q: Why doesn’t my phone display fast charging symbol when I use two USB-A ports to charge it simultaneously?
A: Only one of them is used, the fast charging function of the USB-A port starts work. If you want to use fast charging to charge two external devices at the same time, using one USB A port and one USB-C port simultaneously can make it.
Q: Why can’t the device be shut down during charging?
A: This device has a charging activation function. During charging, the device is activated, and the external charger provides power for the device, so it cannot be shut down.
Q: The rated power of the device hasn’t reached 300W, but why has the protection function of AR500 already been activated?
A: Some electrical appliances, such as electric drills, fans, etc., have large capacitance or inductive components in their internal power supply section, called inductive or capacitive loads.
Although the rated power of these two loads is not high, their actual power and peak power are much higher than their rated power. Especially for inductive load, when it starts working there will be a peak power, and its starting power is several times or even dozens of times as much as the rated power. Capacitive and inductive loads mainly include: electric fans, motors, air conditioners, electric drills, and equipment with built-in power switches.
FCC Statement
This equipment has been tested and found to comply with the limits for a Class B digital device, pursuant to part 15 of the FCC Rules. These limits are designed to provide reasonable protection against harmful interference in a residential installation.
This equipment generates, uses and can radiate radio frequency energy and, if not installed and used in accordance with the instructions, may cause harmful interference to radio communications. However, there is no guarantee that interference will not occur in a particular installation. If this equipment does cause harmful interference to radio or television reception, which can be determined by turning the equipment off and on, the user is encouraged to try to correct the interference by one or more of the following measures:
- Reorient or relocate the receiving antenna.
- Increase the separation between the equipment and receiver.
- Connect the equipment into an outlet on a circuit different from that to which the receiver is connected.
- Consult the dealer or an experienced radio/TV technician for help.
FCC Radiation Exposure Statement
This device complies with FCC radiation exposure limits set forth for an uncontrolled environment and it also complies with Part 15 of the FCC RF Rules. This equipment must be installed and operated in accordance with provided instructions and the antenna(s) used for this transmitter must be installed to provide a separation distance of at least 20 cm from all persons and must not be co-located or operating in conjunction with any other antenna or transmitter. End-users and installers must be provided with antenna installation instructions and consider removing the no-collocation statement.
This device complies with Part 15 of the FCC Rules. Operation is subject to the following two conditions:
- this device may not cause harmful interference, and
- this device must accept any interference received, including interference that may cause undesired operation.
Caution!
Any changes or modifications not expressly approved by the party responsible for compliance could void the user’s authority to operate the equipment.
EU Declaration of Conformity
Hereby, Pylon Technologies, Co. Ltd. declares that the radio equipment type wireless charger(AR500)is in compliance with Directive 2014/53/EU.
The full text of the EU declaration of conformity is available at the following internet address: https://en.pylontech.com.cn/
![]()































