Ecosonique Technology
Portable Power Station
P303 User Manual
ABOUT THE UNIT
Thank you for purchasing our multi-function portable generator. In the event of a power failure, severe weather conditions, or while on the road and away from home, the P303 can charge your electronic devices quickly and conveniently. The P303 provides USB, DC, and AC output and will keep your devices up and running when you need it the most. Before using this unit, please read the user manual carefully and refer to it as needed.
PRODUCT PARAMETERS
| Capacity | 296Wh(or 80000mAh,3.7V) | |
| Built-in Battery | High-Quality Lithium-Ion Batteries | |
| Charging Methods | Adapter(DC 15V/4A) | |
| Car charger(12-20V/5A, 21-25V/1A) | ||
| Solar panels(12-20V/5A, 21-25V/1A) | ||
| Type-C PD(5V2.4A, 9V, 12V, I5V/3A 20V/5A) | ||
| Charging time | Adapter:7-8 hours (60W) | |
| Car charger: 10-12 hours(30W) | ||
| Solar panel: 5-6 hours (100W solar panel charger) | ||
| Type-C PD: 5-6 hours (100W) | ||
| Output | 4 * AC | 110V/300W Max(380W for 3s,peak 600W for 1s):60Hz |
| USB | 5V/2A (Max) | |
| 1 * QC | 5V/3A. 9V/2A. 12V/1.5A(Max) | |
| 1 * Type-C | 5V2.4A/9V/12V/I5V 3A,20V/5A (Max) | |
| 4 * DC | 12V/10A 120W4)5.5mm | |
| 1′ Car charger port | 12V/10A,120W (Maximum 150W for 4DC and 1 car charger) | |
| LED | 4 modes (Low-Medium-High-SOS) 18W/5001m | |
| Cycle life | >500 times | |
| Weight | 3KG | |
| Size | 215*150*205mm/8.46*5.9*8.07inches | |
| Working temperature | -10-40°C | |
| Storage temperature | -10-40°C | |
| Packing included | 1 x portable power station; 1 x wall charger; 1 x car charger(Car charger -DC5521); 1 x DC-DC converter; 1 x instruction manual | |
PRODUCT PARAMETERS


PRODUCT INSTRUCTION
How to provide power for AC appliances?

- Press and hold the power button “
for 2S to turn on the device, the LED screen lights up and shows the remaining power; - Press and hold the AC control switch button for 2S, the AC indicator on the screen will light up, then connect the power cord of the electrical appliance to the AC power socket, this power station starts to power your devices.
* Short-circuit/Overload Protection: If the AC output is short-circuited or overloaded (Load power>300W), the generator will turn off the AC output to protect itself. Please resolve the problem and press the AC button again to restart
* Note that even if the electrical wattage used is less than 300W, sometimes this product will not work due to sudden excessive current. In the event a device exceeds 300W, the P303 will shut down and go into over-power protection mode. Please remove the electrical equipment and consult the equipment manufacturer for more information. Then press the AC button again to get AC output.
* When the AC ports are no longer in use, please turn it off to conserve battery by pressing and holding the AC control button or by turning off the entire power station by pressing and holding the power control button.
* The output voltage frequency of this product is 60Hz and cannot be switched to 50Hz. Please confirm that the working voltage frequency of the connected electrical appliances is 60Hz before use. If electrical appliances connected aren’t 60Hz, it may cause malfunction.
How to provide power for USB smart devices?

- Press and hold the power button “
” for 2S to turn on the device, and the LED screen will light up to display the remaining power; - Connect the standard USB cable of the digital device to the USB interface of this product, and the USB output will provide power for the digital device. Then the USB OUT /Type-C OUT indicator on the screen will light up.
* The maximum input/output of the USB-C is 100W, 5V/3A, 9V/2A, 12V/3A, 15V/3A, 20V/5A (MAX), is compatible with smart devices that support PD fast charging agreement, such as mobile phones or tablets. The actual charging voltage and current are related to your smart device used. You can consult the device manufacturer to obtain the corresponding information.
* This product supports Qualcomm Quick Charge 3.0 output technology. The output supports 5V/3A, 9V/2A, 12V/1.5A max and is compatible with smart devices that support Qualcomm Quick Charge 3.0 technology, such as mobile phones or tablets. The actual charging voltage and current are related to your smart device used. Please refer to the manufacturer’s power specification label on the device.
* The USB ports with the intelligent power-saving mode. When there is no device connected or the device is fully charged, the USB output will be automatically turned off within 30 seconds; you can also touch and hold the power button to turn it off after the charging.
How to power vehicle equipment or devices with a DC55 interface?


- Press and hold the power button ”
” for 2S to turn on the device, the LED screen lights up, and displays the remaining power; - Press the DC control switch button and the DC OUT indicator on the screen will light up;
- Connect the standard 5.5mm cable of your device/ car charger cable to the 55x21mm port/car charger female port of this product. This unit will provide power to your device.
* The output voltage of the DC/car charger socket of this product is 12-16.8V;
* The total output of the four DC 5.5mm ports is 10A while the max output of the car charger socket is 10A. When both the 5.5mm ports are used in conjunction with the car charger socket, the combined total output is 12.5A. If you have any problems, we suggest you contact the manufacturer of the device to obtain the corresponding information.
* When the DC ports are no longer in use, please turn it off to save battery. You can short press the DC control button to turn off the DC output, or long-press the power control button to turn off the entire product.
How to use the LED function
- Long press the power button ”
” for 2S to turn on the device, the LED screen lights up and display the remaining power; - Long press the LED control switch button, the LED light will come on, and the bulb-shaped indicator on the screen will light up.
* The LED lighting function has four modes: Low-Medium-High-SOS, switch by short pressing. You can long-press the LED Switch to turn off the lighting function in any mode.
How to charge this unit?

- Connect the AC wall adapter to the P303 and it will immediately begin
- While the P303 is charging, the battery state of charge indicator will continue to
- When the P303 is fully charged the battery indicator will remain Please unplug it promptly from the wall after charging is complete.
* Please use a specified charger to charge this product.
* Please use the attached adapter for charging.
* Please do not use the adapter if it is damaged.
* During the charging, the adapter will heat up, which is normal. In a confined space, the adapter will become very hot, please do not use it for a long time. And please do not touch it for a long time to avoid burns.
* The cooling fan runs at high speed according to the input power to prevent the inside from heating up.
* During the charging process, it may take some time to fully charge the remaining few percent of the battery. This is the protection for the internal battery status and prevents the battery from overcharging.
Charged by Solar Panel

- Place the solar panel toward the sunlight, then connect the power station to the solar panel with the 5mm interface cable for charging.
- When the battery icon flashes on the screen, it means that the machine is charging and will display the current charging power level.
- When all the battery icons on the screen are displayed and no longer flashing, it means the product is full Please remove the charging cable in time.
* During the charging, it may take some time to fully charge the remaining few percent of the battery. This is the protection for the internal battery status and prevents the battery from overcharging.
* It takes about 5-6 hours (standard) to fully charge when connecting 100W solar panel. Please note that this is the standard charging time under ideal conditions.
* The DC input comes with an intelligent protection function. When the input voltage is below 5-20V, the maximum input current is 5A; when the input voltage is above 20 and below 25V, the maximum input current is 1A. If the input voltage is greater than 26V, the protection function will automatically start and stop charging.
* When charged from the sunlight, please do not expose the product to the sun in order to avoid shortening the product life.
* If the sunlight is not enough, the charging power will be influenced and the charging time will be prolonged; please do not use solar panels for charging in cloudy or thunderous weather.
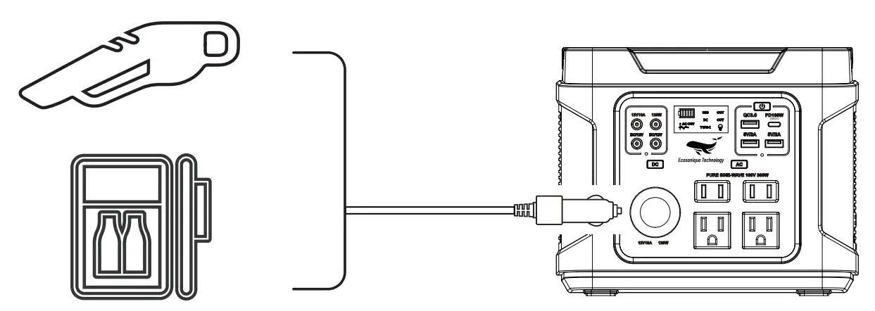
Charged by Car Charger

- Use the supplied cable to connect the car’s power port to the P303 for 12v car charging.
- While the P303 is charging, the battery state of charge indicator will continue to flash.
- When the P303 is fully charged, the battery indicator will remain solid. Please unplug it promptly from the power port after charging is complete.
* Please note that the top few remaining percent of the charging process will take longer in order to prevent the P303’s battery from being overcharged.
* Please note that this form of charging is only suited for vehicles with 12V power ports available.
* When the vehicle’s battery is low, the P303’s low input voltage sensor will detect it and stop the charging process in order to prevent draining the vehicle’s battery.
Charge with USB PD Charger

The power station supports 100W PD charging (PD charger sold separately).
Please use the charger with PD fast charging.
- Connect the PD charger to the USB-C (Type-C) port as shown in the figure;
- While the P303 is charging, the battery state of charge indicator will continue to flash.
- When the P303 is fully charged, the battery indicator will remain solid. Please unplug it promptly from the power port after charging is complete.
* During the charging process, it may take some time to fully charge the remaining few percent of the battery. This is the protection for the internal battery and prevents the battery from overcharging.
* Please note that while the PD port is used to charge the P303, the remaining USB ports as well as the AC ports will be disabled.
* In order to take full advantage of the PD 100W charging capabilities, the P303 requires a USB-C cable that supports 100W fast charging. Please consult the cable manufacturer for details.
* The P303 supports charging with the PD port and the AC wall charger simultaneously for faster charging.
Security and maintenance
- Do not short-circuit the unit. Please keep the unit away from all metal objects (e.g. coins, hair-pins, keys, etc.) to avoid short-circuiting.
- Keep the P303 away from fire, liquids, and direct sunlight.
- Keep away from high humidity and dusty places.
- Do not disassemble or reassemble this unit.
- Do not drop or hit the product strongly.
- Children must use this product under adult supervision.
- Do not cover the device with towels, clothing, and another item.
- The unit may become hot when charging. This is normal. Please be careful while using.
- Disconnect the unit when fully charged
- Use the unit properly to avoid electronic shock.
- Please deal with scrap products in accordance with the local regulations, do not treat the built-in battery as household garbage, so as not to cause the explosion and pollution.
- The P303 is best suited for small appliances that use less than 300 watts Please refer to the manufacturer’s label on the appliance for details.
Tips
a. This product has a built-in high-quality original lithium-ion battery, no memory effect, large capacity and But we still recommend the user uses it at the temperature of 10°C-30°C to obtain the optimal charging capacity;
b. In order to avoid interference, please try to stay away from TV, radio, and other equipment while charging;
c. Please disconnect the charging cable before storing if you don’t use it for a long time;
d. Some portable electronic devices may need to be set in the charging mode before being charged.
For more information, please refer to the corresponding device manual;
e. In order to extend the service life (lithium battery), we suggest you charge it at least once every 3 months when you don’t use it for a long time.
Attention
This manual describes the recommended usage of the P303. Do not attempt to alter the hardware or firmware. The pictures in this manual are for references only and may differ from the actual product.
Pure Sine Wave output
The unit provides Modified Sine Wave output and can be compatible with AC electric appliance that works with Sinusoidal waveform(power <300W). But the working efficiency will be different from AC alternating current, and it may even cause some electrical appliances with built-in motors (such as fans, printers with motors, etc.) to emit a certain amount of operating noise. Please note it is normal.
This product is used for home, outdoors and emergency, it can’t replace the normal alternating current. For long-term use, please use the power station with specifications required by the electrical appliances.
Use in cold weather
Due to the chemical characteristics of the battery, the capacity will be affected in cold weather (Below 0°C). If you live in a cold place and cannot use AC power from the grid, we recommend you store this unit in a temperature-isolated place and connect to a power source. The heat naturally generated during the charging process will help this product to be in the best capacity possible.
Recycle
Please send used electronic products, batteries, and packaging materials to a special collection place. It will help to promote material recycling.
Battery information
This device has a built-in non-removable rechargeable battery. Do not try to remove the battery to avoid damages. The battery can be charged and discharged hundreds of times, but it will eventually die.
Warranty
Our company provides customers with a warranty of 18 months from the date of purchase.
Contact
For any inquiries or comments concerning our products, please contact us at [email protected] , and we will get back to you with a response as soon as possible.


















