
OPERATOR’S MANUAL

18 VOLT BRUSHLESS RECIPROCATING SAW SCIE ALTERNATIVE 18 V SANS BALAI SIERRA ALTERNATIVA DE 18 V SIN ESCOBILLAS
R8647
To register your RIDGID product, please visit: register.ridgidpower.com
WARNING:
To reduce the risk of injury, the user must read and understand the operator’s manual before using this product.
SAVE THIS MANUAL FOR FUTURE REFERENCE
GENERAL POWER TOOL SAFETY WARNINGS
WARNING
Read all safety warnings, instructions, illustrations, and specifications provided with this power tool. Failure to follow all instructions listed below may result in electric shock, fire, and/or serious injury.
Save all warnings and instructions for future reference. The term “power tool” in the warnings refers to your mains-operated (corded) power tool or battery-operated (cordless) power tool.
WORK AREA SAFETY
- Keep the work area clean and well-lit. Cluttered or dark areas invite accidents.
- Do not operate power tools in explosive atmospheres, such as in the presence of flammable liquids, gases, or dust. Power tools create sparks that may ignite dust or fumes.
- Keep children and bystanders away while operating a power tool. Distractions can cause you to lose control.
ELECTRICAL SAFETY
- Power tool plugs must match the outlet. Never modify the plug in any way. Do not use any adapter plugs with earthed (grounded) power tools. Unmodified plugs and matching outlets will reduce the risk of electric shock.
- Avoid body contact with earthed or grounded surfaces, such as pipes, radiators, ranges, and refrigerators. There is an increased risk of electric shock if your body is earthed or grounded.
- Do not expose power tools to rain or wet conditions. Water entering a power tool will increase the risk of electric shock.
- Do not abuse the cord. Never use the cord for carrying, pulling, or unplugging the power tool. Keep cord away from heat, oil, sharp edges, or moving parts. Damaged or entangled cords increase the risk of electric shock.
- When operating a power tool outdoors, use an extension cord suitable for outdoor use. The use of a cord suitable for outdoor use reduces the risk of electric shock.
- If operating a power tool in a damp location is unavoidable, use a ground fault circuit interrupter (GFCI) protected supply. The use of a GFCI reduces the risk of electric shock.
- Use the battery only with the charger listed. For use with 18V lithium-ion battery packs, see tool/appliance/battery pack/charger correlation supplement 988000-302.
PERSONAL SAFETY
- Stay alert, watch what you are doing, and use common sense when operating a power tool. Do not use a power tool while you are tired or under the influence of drugs, alcohol, or medication. A moment of inattention while operating power tools may result in serious personal injury.
- Use personal protective equipment. Always wear eye protection. Protective equipment such as dust masks, nonskid safety shoes, hard hats, or hearing protection used for appropriate conditions will reduce personal injuries.
- Prevent unintentional starting. Ensure the switch is in the off-position before connecting to a power source and/or battery pack, picking up or carrying the tool. Carrying power tools with your finger on the switch or energizing power tools that have the switch on invites accidents.
- Remove any adjusting key or wrench before turning the power tool on. A wrench or a key left attached to a rotating part of the power tool may result in personal injury.
- Do not overreach. Keep proper footing and balance at all times. This enables better control of the power tool in unexpected situations.
- Dress properly. Do not wear loose clothing or jewelry. Keep your hair and clothing away from moving parts. Loose clothes, jewelry, or long hair can be caught in moving parts.
- If devices are provided for the connection of dust extraction and collection facilities, ensure these are connected and properly used. The use of dust collection can reduce dust-related hazards.
- Do not let familiarity gained from frequent use of tools allow you to become complacent and ignore tool safety principles. A careless action can cause severe injury within a fraction of a second.
- Do not wear loose clothing or jewelry. Contain long hair. Loose clothes, jewelry, or long hair can be drawn into air vents.
- Do not use a ladder or on unstable support. Stable footing on a solid surface enables better control of the power tool in unexpected situations.
POWER TOOL USE AND CARE
- Do not force the power tool. Use the correct power tool for your application. The correct power tool will do the job better and safer at the rate at which it was designed.
- Do not use the power tool if the switch does not turn on and off. Any power tool that cannot be controlled with the switch is dangerous and must be repaired.
- Disconnect the plug from the power source and/or remove the battery pack, if detachable, from the power tool before making any adjustments, changing accessories, or storing power tools. Such preventive safety measures reduce the risk of starting the power tool accidentally.
- Store idle power tools out of the reach of children and do not allow persons unfamiliar with the power tool or these instructions to operate the power tool. Power tools are dangerous in the hands of untrained users.
- Maintain power tools and accessories. Check for misalignment or binding of moving parts, breakage of parts, and any other condition that may affect the power tool’s operation. If damaged, have the power tool repaired before use. Many accidents are caused by poorly maintained power tools.
- Keep cutting tools sharp and clean. Properly maintained cutting tools with sharp cutting edges are less likely to bind and are easier to control.
- Use the power tool, accessories and tool bits, etc. in accordance with these instructions, taking into account the working conditions and the work to be performed. Use of the power tool for operations different from those intended could result in a hazardous situation.
- Keep handles and grasping surfaces dry, clean, and free from oil and grease. Slippery handles and grasping surfaces do not allow for safe handling and control of the tool in unexpected situations.
BATTERY TOOL USE AND CARE
- Recharge only with the charger specified by the manufacturer. A charger that is suitable for one type of battery pack may create a risk of fire when used with another battery pack.
- Use power tools only with specifically designated battery packs. The use of any other battery packs may create a risk of injury and fire.
- When the battery pack is not in use, keep it away from other metal objects, like paper clips, coins, keys, nails, screws, or other small metal objects, that can make a connection from one terminal to another. Shorting the battery terminals together may cause burns or a fire.
- Under abusive conditions, liquid may be ejected from the battery; avoid contact. If contact accidentally occurs, flush with water. If liquid contacts the eyes, additionally seek medical-cal help. Liquid ejected from the battery may cause irritation or burns.
- Do not use a battery pack or tool that is damaged or modified. Damaged or modified batteries may exhibit unpredictable behavior resulting in fire, explosion, or risk of injury.
- Do not expose a battery pack or tool to fire or excessive temperature. Exposure to fire or temperature above 265°F may cause an explosion.
- Follow all charging instructions and do not charge the battery pack or tool outside the temperature range specified in the instructions. Charging improperly or at temperatures outside the specified range may damage the battery and increase the risk of fire.
SERVICE
- Have your power tool serviced by a qualified repair person using only identical replacement parts. This will ensure that the safety of the power tool is maintained.
- Never service damaged battery packs. Service of battery packs should only be performed by the manufacturer or authorized service providers.
SAFETY INSTRUCTIONS FOR RECIPROCATING SAWS
- Hold the power tool by insulated gripping surfaces, when performing an operation where the cutting accessory may contact hidden wiring. Cutting accessory contacting a “live” wire may make exposed metal parts of the power tool “live” and could give the operator an electric shock.
- Use clamps or another practical way to secure and support the workpiece to a stable platform. Holding the workpiece by hand or against your body leaves it unstable and may lead to loss of control.
- Know your power tool. Read the operator’s manual carefully. Learn its applications and limitations, as well as the specific potential hazards related to this tool. Following this rule will reduce the risk of electric shock, fire, or serious injury.
- Always wear eye protection with side shields marked to comply with ANSI Z87.1. Following this rule will reduce the risk of serious personal injury.
- Protect your lungs. Wear a face or dust mask if the operation is dusty. Following this rule will reduce the risk of serious personal injury.
- Protect your hearing. Wear hearing protection during extended periods of operation. Following this rule will reduce the risk of serious personal injury.
- Battery tools do not have to be plugged into an electrical outlet; therefore, they are always in operating condition. Be aware of possible hazards when not using your battery tool or when changing accessories. Following this rule will reduce the risk of electric shock, fire, or serious personal injury.
- Do not place battery tools or their batteries near fire or heat. This will reduce the risk of explosion and possibly injury.
- Never use a battery that has been dropped or received a sharp blow. A damaged battery is subject to explosion. Properly dispose of a dropped or damaged battery immediately.
- Batteries can explode in the presence of a source of ignition, such as a pilot light. To reduce the risk of serious personal injury, never use any cordless product in the presence of an open flame. An exploded battery can propel debris and chemicals. If exposed, flush with water immediately.
- Do not charge the battery tool in a damp or wet location. Do not use, store, or charge battery packs or products in locations where the temperature is less than 50°F or more than 100°F. Do not store outside or in vehicles.
- Under extreme usage or temperature conditions, battery leakage may occur. If liquid comes in contact with your skin, wash immediately with soap and water. If liquid gets into your eyes, flush them with clean water for at least 10 minutes, then seek immediate medical attention. Following this rule will reduce the risk of serious personal injury.
- Save these instructions. Refer to them frequently and use them to instruct others who may use this tool. If you loan someone this tool, loan them these instructions also.
SYMBOLS
| The following signal words and meanings are intended to explain the levels of risk associated with this product. | ||
SYMBOL | SIGNAL | MEANING |
| DANGER: | Indicates a hazardous situation, which, if not avoided, will result in death or serious injury. | |
| WARNING: | Indicates a hazardous situation, which, if not avoided, could result in death or serious injury. | |
| CAUTION: | Indicates a hazardous situation, that, if not avoided, may result in minor or moderate injury. | |
| NOTICE: | (Without Safety Alert Symbol) Indicates information considered important, but not related to a potential injury (e.g. messages relating to property damage). | |
| Some of the following symbols may be used on this product. Please study them and learn their meaning. Proper interpretation of these symbols will allow you to operate the product better and safer. | ||
| SYMBOL | SIGNAL | DESIGNATION/EXPLANATION |
![]() | Safety Alert | Indicates a potential personal injury hazard. |
| Read Operator’s Manual | To reduce the risk of injury, users must read and understand the operator’s manual before using this product. | |
![]() | Eye Protection | Always wear eye protection with side shields marked to comply with ANSI Z87.1. |
![]() | Wet Conditions Alert | Do not expose to rain or use in damp locations. |
![]() | No Hands Symbol | Failure to keep your hands away from the blade will result in serious personal injury. |
![]() | Recycle Symbol | This product uses lithium-ion (Li-ion) batteries. Local, state, or federal laws may prohibit the disposal of batteries in ordinary trash. Consult your local waste authority for information regarding available recycling and/or disposal options. |
V | Volts | Voltage |
min | Minutes | Time |
| Direct Current | Type or a characteristic of current | |
| No Load Speed | Rotational speed, at no load | |
…/min | Per Minute | Revolutions, strokes, surface speed, orbits, etc., per minute |
FEATURES
PRODUCT SPECIFICATIONS
Stroke Length …………………………………………………………………………………………………………………………………………. 1-1/4 in.
No Load Speed ……………………………………………………………………………………………………………………….. 0-3,200/min (SPM)
assembly
WARNING: Do not use this product if it is not completely assembled or if any parts appear to be missing or damaged. Use of a product that is not properly and completely assembled or with damaged or missing parts could result in serious personal injury.
WARNING:
Do not attempt to modify this product or create accessories not recommended for use with this product. Any such alteration or modification is misused and could result in a hazardous condition leading to possible serious personal injury.
OPERATION
WARNING: Do not allow familiarity with products to make you careless. Remember that a careless fraction of a second is sufficient to inflict severe injury.
WARNING: Always remove the battery pack form your tool when you are assembling parts, making adjustments, cleaning, or when not in use. Removing the battery pack will prevent accidental starting that could cause serious personal injury.
WARNING:
Always wear eye protection with side shields marked to comply with ANSI Z87.1. Failure to do so could result in objects being thrown into your eyes resulting in possible serious injury.
WARNING:
Do not use any attachments or accessories not recommended by the manufacturer of this product. The use of attachments or accessories not recommended can result in serious personal injury.
APPLICATIONS
You may use this product for the purposes listed below:
- Cutting all types of wood products (lumber, plywood, paneling, composition board, and hardwood)
- Cutting masonite and plastic
- Cutting drywall
- Cutting metals such as sheet steel, pipe, steel rods, aluminum, brass, and copper
WARNING:
Battery tools are always in operating condition. Lock the switch when not in use or carrying at your side, when installing or removing the battery pack, and when installing or removing the blade.
USING THE RAFTER HOOK
See Figure 1, page 9.
WARNING:
Do not use the rafter hook to hang the tool from your body. Do not suspend the tool overhead. Suspend only from stable and secure locations.
The tool can be mounted to 2x wood material using the rafter hook.
To use the rafter hook:
- Lock the switch trigger by sliding the lock-off button into the lock position.
- Swing the rafter hook out and hang the tool on a suitable, stable structure.
WARNING:
Battery tools are always in operating condition. Always remove the battery pack from your tool when you are assembling parts, making adjustments, cleaning, or when not in use. Removing the battery pack will prevent accidental starting that could cause serious personal injury.
INSTALLING/REMOVING BATTERY PACK
See Figures 2 – 3, page 9.
To install:
- Lock the switch trigger by sliding the lock-off button into the lock position.
- Place the battery pack into the saw. Align the raised ribs on the battery pack with the grooves inside the saw.
- Make sure the latches on each side of the battery pack snap into place and the battery pack is secured in the tool before beginning operation.
To remove:
- Lock the switch trigger by sliding the lock-off button into the lock position.
- Depress the latches on the side of the battery pack. For complete charging instructions, see the operator’s manual for your battery pack and charger.
OVERLOAD PROTECTION
When the tool is forced or overloaded, the Li-ion battery pack will automatically shut off the tool. To reset the tool, release the trigger and resume operation. If the tool still does not resume operation, remove and reinsert the battery. Do not force the tool.
HIGH-TEMPERATURE PROTECTION
Li-ion battery packs are equipped with a high-temperature protection feature that automatically deactivates the tool when it is overheated. To resume operation, allow the tool to cool and then squeeze the trigger.
SELECTING BLADES
Selecting the correct type of blade is important in order to obtain the best performance from the saw. Select the blade based on the application and on the material you wish to cut. Selecting the right blade will give you a smoother, faster cut and prolong the life of the blade.
Blades with fewer teeth, 10 teeth per inch (TPI) are typically used for cutting wood, while blades with more teeth are better for cutting metal or plastic. We recommend 14 TPI for plastics and soft metals and 18 TPI for hard metals.
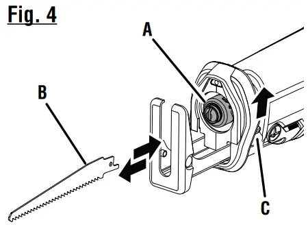
INSTALLING/REMOVING BLADE
See Figure 4, page 9.
To install the blade:
- Remove the battery pack.
- Raise the blade clamp lever and hold it to open.
- Insert the saw blade until it is fully seated.
NOTE: The blade can be installed with teeth facing either up or down. - Release the blade clamp lever to secure.
To remove the blade:
- Raise the blade clamp lever.
- Remove the blade from the saw.
CHANGING POSITIONS OF THE SHOE ASSEMBLY
See Figures 5 – 6, page 9.
The length of the shoe is adjustable, and the pivot angle of the shoe adjusts automatically to the angle of the cut.
To change the length of the shoe assembly:
- Remove the battery pack from the saw.
- Unlock the shoe release lever by pulling it downward.
- Reposition the shoe assembly.
- Lock the shoe release lever by pushing it toward the saw.
- The shoe assembly will not lock into place if it is extended too far. Make sure the shoe assembly is securely locked before replacing the battery pack.
TURNING THE SAW ON/OFF
See Figure 7, page 10.
- To turn the saw on: Slide the lock-off button to the unlock position, and press the switch trigger.
- To turn the saw off: Release the switch trigger.
CAUTION:
The lock-off button should be in the lock position when the saw is not in use or is being transported.
VARIABLE SPEED
The variable speed switch trigger delivers a higher speed with increased trigger pressure and a lower speed with decreased trigger pressure.
LED LIGHT
See Figure 8, page 10.
The LED light, located above the blade clamp, illuminates when the switch trigger is depressed. The light will fade off when the switch is released.
ORBITAL ACTION SELECTOR
See Figure 9, page 10.
Use the orbital action selector to select either a linear stroke or orbital cutting action. A linear stroke is best for making smooth cuts while orbital action is best for making a faster cut.
- For linear cutting, turn the selector to the “OFF” position.
- For orbital cutting action, turn the selector to the “ON” position.
NOTE: To prevent damage to the tool, always allow the motor to come to a complete stop before using the orbital action selector.
NOTE: Do not use the orbital action setting when using a metal cutting blade.
OPERATING THE SAW
See Figure 10, page 10.
- Secure the workpiece to a workbench or table with a vise or with clamps.
- Mark the line of cut clearly.
- Make sure the saw blade teeth are clean of any debris or foreign material.
- Hold the saw firmly in front of and clearly away from you.
- Slide the lock-off button to the unlock position and depress the switch trigger to start the cutting action.
- Set the shoe assembly against the workpiece.
- Move the blade into the workpiece.
NOTE: Do not force. Use only enough pressure to keep the saw cutting. Let the blade and saw do the work. Keep pressure on the shoe, against the workpiece.
PLUNGE CUTTING WOOD OR WALLBOARD
See Figure 11, page 10.
- Secure the workpiece to a workbench or table with a vise or with clamps.
- Mark the line of cut clearly.
- Make sure the saw blade teeth are clean of any debris or foreign material.
- Hold the saw firmly in front of and clearly away from you.
- Choose a convenient starting point inside the cutting area and place the tip of the blade over that point.
- Rest the front edge of the shoe assembly on the workpiece and hold it firmly in position during the cut.
- Slide the lock-off button to the unlock position and depress the switch trigger. Allow the saw blade to reach full cutting speed.
WARNING:
Make sure the blade does not touch the workpiece until the motor reaches full speed. Failure to heed this warning can cause you to lose control of the saw and result in serious injury.
- Tilt the saw downward until the tip of the blade starts cutting the workpiece.
- Allow the saw to penetrate the workpiece.
- Tilt the saw until the blade is perpendicular to the workpiece.
WARNING:
Blades longer than 6 in. can whip and should not be used for plunge cutting. Failure to heed this warning can result in serious personal injury.
WARNING:
Cutting into electrical wiring can cause the blade, the blade clamp, and the saw bar assembly to become electrically live. Do not touch metal parts when cutting into a wall; grasp only the insulated surfaces on the tool. Make sure hidden electrical wiring, water pipes, and mechanical hazards are not in the blade path when cutting into a wall.
METAL CUTTING
See Figure 12, page 10.
You may cut metals such as sheet steel, pipe, steel rods, aluminum, brass, and copper with the saw.
Observe the following tips when metal cutting:
- Be careful not to twist or bend the saw blade.
- Place the orbital action selector in the linear stroke position (OFF).
- Do not force the tool and use a slow speed.
- Use cutting oil when cutting soft metals and steel. Cutting oil also keeps the blades cool, increases cutting action, and prolongs blade life.
- Never use gasoline since normal sparking of motor could ignite fumes.
- Clamp the workpiece firmly and cut close to the clamping point to eliminate any vibration of the work. When cutting conduit pipe or angle iron, clamp the workpiece in a vise if possible and cut close to the vise. To cut thin sheet material, “sandwich” the material between hardboard or plywood and clamp the layers to eliminate vibration and material tearing.
- Always keep firm pressure on the shoe assembly to hold it securely against the workpiece.
MAINTENANCE
WARNING:
When servicing use only identical replacement parts. The use of any other parts can create a hazard or cause product damage.
WARNING:
Always wear eye protection with side shields marked to comply with ANSI Z87.1. Failure to do so could result in objects being thrown into your eyes resulting in possible serious injury.
WARNING:
To avoid serious personal injury, always remove the battery pack from the tool when cleaning or performing any maintenance.
GENERAL MAINTENANCE
Avoid using solvents when cleaning plastic parts. Most plastics are susceptible to damage from various types of commercial solvents and may be damaged by their use. Use clean cloths to remove dirt, dust, oil, grease, etc.
WARNING:
Do not at any time let brake fluids, gasoline, petroleum-based products, penetrating oils, etc., come in contact with plastic parts. Chemicals can damage, weaken or destroy plastic which can result in serious personal injury.
NOTE: ILLUSTRATIONS START ON PAGE 9
AFTER THE FRENCH AND SPANISH LANGUAGE SECTIONS.
This product has a 90-day Satisfaction Guarantee Policy,
as well as a Three-Year Limited Warranty.
For Warranty and Policy details, please go to powertools.ridgid.com
or call (toll-free) 1-866-539-1710.
NOTES
R8647

A – Orbital action selector
B – Lock-off button
C – Variable speed switch trigger
D – Shoe release lever
E – Adjustable shoe assembly
F – Sawblade
G – Toolless blade clamp
H – LED light
I – Rafter hook
J – Blade clamp lever

A – Rafter hook
B – Lock-off button

A – Battery pack
B – Raised ribs

A – Depress latches to release the battery pack

A – Blade clamp
B – Blade
C – Blade clamp lever

A – Shoe assembly
B – Shoe release lever

A – Shoe assembly
B – Pivot

A – Lock-off button
B – Variable speed switch trigger
C – Unlock
D – Lock
E – Top view

A – Variable speed switch trigger
B – LED light

A – Orbital action selector in OFF (linear cutting) position
B – Orbital action selector in ON (orbital cutting) position


Customer Service Information:
For parts or services, do not return this product to the store. Contact your nearest
RIDGID® authorized service center. Be sure to provide all relevant information when
you call or visit. For the location of the authorized service center nearest you, please
call 1-866-539-1710 or visit us online at powertools.ridgid.com.
MODEL NO.* ____________________SERIAL NO._______________________________
* Model number on a product may have additional letters at the end. These letters designate manufacturing
information and should be provided when calling for service.
ONE WORLD TECHNOLOGIES, INC.
P.O. Box 1427
Anderson, SC 29622 USA
1-866-539-1710 powertools.ridgid.com
RIDGID is a registered trademark of RIDGID, Inc., used under license.
998000420
2-25-21 (REV:03)























