i-PRO WV-QLR100-W Light Rail Mounting Bracket

Included Installation Instructions
- Before attempting to connect or install this product, please read these instructions carefully.
- The external appearance and other parts shown in this manual may differ from the actual product within the scope that will not interfere with normal use due to improvement of the product.
i-PRO Co., Ltd. assumes no responsibility for injuries or property damage resulting from failures arising out of improper installation or operation inconsistent with this documentation or through use of parts other than this product, such as locally procured parts.
“<Control No.: C****>” used in these documents should be used to search for information on our technical information website
(https://i-pro.com/global/en/surveillance/training-support/support/technical-information) and will guide you to the right information.

i-PRO Co., Ltd. https://www.i-pro.com/
Caution: Before attempting to connect or operate this product, please read these instructions carefully.
Notice:
- This product is not suitable for use in locations where children are likely to be present.
- Do not install this product in locations where ordinary persons can easily reach.
- For information about screws and other parts required for installation, refer to the corresponding section of this document.
Precautions
- Do not use this bracket except with suitable cameras.
Failure to observe this may cause a drop resulting in injury or accidents. - Do not install equipment that exceeds the maximum loading weight.
Failure to observe this may cause a drop resulting in injury or accidents.
Be sure to observe the maximum loading weight. - Do not install or wire the lighting rail with the power on.
Failure to observe this may cause fire or electric shock. - Refer installation work to the dealer.
Installation work requires technique and experience. Failure to observe this may cause fire, electric shock, injury, or damage to the product.
Be sure to consult the dealer. - The measures of protection against a fall of this product shall be taken.
Failure to observe this may cause a drop resulting in injury or accidents.
Be sure to install the safety wire. - The screws and bolts must be tightened to the specified torque.
Failure to observe this may cause a drop resulting in injury or accidents. - Install the product securely on the lighting rail in accordance with the installation instructions.
Failure to observe this may cause injury or accidents. - Do not rub the edges of metal parts with your hand.
Failure to observe this may cause injury.
When using this product, also read the “Precautions” described in the operating instructions for the camera to be attached.
Preface
This product is a mounting base for cameras. You can attach this product to the lighting rail and install the camera. Two colors, white and black, are available, so it can be installed in consideration of the surrounding landscape.
The latest information about the supported cameras <Control No.:C0501>.
Specifications
| Specifications | |
| Ambient operating temperature: | –50 °C to +60 °C {–58 °F to +140 °F} |
| Dimensions: | Width: 63.5 mm {2-1/2 inches} Depth: 32 mm{1-1/4 inches} Height: 135 mm {5-5/16 inches}(From the ground plane of the lighting rail to the camera mounting surface)(not including camera mounting screw) |
| Mass: | Approx. 130 g {0.29 lbs}(Including mounting screws) |
| Finish: | Aluminum alloy, PA/ABS resin white /black |
| Max. loading weight: | 1 kg {0.33 lbs} |
Precautions for installation
- In order to prevent injury, the product must be securely mounted to the lighting rail according to the Installation Guide of this product.
- This product is designed to be used indoors.
This product is not operable outdoors. Do not expose this product to direct sunlight for hours and do not install the product near a heater or an air conditioner. Otherwise, it may cause deformation, discoloration and malfunction. Keep this product away from water and moisture. - Make sure to remove this product if it will no longer be used.

Standard Accessories
Operating Instructions (this document)…….. 1 pc.

Other items that are needed (not included)
Lighting rails.
3 mm {1/8 inches} hexagon wrench……….. 1 pc.
IMPORTANT Use a lighting rail with the dimensions specified in Step 1 Check available lighting rails.
Installation
Refer to the operating instructions of the camera for details on the camera installation (including the cable connection and adjustment).
Step 1 Check available lighting rails
This product can be mounted on a lighting rail with the following dimensions.
If you are using a lighting rail with different dimensions, please check the dimensions of the mounting portion of this product to see if it can be installed.
Install on a lighting rail that conforms to the standards and specifications specified in your country/region of use.

Step 2 Preparations
To fix the indoor box type camera to this product
- Pass the safety wire (camera accessory) through the camera
- Temporarily fix two screws (accessory) to this product (tighten the safety wire from the camera to one of the screws)

To fix other cameras to this product
- Temporarily fix two screws (accessory) to this product.
- Attach the safety wire (supplied with the camera) to the product as shown below.
- Secure the safety wire to the camera.

【Common】 Temporary fixing method of screws
Temporarily fix the screws so that their tips do not protrude beyond the mounting surface of this product.

Note: When tightening the screws, the surface of this product may be scratched by screw fixation, but this is not a problem with regard to use of the product.
Step 3 Fixing the camera
- Turn the hexagonal hole with a hexagonal wrench to loosen the fixation of the movable part. 3 mm {1/8 inches} hexagon wrench(locally procured).
The following is an illustration of an indoor box type camera as an example.
- Attach the camera to the head portion of this product.

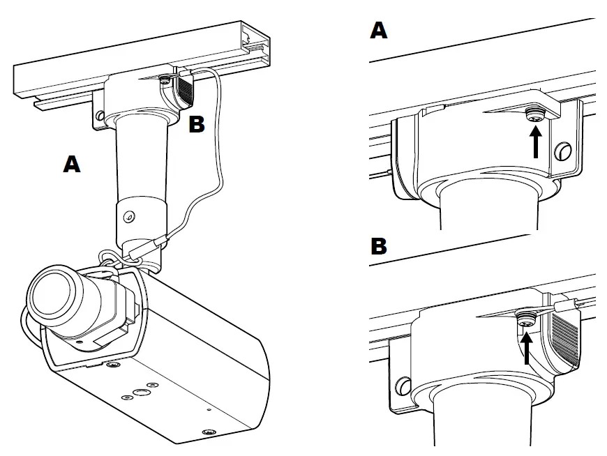
Step 4 Fixing to the lighting rail
- Temporarily fix this product with the camera attached to the lighting rail. To remove this product from the lighting rail, perform the ① to ④ in reverse order.

- Tighten the two screws that were temporarily fixed and fix this product to the lighting rail.
Recommended tightening torque: 0.39 N·m {0.29 lbf·ft}

After fixing this product to the lighting rail, be sure to check that the safety wire from the camera is not in contact with the inside of the rail (energized part).
Note:
- Please be careful not to overtighten the screws as this will damage the lighting rail.
- At this time, the lighting rail may be scratched by screw fixation.
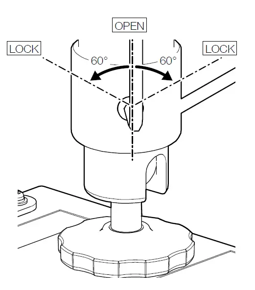
Step 5 Adjusting the angle of view
- With power connected to the camera, connect a monitor to the MONITOR OUT terminal to bring up the screen. For models without a MONITOR OUT terminal, use a PC to connect the camera to the network and display the shooting screen. Loosen the fixation of the movable part again by referring to Step3-1.
- Adjust camera orientation while watching the screen.

- Turn the hexagonal hole with a hexagonal wrench to tighten of the movable part of this product. 3 mm {1/8 inches} hexagon wrench (locally procured)
Recommended tightening torque: 1.97 N·m {1.45 lbf·ft} (Max. 2.95 N-m{2.18 lbf·ft})























