
OVERVIEW

IMPORTANT
- READ CAREFULLY AND KEEP FOR FUTURE REFERENCE!
- THE USER MANUAL CONTAINS IMPORTANT INFORMATION ON THE ASSEMBLY, CORRECT USE AND
- MAINTENANCE OF THE PRODUCT
- THE PLUSH TOY COMPLIES WITH THE REQUIREMENTS OF EUROPEAN STANDARD EN 71 1 2 3
WARNING THE SCHEMES AND FIGURES IN THIS INSTRUCTION ARE FOR ILLUSTRATIVE PURPOSES ONLY AND THE PRODUCT YOU HAVE BOUGHT MAY DIFFER FROM THEM
NOTE
THE TOY MAY BE PREASSEMBLED IN THE PACKING
WARNINGS AND RECOMMENDATIONS FOR SAFE USE
- To be used under direct adult supervision only
- The toy is designed for use from children over 12 months of age with maximum the weight up to 30 kg
- T he product is not designed to support overweight
- The product can be used only by one child on a session
- The music functions of the toy are powered with 3 x LR 44 batteries Put the batteries in the compartment, which is situated in a pocket in the “ of the animal You should use 3 batteries LR 44 Note that the batteries are not included in the package
- Do not use the toy close to swimming pools or other water bodies, stairs, steps, dusty, uneven or wet surfaces and
gravel areas Do not use close to sources of heat open fires, heating appliances and stoves - The toy should be used on even surfaces only
- Regularly check the individual parts of the product for damage If you find any stop using the toy until the damage is eliminated
- Check regularly whether the nuts and bolts are tightened firmly and are safe Tighten them if necessary
- The toy complies with standard EN 71 and complies with the essential requirements for General safety of the product
- You should be careful while unpacking the toy Keep children away from you while you are performing these activities
- All nylon packaging should be removed immediately after unpacking the product in order to avoid strangulation or suffocation of the children
- Do not allow the child to remove the stickers on the product if any and to swallow them
- The materials of which the product is made are suitable and safe for children’s health
- Avoid exposing the product to sunlight for extended periods of time, as well as to direct heat sources Store at a dry and well ventilated place
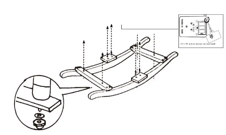
ATTACHING THE TOY TO THE FRAME AND PLACING THE BATTERIES SEE FIGURE A+B
- Step 1 Take out the battery box from the pocket of the toy’s belly Open the battery box by removing the screw with the screwdriver from the cover
- Step 2 Put 3 pcs of LR 44 batteries correctly according to the polarity, marked on the bottom of the box
- Step 3 Attach the cover to the box again and fix it with the screw Switch the ON/ OFF button to ON If there isn’t such button Then pull out the activating strip, to turn on the music functions
- Step 4 Put the battery box again in the pocket and close it
- Step 5 Place the toy on the frame A bolt is attached to each leg of the toy Slide each of these bolts into the corresponding openings on the wooden frame Turn the toy with the bottom of the frame facing you Attach a washer to the tip of each bolt Fix the bolts with nuts
IMPORTANT INFORMATION FOR THE BATTERIES
- The batteries must be handled by an adult Do not allow the children to play with the batteries
- Always remove the exhausted batteries and do not throw them away with the household waste, but in the designated places They are recyclable
- Use batteries only size LR 44 Alkaline batteries are recommended
- When you do not use the product for a long time, take the batteries out
- When changing with new batteries, always change all of the batteries The children should not be present during the change
- Do not mix old with new batteries
- Do not mix alkaline, standard (Carbon Zinc), or rechargeable (Nickel Cadmium) batteries
- Do not put the batteries in fire as they may explode or leak
CLEANING AND MAINTENANCE OF THE PRODUCT
- Clean the product regularly When you clean, do not use corrosive strong cleaning agents or alcohol based agents and such with abrasive particles Use soft wet cloth, as always the product should be wiped with a dry soft cloth
- Check regularly whether the main parts of the toy are in good working order or if there are any broken, chipped or damaged parts If you find any, do not use the product until the damage is eliminated Upon damage contact the manufacturer or the store, from whom you have bought the product Do not repair by yourselves and do not make modifications on the product, because this may endanger the health of your child
Made for MONI TRADE LTD MONI TOYS) Importer Moni Trade Ltd
Address Bulgaria city of Sofia, Trebich quarter, Dolo str 1 Tel 02 936 07 90



















