Control4 C4-V-ROSW120 Receptacle Outlet Switch
The Control4 Receptacle Outlet Switch is part of the Control4 Wireless Lighting product line and provides discreet control of lamps and other plug-in devices, making them part of your Control4 Smart Home experience.
Reach out to your Control4 professional to purchase additional smart lighting for your home
If you have any problems or questions, contact our U.S.-based Technical Support at 1-888-400-4072, Monday-Friday, 7 AM-6 PM MDT.
For the most up-to-date product support, accessories, electronic (PDF) format manuals and more, visit https://dealer.control4.com/support.
- No user-serviceable parts in this unit.
WARNING
RISK OF FIRE
RISK OF ELECTRICAL SHOCK
RISK OF BURNS
CONTROLLING APPLIANCES:
EXERCISE EXTREME CAUTION WHEN USING ZIGBEE DEVICES TO CONTROL APPLIANCES. OPERATION OF THE ZIGBEE DEVICE MAY BE IN A DIFFERENT ROOM THAN THE CONTROLLED APPLIANCE. ALSO, AN UNINTENTIONAL ACTIVATION MAY OCCUR IF THE WRONG BUTTON
ON THE REMOTE IS PRESSED. ZIGBEE DEVICES MAY AUTOMATICALLY BE POWERED ON DUE TO TIMED EVENT PROGRAMMING. DEPENDING UPON THE APPLIANCE, THESE UNATTENDED OR UNINTENTIONAL OPERATIONS COULD RESULT IN A HAZARDOUS CONDITION. FOR THESE REASONS, WE RECOMMEND THE FOLLOWING:
- DO NOT USE ZIGBEE DEVICES TO CONTROL ELECTRIC HEATERS OR ANY OTHER APPLIANCES WHICH MAY PRESENT A HAZARDOUS CONDITION DUE TO UNATTENDED OR UNINTENTIONAL OR AUTOMATIC POWER ON CONTROL.
SPECIFICATIONS (C4-V-ROSW120)
- Power: 125V AC, 60 Hz.
- Signal (frequency): 2.4 GHz IEEE 802.15.4
- Total max load for both outlets combined: 1800W (15A) resistive
- Max load for Zigbee-controlled outlet: 1000W incandescent, 1/2 HP motor, 1800W (15A) resistive, or 3.75A LED/CFL
- Range: Up to 150 feet (45 m) line of sight between the switch and the closest receiver module. For normal use, place devices within 15 – 30 feet (4.5 – 9 m) of each other
- Operating temperature range: 32-104° F (0-40° C)
- When using outdoors, follow local electrical codes for the installation of outlets. Use weatherproof enclosures and install with a GFCI outlet or GFCI breaker where required.
- Construction of control: Direct plug-in type
- Type 1.B action
- Pollution degree 2
- Impulse voltage: 1500 V
- Specifications subject to change without notice due to continuing product improvement
WARRANTY https://www.control4.com/legal/warranty/
Copyright ©2020, Wirepath Home Systems, LLC. All rights reserved. Control4 and Snap AV and their respective logos are registered trademarks or trademarks of Wirepath Home Systems, LLC, dba “Control4” and/or dba “SnapAV” in the United States and/or other countries. 4Store, 4Sight, Control4 My Home, Snap AV, and NEEO are also registered trademarks or trademarks of Wirepath Home Systems, LLC. Other names and brands may be claimed as the property of their respective owners. All specifications subject to change without notice.
Tools you will need
IMPORTANT!
The device plugged into the Zigbee-controlled outlet on this device must not exceed 1000W (incandescent), 1/2 HP motor, 1800W (15A) resistive, or 3.75A LED/CFL. The total maximum rating for both outlets combined is 1800W (15A) resistive load.
Getting to know your device
- One Zigbee-controlled outlet
- One always-on outlet
- Remote on/off control over the Control4 Zigbee network
- Manual on/off control with the Manual/Program button
- Programmable, single-color LED—Indicates light status and status during network pairing process
- Over-the-air updates—Once joined to your Control4 Zigbee network, the Outdoor Plug-In Outlet Switch can transparently receive updates through your Control4 controller
OVERVIEW
- A-Line (hot)
- B Neutral
- C Ground
- D Always-on outlet
- E Manual/program button
- F Controllable outlet
wiring information 
Observe important wiring information
Always follow the recommended wire strip length (5/8 in or 16 mm) and wiring combination when making wiring connections. Consult an electrician with questions or for professional installation.
UL specifies the tightening torque for the screws is 14 Kgf-cm (12 lbf-in).
IMPORTANT! The screw terminals in this receptacle are intended to only be used with copper wire. Consult a qualified electrician if you have aluminum wiring.
Wire gauge requirements
Use 14 AWG or larger wires suitable for at least 80° C for supplying line (hot), neutral, and ground connections.
Wiring (Installation Instructions)
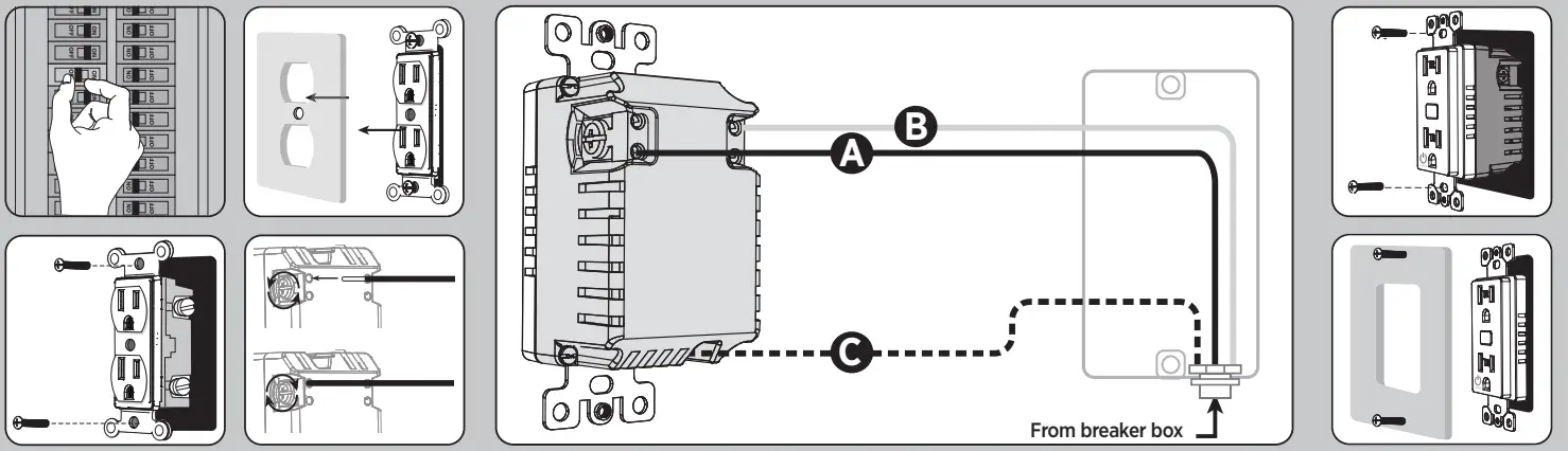
- Shut off power to the circuit at circuit breaker or fuse box. IMPORTANT! Verify power is OFF to switch box before continuing.
- Remove wallplate.
- Remove the outlet mounting screws.
- Carefully remove the outlet from the wall box.
- Disconnect the wires from the existing outlet. Label wires according to the previous terminal connection.
- There are three screw terminals on the Zigbee smart outlet; these are marked (wire colors in the box may differ)
A LINE (hot) — Black (connected to power)
B NEUTRAL — White
C GROUND — Green/bare
Match these screw terminals to the wires connected to the existing outlet. - Insert smart outlet into the box being careful not to pinch or crush wires.
- Secure the outlet to the box using the supplied screws.
- Mount the wallplate.
- Reapply power to the circuit at fuse box or circuit breaker and test the system.
Basic operation
The device connected to the Zigbee-controlled outlet can be turned on/off in two ways:
- Manually from front program button.
- Remotely from the Control4 system.
Note: Requires OS 3.1.2 or newer.
Switch 
- In Composer, add the driver for the Receptacle Outlet Switch (C4-V-ROSW120) to the project.
- In the Network > Zigbee Network view, double-click the driver for the Receptacle Outlet Switch to open the Identify window.
- Follow Composer’s on-screen instructions to identify the Receptacle Outlet Switch; press the switch’s Program button 4 times.
- After the Receptacle Outlet Switch is joined to the Zigbee network, the LED status indicator stops blinking, and the address for the Receptacle Outlet Switch appears in Composer. The Receptacle Outlet Switch is now paired to the Zigbee network and can be controlled.
Note: The LED blinks slowly until the switch is added to a Control4 project.
Note: If the switch does not successfully join the network, the auto-scan process will eventually time out (and the LED status indicator will stop blinking rapidly). To restart the pairing process following a timeout, press the top button 4 times quickly.
If prompted to enter the install code, refer to the QR code label on the product. Enter the full code.
Remove from Zigbee network (reset switch)
From Composer
In Composer under Network > Zigbee Network, select the Receptacle Outlet Switch and click on Disconnect. The Receptacle Outlet Switch will be removed from the Zigbee network. All configuration parameters will be reset after the Receptacle Outlet Switch is removed from the network.
Manual Reset
To manually reset and remove the Receptacle Outlet Switch from the Zigbee network, press the Program/Manual button 13 times quickly (short presses). 
























