
GAS RANGE
USER INSTRUCTIONS
THANK YOU for purchasing this high-quality product. Register your range at www.whirlpool.com. In Canada, register your range at www.whirlpool.ca. For future reference, please make a note of your product model and serial numbers. These can be found on the label located on the upper-left side of the front frame. Model
Number___________________________________________ Serial Number___________________________________________
RANGE SAFETY
Your safety and the safety of others are very important. We have provided many important safety messages in this manual and on your appliance. Always read and obey all safety messages.
This is the safety alert symbol.
This symbol alerts you to potential hazards that can kill or hurt you and others.
All safety messages will follow the safety alert symbol and either the word “DANGER” or “WARNING.” These words mean:
You can be killed or seriously injured if you don’t immediately follow instructions.
You can be killed or seriously injured if you don’t follow instructions.
All safety messages will tell you what the potential hazard is, tell you how to reduce the chance of injury, and tell you what can happen if the instructions are not followed.
WARNING: If the information in these instructions is not followed exactly, a fire or explosion may result causing property damage, personal injury, or death.
– Do not store or use gasoline or other flammable vapors and liquids in the vicinity of this or any other appliance.
– WHAT TO DO IF YOU SMELL GAS:
- Do not try to light any appliance.
- Do not touch any electrical switch.
- Do not use any phone in your building.
- Immediately call your gas supplier from a neighbor’s phone. Follow the gas supplier’s instructions.
- If you cannot reach your gas supplier, call the fire department.
– Installation and service must be performed by a qualified installer, service agency or the gas supplier.
WARNING: Gas leaks cannot always be detected by smell.
Gas suppliers recommend that you use a gas detector approved by UL or CSA.
For more information, contact your gas supplier.
If a gas leak is detected, follow the “What to do if you smell gas” instructions.
The Anti-Tip Bracket
The range will not tip during normal use. However, the range can tip if you apply too much force or weight to the open door without the anti-tip bracket fastened down properly.
![]() | |
| Tip-Over Hazard A child or adult can tip the range and be killed. Verify the anti-tip bracket has been properly installed and engaged per installation instructions. Re-engage the anti-tip bracket if the range is moved. Do not operate the range without an anti-tip bracket installed and engaged. Failure to follow these instructions can result in death or serious burns to children and adults. | |
To verify the anti-tip bracket is installed and engaged:• Slide range forward. • Look for the anti-tip bracket securely attached to the floor or wall. • Slide range back so rear range foot is under anti-tip bracket. • See installation instructions for details. | |
IMPORTANT SAFETY INSTRUCTIONS
WARNING: To reduce the risk of fire, electrical shock, injury to persons, or damage when using the range, follow basic precautions, including the following:
- WARNING: TO REDUCE THE RISK OF TIPPING OF THE RANGE, THE RANGE MUST BE SECURED BY PROPERLY INSTALLED ANTI-TIP DEVICES. TO CHECK IF THE DEVICES ARE INSTALLED PROPERLY, SLIDE THE RANGE FORWARD, LOOK FOR AN ANTI-TIP BRACKET SECURELY ATTACHED TO THE FLOOR OR WALL, AND SLIDE THE RANGE BACK TO THE REAR RANGE FOOT IS UNDER THE ANTI-TIP BRACKET.
- WARNING: NEVER use this appliance as a space heater to heat or warm the room. Doing so may result in carbon monoxide poisoning and overheating of the oven.
- WARNING: NEVER cover any slots, holes, or passages in the oven bottom or cover an entire rack with materials such as aluminum foil. Doing so blocks air flow through the oven and may cause carbon monoxide poisoning. Aluminum foil linings may also trap heat, causing a fire hazard.
- CAUTION: Do not store items of interest to children in cabinets above a range or on the backguard of a range – children climbing on the range to reach items could be seriously injured.
- Proper Installation – The range, when installed, must be electrically grounded in accordance with local codes or, in the absence of local codes, with the National Electrical Code, ANSI/NFPA 70. In Canada, the range must be electrically grounded in accordance with the Canadian Electrical Code. Be sure the range is properly installed and grounded by a qualified technician.
- This range is equipped with a three-prong grounding plug for your protection against shock hazards and should be plugged directly into a properly grounded receptacle. Do not cut or remove the grounding prong from this plug.
- Disconnect power before servicing.
- Injuries may result from the misuse of appliance doors or drawers such as stepping, leaning, or sitting on the doors or drawers.
- Maintenance – Keep range area clear and free from combustible materials, gasoline, and other flammable vapors and liquids.
- Storage in or on the Range – Flammable materials should not be stored in an oven or near surface units.
- Top burner flame size should be adjusted so it does not extend beyond the edge of the cooking utensil.
For self-cleaning ranges –
- Before Self-Cleaning the Oven – Remove the broiler pan and other utensils. Wipe off all excessive spillage before initiating the cleaning cycle.
SAVE THESE INSTRUCTIONS
FEATURE GUIDE
This manual covers several models. Your model may have some or all of the items listed. Refer to this manual or Frequently Asked Questions (FAQs) section of our website at www.whirlpool.com for more detailed instructions. In Canada, reference the Customer Service section at www.whirlpool.ca.
| Food Poisoning Hazard Do not let food sit in the oven for more than one hour before or after cooking. Doing so can result in food poisoning or sickness. |

| Keypad | Feature | Instructions |
| CLOCK | Clock | The Clock uses a 12-hour cycle. 1. Check that the oven is off. 2. Press CLOCK. 3. Press the Temp/Time up or down arrow keypad to set the hours. Press CLOCK to switch to the minutes. Press the Temp/Time up or down arrow keypad to set the minutes. 4. Press CLOCK or the Start keypad. |
| LIGHT | Oven cavity light | While the oven door is closed, press LIGHT to turn the light on and off. The oven light will come on when the oven door is opened. The oven light will not come on during the Self-Cleaning cycle. |
| TIMER SET/OFF | Oven timer | The Timer can be set in hours or minutes up to 9 hours and 59 minutes. 1. Press TIMER SET/OFF. 2. Press the Temp/Time up or down arrow keypad to set the length of time. 3. Press the Start keypad to begin the countdown. If enabled, end-of-cycle tones will sound at end of the countdown. 4. Press TIMER SET/OFF to cancel the Timer. Do not press the Cancel keypad because the oven will turn off. |
| Start
| Cooking start | The Start keypad begins any oven function. If the Start keypad is not pressed within 10 seconds, a tone will sound and The Start keypad will blink until pressed or canceled. If Start is not pressed within 30 seconds after pressing a keypad, the function is canceled and the time of day is displayed. |
| Cancel
| Range function | The Cancel keypad stops any function except the Timer and Oven Control Lockout. |
| TEMP/TIME | Temperature and time adjust | The Temp/Time up and down arrow keypads are used to adjust time and temperature settings. |
| BAKE | Baking and roasting | 1. Press BAKE. 2. Press the Temp/Time up or down arrow keypad until the desired temperature is reached. A tone will sound if the minimum or maximum temperature is reached. 3. Press the Start keypad. 4. To change the temperature, repeat Step 2. Press the Start keypad. 5. Press the Cancel keypad when finished. NOTE: The convection fan will shut off when the oven door is opened. If the oven door remains open for too long, the heating elements will shut off until the oven door is closed. All timers, including any active Cook Time or Timed Cook functions, will continue to count down. |
| CONVECT BAKE | Convection baking and roasting | 1. Press CONVECT BAKE. 2. Press the Temp/Time up or down arrow keypad until the desired temperature is reached. A tone will sound if the minimum or maximum temperature is reached. 3. Press the Start keypad. 4. To change the temperature, repeat Step 2. Press the Start keypad. 5. Press the Cancel keypad when finished. NOTE: The convection fan will shut off when the oven door is opened. If the oven door remains open for too long, the heating elements will shut off until the oven door is closed. All timers, including any active Cook Time or limed Cook functions, will continue to count down. |
| FROZEN BAKE | Prepackaged food | 1. Position the food on a flat rack in the oven on rack position 3 or 4. See the “Positioning Racks and Bakeware” section. NOTE: Cook only 1 package of frozen food at a time when using Frozen Bake™ Technology. 2. Press FROZEN BAKE LASAGNA or PIZZA. 3. Press the Temp/Time up or down arrow keypad to set the temperature as recommended on the food packaging. 4. Press COOK TIME. 5. Press the Temp/Time up or down arrow keypad to set the maximum cook time as recommended on the food packaging. 6. Press the Start keypad. The range will calculate the best cook time. NOTE: The cook time that appears in the display is the estimated required cook time as calculated by the oven control. It may be different than the time you entered. A beep will alert you to check the food’s doneness with at least 2 minutes remaining on the timer. Follow the prompts on the display to select more time if desired. 7. Press the Start keypad to start the calculated time. 8. At the end of the cooking time, a beep will alert you to check the food’s doneness. When “End” is displayed and down arrow keypad to set the time, then press START. If more time is not added, the bake element will turn off. NOTE: Pressing Cancel will exit the Frozen Bake™ cycle. 9. Press the Cancel keypad when finished. NOTE: The convection fan will shut off when the oven door is opened. If the oven door remains open for too long, the heating elements will shut off until the oven door is closed. All timers, including any active Cook Time or Timed Cook functions, will continue to count down. |
| BROIL | Broiling | 1. Press BROIL. 2. Press the Temp/Time up or down arrow keypad until the desired temperature is reached. A tone will sound if the minimum or maximum temperature is reached. 3. Press the Start keypad. 4. Preheat the oven for five minutes, unless otherwise recommended by the recipe. Position cookware in the oven and close the oven door. 5. To change the temperature, repeat Step 2 and press the Start keypad. 6. Press the Cancel keypad when finished. NOTE: The convection fan will shut off when the oven door is opened. If the oven door remains open for too long, the heating elements will shut off until the oven door is closed. All timers, including any active Cook Time or limed Cook functions, will continue to count down. |
| KEEP WARM | Hold warm | Food must be at serving temperature before placing it in the warmed oven. 1. Press KEEP WARM. 2. Temperature is set at 170°F (75°C). Press the Temp/Time up or down arrow keypad until the desired temperature is reached. A tone will sound if the minimum or maximum temperature is reached. 3. Press the Start keypad. 4. Press the Cancel keypad when finished. NOTE: The convection fan will shut off when the oven door is opened. If the oven door remains open for too long, the heating elements will shut off until the oven door is closed. All timers, including any active Cook Time or Timed Cook functions, will continue to count down. |
| DELAY START | Delayed start | Delay Start is used to enter the starting time for an oven function with a delayed start. Delay Start should not be used for foods such as bread and cakes because they may not bake properly. To set a Timed Cook or a Delayed Timed Cook, see the “Cook Time” section. |
| COOK TIME | Timed cooking | Cook Time allows the oven to be set to tum on at a certain time of day, cook for a set length of time, and/or shut off automatically. To set a Timed Cook or a Delayed Timed Cook, see the “Cook Time” section. |
| CLEAN | Self-Cleaning cycle | See the “Self-Cleaning Cycle” section. |
| CONTROL LOCK (Hold 3 sec) | Oven and cooktop control lockout | 1. Check that the oven and cooktop are off. 2. Press and hold the CONTROL LOCK for 3 seconds. 3. A tone will sound and a lock will be displayed. 4. Repeat to unlock. No keypads will function with the controls locked. |
COOKTOP USE
|
![]() |
| Fire Hazard Do not let the burner flame extend beyond the edge of the pan. Turn off all controls when not cooking. Failure to follow these instructions can result in death or fire. |

Electric igniters automatically light the surface burners when control knobs are turned to (Ignite).
Before setting a control knob, place filled cookware on the grate. Do not operate a burner using empty cookware or without cookware on the grate.
To Set:
- Push in and turn the knob counterclockwise to the Ignite position.
IMPORTANT: All four surface burners will click. Only the burner with the control knob turned to the Ignite position will produce a flame. - Turn the knob to anywhere between Hi and Lo.
REMEMBER: When the range is in use or (on some models) during the Self-Cleaning cycle, the entire cooktop area may become hot.
Power Failure
In case of prolonged power failure, the surface burners can be lit manually. Hold a lit match near a burner and turn the knob counterclockwise to the Ignite position. After the burner lights, turn the knob to set.
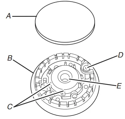
Sealed Surface Burners

A. Burner cap
B. Burner base
C. Alignment pins
D. Igniter
E. Gas tube opening
IMPORTANT: Do not obstruct the flow of combustion and ventilation air around the burner grate edges.
Burner cap: Always keep the burner cap in place when using a surface burner. A clean burner cap will help avoid poor ignition and uneven flames. Always clean the burner cap after a spillover and routinely remove and clean the caps according to the “General Cleaning” section.
Gas tube opening: Gas must flow freely throughout the gas tube opening for the burner to light properly. Keep this area free of soil and do not allow spills, food, cleaning agents, or any other material to enter the gas tube opening. Keep spillovers out of the gas tube by always using a burner cap.

A. 1-1½” (2.5-3.8 cm)
B. Burner ports
Burner ports: Check burner flames occasionally for proper size and shape as shown in the previous illustration. A good flame is blue in color, not yellow. Keep this area free of soil and do not allow spills, food, cleaning agents, or any other material to enter the burner ports.
To Clean:
IMPORTANT: Before cleaning, make sure all controls are off and the oven and cooktop are cool. Do not use oven cleaners, bleach, or rust removers.
- Remove the burner cap from the burner base and clean according to the “General Cleaning” section.
- Clean the gas tube opening with a damp cloth.
- Clean clogged burner ports with a straight pin as shown. Do not enlarge or distort the port. Do not use a wooden toothpick. If the burner needs to be adjusted, contact a trained repair specialist.

- Replace the burner cap, making sure the alignment pins are properly aligned with the burner cap.

- Turn on the burner. If the burner does not light, check cap alignment. If the burner still does not light, do not service thesealed burner yourself. Contact a trained repair specialist.
Grates
Models WFG525, WFG550, and WFG535
The grates on this range cover the full width of the cooktop. The three grates interlock, using the hook formed into the grates. The flat end of the middle grate drops onto the hooks on the other grates as shown in the following illustration.

To install the grates, place the grate embossed “Left” on the left side of the cooktop. Place the grate embossed “Right” on the right side of the cooktop. Place the middle grate last, as shown in the previous illustration.
Model WFG510
The grates must be properly positioned before cooking. Improper installation of the grates may result in the chipping of the cooktop. Although the grates are durable, they will gradually lose their shine due to exposure to high temperatures.
Burner Size
Select a burner that best fits your cookware. Burner positions will vary based on the model of your range.

| Burner Size | Recommended Use |
| Small | ■ Low-heat cooking ■ Melting chocolate or butter |
| Medium | ■ Multipurpose burner |
| Large | ■ For large cookware |
| Extra-Large | ■ For large cookware ■ Most powerful burner |
| Oval | ■ For longer dishes |
Cookware
IMPORTANT: Do not leave empty cookware on a hot surface cooking area, element, or surface burner.
Ideal cookware should have a flat bottom, straight sides, and a well-fitting lid, and the material should be of medium-to-heavy thickness.
Rough finishes may scratch the cooktop or grates. Aluminum and copper may be used as a core or base in cookware.
Cookware material is a factor in how quickly and evenly heat is transferred which affects cooking results.
Cookware with nonstick surfaces should not be used under the broiler. Check for flatness by placing the straight edge of a ruler across the bottom of the cookware.
While you rotate the ruler, no space or light should be visible between it and the cookware.

Use the following chart as a guide for cookware material characteristics.
| Cookware | Characteristics |
| Aluminum | • Heats quickly and evenly. • Suitable for all types of cooking. • Medium or heavy thickness is best for most cooking tasks. |
| Cast iron | • Heats slowly and evenly. • Good for browning and frying. • Maintains heat for slow cooking. |
| Ceramic or ceramic glass | • Follow manufacturer’s instructions. • Heats slowly but unevenly. • Ideal results on low- to medium heat settings. |
| Copper | • Heats very quickly and evenly. • May leave copper residues which may be diminished if cleaned immediately after cooking. |
| Earthenware/Stoneware | • Follow manufacturer’s instructions. • Use on low-heat settings. |
| Porcelain enamel-on-steel or cast iron | • See stainless steel or cast iron. |
| Stainless steel | • Heats quickly but unevenly. • A core or base of aluminum or copper on stainless steel provides even heating. |
For best results, the cookware should be centered above the burner with the bottom sitting level on the grate. The flame should be adjusted so that it does not extend up the sides of the pan.

Home Canning
When canning for long periods, alternate the use of surface burners between batches. This allows time for the most-recently-used areas to cool.
- Center the canner on the grate above the burner.
- Do not place canner on two surface burners at the same time.
- For more information, contact your local agricultural extension office or refer to published home canning guides. Companies that manufacture home canning products can also offer assistance.
OVEN USE
The normal operation of the range will include several noises that may be heard each time the bake or broil burners ignite during the cooking cycle:
- Gas valves may make a “popping” sound when opening or closing.
- Igniters will “click” several times until a flame is sensed.
- A “poof” sound is heard when a bake or broil burner ignites.
Odors and smoke are normal when the oven is used the first few times or when it is heavily soiled.
IMPORTANT: The health of some birds is extremely sensitive to the fumes given off. Exposure to fumes may result in the death of certain birds. Always move birds to another closed and well-ventilated room.
NOTE: The convection fan will shut off when the oven door is opened. If the oven door remains open for too long, the heating elements will shut off until the oven door is closed. All timers, including any active Cook Time or Timed Cook functions, will continue to count down.
Electronic Oven Controls
Control Display
The display will flash when powered up or after a power loss.
Press the Cancel keypad to clear. When the oven is not in use, the time of day is displayed.
Fahrenheit and Celsius
The temperature is preset to Fahrenheit but can be changed to Celsius.
To change: Press and hold the Temp/Time up arrow keypad for 5 seconds. “°C” or “°F” will appear on the display. Repeat to change back.
To exit mode, press the Cancel keypad.
Keypress Tones
Activates or turns off the tones when a keypad is pressed.
To change: Press and hold LIGHT for 5 seconds. Repeat to change back.
To exit mode, press the Cancel keypad.
Demo Mode
IMPORTANT: This feature is intended for use on the sales floor with a 120 V power connection and permits the control features to be demonstrated without heating elements turning on. If this feature is activated, the oven will not work.
To change: Press the Cancel keypad, the Cancel keypad, the
Temp/Time up arrow keypad, TIMER SET/OFF. Repeat to change back and end Demo mode.
Tones
Tones are audible signals, indicating the following:
Basic Functions
One Tone
- Valid keypad press
- The oven is preheated (long tone).
- The function has been entered.
- Reminder, repeating every 20 seconds after the end-of-cycle tones
Three Tones
- Invalid keypad press.
Four Tones
- End of cycle
Oven Temperature Control
IMPORTANT: Do not use a thermometer to measure oven temperature. Elements will cycle on and off as needed to provide consistent temperature but may run slightly hot or cool at any point in time due to this cycling. Most thermometers are slow to react to temperature change and will not provide an accurate reading due to this cycling.
The oven provides accurate temperatures; however, it may cook faster or slower than your previous oven, so the temperature can be adjusted to personalize it for your cooking needs. It can be changed to Fahrenheit or Celsius.
To Adjust Oven Temperature:
- Press and hold the Temp/Time down arrow keypad for 5 seconds until the oven display shows the current setting, for example, “0°F CAL” or “00.”
- Press the Temp/Time up or down arrow keypad to increase or decrease the temperature in 5°F (3°C) amounts. The adjustment can be set between 30°F (18°C) and -30°F (-18°C).
- Press the Start keypad.
Sabbath Mode (on some models)
For guidance on usage and a complete list of models with Sabbath mode, visit www.star-k.org.
The Sabbath mode sets the oven to remain on in a Bake setting until turned off. A Timed Bake can also be set to keep the oven on for only part of the Sabbath. The Oven Control Lockout feature will be disabled during the Sabbath mode. After the Sabbath mode is set, no tones will sound, the display will not show the temperature, the Kitchen Timer mode will be canceled (if active), and only the following keypads will function:
- Temp/Time up and down arrow keypads
- Cancel
When the oven door is opened or closed, the oven light will not turn on or off and the heating elements will not turn on or off immediately.
When power is restored after a power failure, the oven will return to Sabbath mode and remain Sabbath compliant with the bake elements off until the Cancel keypad is pressed.
Pressing the Cancel keypad at any time returns the oven to the normal cooking mode (not Sabbath compliant).
Before entering the Sabbath mode, it must be decided if the oven light is to be on or off for the entire Sabbath mode period. If the light is on when entering Sabbath mode, it will remain on for the entire time Sabbath mode is in use. If the light is off when entering Sabbath mode, it will remain off for the entire time Sabbath mode is in use. Opening the oven door or pressing LIGHT will not affect the oven light once Sabbath mode has been entered.
On the Holiday, the oven temperature can be changed once the oven is in Sabbath mode by pressing the Temp/Time up or down arrow keypad. The oven temperature will change 25°F (14°C) each time the Temp/Time up and down arrow keypads are pressed. Press the Start keypad to activate the new temperature. The display will not change and there will be no sounds during this adjustment.
To Activate and Bake Using Sabbath Mode:
- Press BAKE.
- Press the Temp/Time up or down arrow keypad.
- Press the Start keypad.
- Press and hold TIMER SET/OFF for 5 seconds. “SAb” will flash on the display.
- Press the Start keypad while “SAb” is flashing to enter Sabbath mode; otherwise, the entire cycle cancels out. “SAb” will stop flashing and remain on the display. The oven is now in Sabbath mode and is Sabbath compliant.
Pressing the Cancel keypad at any time returns the oven to the normal cooking mode (not Sabbath compliant).
NOTE: If “SAb” does not appear in your display, the Sabbath mode is not active. After Sabbath mode is deactivated, you must activate Sabbath mode by completing steps 1 through 5.
To Set a Timed Bake Using Sabbath Mode (on some models):
- Press BAKE.
- Press the Temp/Time up or down arrow keypad to enter a temperature other than the one displayed.
- Press COOK TIME. The Cook Time oven indicator light will light up.
- Press the Temp/Time up or down arrow keypad to enter a cook time length.
- Press the Start keypad.
- Press and hold TIMER SET/OFF for 5 seconds. “SAb” will flash on the display.
- Press the Start keypad while “SAb” is flashing to enter
Sabbath mode; otherwise, the entire cycle cancels out. “SAb” will stop flashing and remain on the display. The oven is now in Sabbath mode and is Sabbath compliant. The Bake, On, and Cook Time indicator lights will be displayed.
When the set cook time ends, the oven will shut off automatically and the indicator lights will turn off, indicating the end of the cycle.
Pressing the Cancel keypad at any time returns the oven to the normal cooking mode (not Sabbath mode compliant).
NOTE: If “SAb” does not appear in your display, the Sabbath mode is not active. After Sabbath mode is deactivated, you must activate Sabbath mode by completing steps 1 through 5.
To Set a Delayed Timed Bake Using Sabbath Mode (on some models):
|
| Food Poisoning Hazard Do not let food sit in the oven more than one hour before or after cooking. Doing so can result in food poisoning or sickness. |
- Press BAKE.
- Press the Temp/Time up or down arrow keypad to enter a temperature other than the one displayed.
- Press COOK TIME. The Cook Time oven indicator light will light up.
- Press the Temp/Time up or down arrow keypad to enter a cook time length.
- Press DELAY START. The Delay indicator light will light up.
- Press the Temp/Time up or down arrow keypad to enter a start time.
- Press the Start keypad.
- Press and hold TIMER SET/OFF for 5 seconds. “SAb” will flash on the display.
- Press the Start keypad while “SAb” is flashing to enter Sabbath mode; otherwise, the entire cycle cancels out. “SAb” will stop flashing and remain on the display. The oven is now in Sabbath mode and is Sabbath compliant. The On and Delay indicator lights will be displayed.
When the start time is reached, the Bake, On, and Cook Time indicator lights will automatically turn on. When the set cook time ends, the oven will shut off automatically and the indicator lights will turn off, indicating the end of the cycle.
Pressing the Cancel keypad at any time returns the oven to the normal cooking mode (not Sabbath mode compliant).
NOTE: If “SAb” does not appear in your display, the Sabbath mode is not active. After Sabbath mode is deactivated, you must activate Sabbath mode by completing steps 1 through 5.
Keep Warm
|
| Food Poisoning Hazard Do not let food sit in the oven for more than one hour before or after cooking. Doing so can result in food poisoning or sickness. |
NOTE: The convection fan will shut off when the oven door is opened. If the oven door remains open for too long, the heating elements will shut off until the oven door is closed. All timers, including any active Cook Time or Timed Cook functions, will continue to count down.
IMPORTANT: Food must be at serving temperature before placing it in the warmed oven. Food may be held up to 1 hour; however, bread and casseroles may become too dry if left in the oven during the Keep Warm function. For best results, cover food. The Keep Warm feature allows hot cooked foods to stay at serving temperature.
To Use:
- Press KEEP WARM.
- Press the Temp/Time up or down arrow keypad until the desired temperature is reached. A tone will sound if the minimum or maximum temperature is reached.
- Press the Start keypad.
- Place food in the oven.
- Press the Cancel keypad when finished.
NOTE: The temperature may be changed at any time by pressing the Temp/Time up or down arrow keypad to reach the desired temperature and then pressing the Start keypad.
Aluminum Foil
IMPORTANT: To avoid permanent damage to the oven bottom finish, do not line the oven bottom with any type of foil or liner.
For best cooking results, do not cover the entire oven rack with foil because air must be able to move freely.
Positioning Racks and Bakeware
IMPORTANT: To avoid permanent damage to the porcelain finish, do not place food or bakeware directly on the oven door or bottom.
Bakeware
To cook food evenly, hot air must be able to circulate. Allow 2″ (5 cm) of space around bakeware and oven walls. Make sure that no bakeware piece is directly over another.
Racks
- Position racks before turning on the oven.
- Do not position racks with bakeware on them.
- Make sure racks are level.
To move a rack, pull it out to the stop position, raise the front edge, and then lift it out. Use the following illustration as a guide.

Rack Positions
Rack 5: Toasting bread or broiling thin, non-fatty foods
Rack 4: two-rack baking and broiling
Rack 3: Most baked goods on a cookie sheet, muffin pan, or jelly roll pan; layer cakes; broiling chicken pieces
Rack 2: Pies, casseroles, yeast bread, quick bread, frozen convenience foods, and two-rack baking
Rack 1: Roasting large and small cuts of meat and poultry
Multiple Rack Cooking
Two-rack: Use rack positions 2 and 4 or 2 and 5.
Baking Cookies and Layer Cakes on Two Racks
Baking Layer Cakes
For best results when baking cakes on two racks, use the Bake function, a flat rack in rack position 4, and a flat rack in rack position 2. Place the cakes on the racks as shown. Keep at least 3″ (7.6 cm) of space between the front of the racks and the front cakes.

Baking Cookies on Two Racks
For best results when baking cookies on two racks, use the Convect Bake function and place flat racks in positions 2 and 5.
Oven Vent

A. Oven vent
The oven vent releases hot air and moisture from the oven and should not be blocked or covered. Blocking or covering the oven vent will cause poor air circulation, affecting cooking and cleaning results. Do not set plastics, paper, or other items that could melt or burn near the oven vent.
Baking and Roasting
Preheating
When beginning a Bake cycle, the oven will begin preheating after the Start is pressed. The oven will take approximately 12 to 15 minutes to reach 350°F (177°C) with all of the oven racks provided with your oven inside the oven cavity. Higher temperatures will take longer to preheat. The preheat cycle rapidly increases the oven temperature. The actual oven temperature will go above your set temperature to offset the heat lost when your oven door is opened to insert food. This ensures that when you place your food in the oven, the oven will begin at the proper temperature. Insert your food when the preheat tone sounds. Do not open the door during preheating before the tone sounds.
Oven Temperature
While in use, the oven elements will cycle on and off as needed to maintain a consistent temperature, but they may run slightly hot or cool at any point in time due to this cycling. Opening the oven door while in use will release the hot air and cool the oven which could impact the cooking time and performance. It is recommended to use the oven light to monitor cooking progress.
NOTE: On models with convection, the convection fan may run in the non-convection Bake mode to improve oven performance.
The convection fan will shut off when the oven door is opened. If the oven door remains open for too long, the heating elements will shut off until the oven door is closed. All timers, including any active Cook Time or Timed Cook functions, will continue to count down.
Temperature Management System
The Temperature Management System electronically regulates the oven heat levels during preheating and baking to maintain a precise temperature range for optimal cooking results. The bake and broil elements or burners cycle on and off in intervals. On convection range models, the fan will run while preheating and may be cycled on and off for short intervals during the bake to provide the best results. This feature is automatically activated when the oven is in use.
Before baking and roasting, position racks according to the “Positioning Racks and Bakeware” section. When roasting, it is not necessary to wait for the oven preheat cycle to end before putting food in unless it is recommended in the recipe.
Broiling
NOTE: The convection fan will shut off when the oven door is opened. If the oven door remains open for too long, the heating elements will shut off until the oven door is closed. All timers, including any active Cook Time or Timed Cook functions, will continue to count down.
When broiling, preheat the oven for 5 minutes before putting food in unless recommended otherwise in the recipe. Position food on the grid in a broiler pan, then place it in the center of the oven rack.
IMPORTANT: Close the door to ensure proper broiling temperature.
Changing the temperature when broiling allows more precise control when cooking. The lower the broil setting is, the slower the cooking. Thicker cuts and unevenly shaped pieces of meat, fish, and poultry may cook better at lower broil settings. Use racks 4 or 5 for broiling. Refer to the “Positioning Racks and Bakeware” section for more information. In lower settings, the broil element will cycle on and off to maintain the proper temperature.
- For best results, use a broiler pan and grid. It is designed to drain juices and help avoid spatter and smoke.
If you would like to purchase a broiler pan, one may be ordered. Please refer to the “Accessories” section for more information.
NOTE: Odors and smoke are normal the first few times the oven is used or if the oven is heavily soiled.
Convection Baking and Roasting
NOTE: The convection fan will shut off when the oven door is opened. If the oven door remains open for too long, the heating elements will shut off until the oven door is closed. All timers, including any active Cook Time or Timed Cook functions, will continue to count down.
During convection baking or roasting, the bake and broil elements or burners cycle on and off in intervals to maintain the oven temperature while the fan circulates the hot air. If the oven door is opened during convection baking or roasting, the fan will turn off immediately. It will come back on when the oven door is closed.
NOTE: The convection fan will turn on approximately 5 minutes into any convection cycle.
Cook Time
|
| Food Poisoning Hazard Do not let food sit in the oven for more than one hour before or after cooking. Doing so can result in food poisoning or sickness. |
To Set a Timed Cook:
- Press BAKE. The Bake indicator light will light up.
- Press the Temp/Time up or down arrow keypad to enter a temperature other than the one displayed.
- Press COOK TIME. The cook time oven indicator light will light up.
- Press the Temp/Time up or down arrow keypad to enter the length of time to cook.
- Press the Start keypad. The display will count down the time.
When the time ends, the oven will shut off automatically. - Press the Cancel keypad to clear the display.
To Set a Delayed Timed Cook:
Before setting, make sure the clock is set to the correct time of day. See the “Clock” keypad feature in the “Feature Guide” section.
- Press BAKE.
- Press the Temp/Time up or down arrow keypad to enter a temperature other than the one displayed.
- Press COOK TIME. The cook time oven indicator light will light up.
- Press the Temp/Time up or down arrow keypad to enter the length of time to cook.
- Press DELAY START. The delay oven indicator light will light up.
- Press the Temp/Time up or down arrow keypad to enter the amount of time until the desired start.
- Press the Start keypad.
When the start time is reached, the oven will automatically turn on. The temperature and/or time settings can be changed anytime after pressing the Start keypad by repeating steps 1 through 7.
When the set cook time ends, the oven will shut off automatically. - Press the Cancel keypad to clear the display.
RANGE CARE
Self-Cleaning Cycle (on some models)
|
![]() |
| Burn Hazard Do not touch the oven during the Self-Cleaning cycle. Keep children away from the oven during the Self-Cleaning cycle. Failure to follow these instructions can result in burns. |
IMPORTANT: The health of some birds is extremely sensitive to the fumes given off during the Self-Cleaning cycle. Exposure to fumes may result in the death of certain birds. Always move birds to another closed and well-ventilated room.
Do not block the oven vent(s) during the Self-Cleaning cycle. Air must be able to move freely. Depending on your model, see the “Oven Vent” section.
Do not clean, rub, damage, or move the oven door gasket.
Prepare Range
- Remove the broiler pan, grid, cookware, and bakeware, all cooking utensils, oven racks, and aluminum foil, and, on some models, the temperature probe from the oven.
- Use a damp cloth to clean the inside door edge and the 1½” (3.8 cm) area around the inside oven cavity frame, being certain not to move or bend the gasket.
- Remove plastic items from the cooktop because they may melt.
- Remove all items from the storage drawer.
How the Cycle Works
IMPORTANT: The heating and cooling of porcelain on steel in the oven may result in discoloring, loss of gloss, hairline cracks, and popping sounds.
Before cleaning, make sure the door is completely closed or the door will not lock and the Self-Cleaning cycle will not begin.
Once the oven has completely cooled, remove the ash with a damp cloth. To avoid breaking the glass, do not apply a cool damp cloth to the inner door glass before it has completely cooled.
To stop the Self-Cleaning cycle at any time, press the Cancel keypad. If the temperature is too high, the oven door will remain locked, and “cool” and “
” will be displayed. The cooling fan may continue to run.
The oven light will not function during the Self-Cleaning cycle.
Electronic Oven Control with Adjustable Clean Time (on some models)
The Self-Cleaning cycle is time adjustable between 2 hours 30 minutes and 4 hours 30 minutes in 30-minute increments. Suggested clean times are 2 hours 30 minutes for light soil and 4 hours 30 minutes for heavy soil. The last 30 min. are for cooling down.
To Self-Clean:
- Press CLEAN.
- Press the Temp/Time up or down arrow keypad to enter the desired Self-Cleaning cycle time.
- Press the Start keypad.
The oven door will automatically lock. The Door Locked and Clean indicator lights will be displayed. The time remaining will also be displayed. - When the Self-Cleaning cycle is complete and the oven cools, the Door Locked and Clean indicator lights will turn off.
- When the oven is completely cooled, remove the ash with a damp cloth.
To exit the Self-Cleaning cycle before being completed, press the Cancel keypad. The door will unlock once the oven cools.
General Cleaning
IMPORTANT: Before cleaning, make sure all controls are off and the oven and cooktop are cool. Always follow label instructions on cleaning products. For additional information, you can visit the Frequently Asked Questions (FAQs) section of our website at www.whirlpool.ca.
Soap, water, and a soft cloth or sponge are suggested first unless otherwise noted.
EXTERIOR PORCELAIN ENAMEL SURFACES (on some models)
Food spills containing acids, such as vinegar and tomato, should be cleaned as soon as the entire range is cool. These spills may affect the finish.
Cleaning Method:
- Glass cleaner, mild liquid cleaner, or nonabrasive scrubbing pad: Gently clean around the model/serial/rating plate because scrubbing may remove numbers.
- Affresh® Kitchen and Appliance Cleaner Part Number W10355010 (not included): See the “Accessories” section for more information.
STAINLESS STEEL (on some models)
NOTE: To avoid damage to stainless steel surfaces, do not use soap-filled scouring pads, abrasive cleaners, Cooktop cleaners, steel-wool pads, gritty washcloths, or abrasive paper towels. Damage may occur to stainless steel surfaces, even with one-time or limited use.
Cleaning Method:
Rub in direction of the grain to avoid damage.
- Affresh ® Stainless Steel Cleaner Part Number W10355016 (not included): See the “Accessories” section for more information.
METALLIC PAINT (on some models)
Do not use abrasive cleaners, cleaners with bleach, rust removers, ammonia, or sodium hydroxide (lye) because the paint surface may stain.
PORCELAIN-COATED GRATES AND CAPS
Food spills containing acids, such as vinegar and tomato, should be cleaned as soon as the cooktop, grates, and caps are cool.
These spills may affect the finish.
To avoid chipping, do not bang grates and caps against each other or on hard surfaces such as cast iron cookware.
Do not reassemble caps on burners while wet.
Do not clean in the Self-Cleaning cycle.
Cleaning Method:
- Nonabrasive plastic scrubbing pad and mildly abrasive cleanser: Clean as soon as the cooktop, grates, and caps are cool.
- Dishwasher (grates only, not caps): Use the most aggressive cycle. Cooked-on soils should be soaked or scrubbed before going into a dishwasher.
- Gas Grate and Drip Pan Cleaner Part Number 31617: See the “Warranty” section for contact information.
SURFACE BURNERS
- See the “Sealed Surface Burners” section.
COOKTOP CONTROLS
To avoid damage to the cooktop controls, do not use steel wool, abrasive cleansers, or oven cleaner.
To avoid damage, do not soak knobs.
When replacing knobs, make sure knobs are in the Off position.
On some models, do not remove seals under knobs.
Cleaning Method:
- Soap and water: Pull knobs straight away from the control panel to remove them.
CONTROL PANEL AND OVEN DOOR EXTERIOR
To avoid damage to the control panel, do not use abrasive cleaners, steel-wool pads, gritty washcloths, or abrasive paper towels.
Cleaning Method:
- Glass cleaner and soft cloth or sponge:
Apply glass cleaner to a soft cloth or sponge, not directly on the panel. - Affresh® Kitchen and Appliance Cleaner Part Number W10355010 (not included):
See the “Accessories” section for more information.
OVEN RACKS
Cleaning Method:
- Steel-wool pad
- For racks that have discolored and are harder to slide, a light coating of vegetable oil applied to the rack guides will help them slide.
STORAGE DRAWER
Check that the storage drawer is cool and empty before cleaning.
Cleaning Method:
- Mild detergent
OVEN CAVITY
Do not use oven cleaners on models with a Self-Cleaning cycle. Food spills should be cleaned when the oven cools. At high temperatures, foods react with porcelain. Staining, etching, pitting, or faint white spots can result.
Cleaning Method:
- See the “Self-Cleaning Cycle” section.
Oven Light
The oven light is a standard 40 W appliance bulb. Before replacing, make sure the oven and cooktop are cool and the control knobs are in the Off position.
To Replace:
- Unplug the range or disconnect the power.
- Turn the glass bulb cover in the back of the oven counterclockwise to remove it.
- Turn the bulb counterclockwise to remove it from the socket.
- Replace bulb, then bulb cover by turning clockwise.
- Plug-in range or reconnect power.
TROUBLESHOOTING
First, try the solutions suggested here. If you need further assistance or more recommendations that may help you avoid a service call, refer to the warranty page in this manual, or visit producthelp.whirlpool.com. In Canada, visit www.whirlpool.ca.
Contact us by mail with any questions or concerns at the address below:
| In the U.S.A.: Whirlpool Brand Home Appliances Customer Experience Center 553 Benson Road Benton Harbor, MI 49022-2692 | In Canada: Whirlpool Brand Home Appliances Customer Experience Centre 200 – 6750 Century Ave. Mississauga, Ontario L5N 0B |
Please include a daytime phone number in your correspondence.
|
|
| Electrical Shock Hazard Plug into a grounded 3-prong outlet. Do not remove the ground prong. Do not use an adapter. Do not use an extension cord. Failure to follow these instructions can result in death, fire, or electrical shock. |
Operation
| Problem | Possible Causes and/or Solutions |
| Nothing will operate | Power supply cord is unplugged: Plug into a grounded 3 prong outlet. Household fuse is blown or a circuit breaker is tripped: Replace the fuse or reset the circuit breaker. If the problem continues, call an electrician. The main or regulator gas shut-off valve is in the Off position: See the Installation Instructions. The range is improperly connected to the gas supply: Contact a trained repair specialist or see the Installation Instructions. |
| Surface burners will not operate | The oven is in the Self-Cleaning cycle: Surface burners will not operate during the Self-Cleaning cycle. The control knob is not set correctly: Push in the knob before turning to a setting. Air in the gas lines: If this is the first time the surface burners have been used, tum on any one of the surface burner knobs to release air from the gas lines. Clogged burner ports: See the “Sealed Surface Burners” section. |
| Surface burner flames are uneven, yellow, and/ or noisy | Clogged burner ports: See the “Sealed Surface Burners” section. Burner caps positioned improperly: See the “Sealed Surface Burners” section. Range converted improperly: If Propane gas is being used, contact a service technician or see the “Warranty” section for contact information. |
| Excessive heat around cookware on cooktop | Cookware and flame are not matched: The cookware should be centered above the burner with the bottom sitting level on the grate. The flame should be adjusted so that it does not extend up the sides of the pan. |
| Cooktop cooking results are not what expected | Improper cookware: Ideal cookware should have a flat bottom, straight sides, and a well-fitting lid, and the material should be of a medium-to-heavy thickness. Control knob set to incorrect heat level: See the “Cooktop Use” section. The range is not level: Level the range. See the Installation Instructions. |
| The oven will not operate | Air in the gas lines: If this is the first time the oven has been used, turn on any one of the surface burner knobs to release air from the gas lines. The range is in Demo mode: Demo mode will deactivate all oven elements. See “Demo Mode” in the “Electronic Oven Controls” section. Electronic oven control set incorrectly: See the “Electronic Oven Controls” section. |
| Oven burner flames are yellow or noisy | Range converted improperly: If Propane gas is being used, contact a service technician or see the “Warranty” section for contact information. |
| Oven temperature too high or too low | Oven temperature needs adjustment: See “Oven Temperature Control” in the “Electronic Oven Controls” section. |
| Display shows messages | Power failure (Display shows flashing time.): Clear the display. On some models, reset the clock, if needed. See the “Clock” keypad feature in the “Feature Guide” section. Error code (Display shows letter followed by a number.): Depending on your motel, press the Cancel keypad to clear the display. See “Control Display” in the “Electronic Oven Controls” section. If it reappears, call for service. See the “Warranty” section for contact information. The range is in Sabbath mode (Display shows “SAb.”): Press the Cancel keypad to exit Sabbath mode. |
| The self-Cleaning cycle will not operate | The oven door is open: Close the oven door all the way. The function has not been entered: See the “Self-Cleaning Cycle” section. The self-Cleaning cycle has been run in the past 12 hours: If a Self-Cleaning cycle has been run or canceled after the oven has reached temperature, you will have to wait 12 hours to restart. |
| Oven cooking results are not what expected | The range is not level: Level the range. See the Installation Instructions. The set temperature was incorrect: Double-check the recipe in a reliable cookbook. Oven temperature needs adjustment: See “Oven Temperature Control” in the “Electronic Oven Controls” section. The oven was not preheated: See the “Baking and Roasting” section. Racks were positioned improperly: See the “Positioning Racks and Bakeware” section. Not enough air circulation around bakeware: See the “Positioning Racks and Bakeware” section. Darker browning of food caused by dull or dark bakeware: Lower oven temperature to 25°F (15°C) or move the rack to a higher position in the oven. Lighter browning of food caused by shiny or light-colored bakeware: Move the rack to a lower position in the oven. Batter distributed unevenly in the pan: Check that batter is level in the pan. Incorrect length of cooking time was used: Adjust cooking time. The oven door was not closed: Be sure that the bakeware does not keep the door from closing. The oven door was opened during cooking: Oven peeking releases oven heat and can result in longer cooking times. The oven door was open for too long: If the oven door remains open for too long, the heating elements will shut off until the oven door is closed. The rack is too close to the baking burner, making baked items too brown on bottom: Move the rack to a higher position in the oven. Pie crusts browning too quickly: Use aluminum foil to cover the edge of the crust and/or reduce baking temperature. |
Noises
| Problem | Possible Causes and/or Solutions |
| Surface burner making popping noises | Wet burner: Allow it to dry. |
| Gas range noises during Bake and Broil operations The following are some normal sounds with explanations. | These sounds are normal operational noises that can be heard each time the bake or broil burners ignite during the cycle. |
| Pop | The gas valve is opening or cycling on and will make a single pop when it snaps open from the solenoid. It sounds similar to a suction cup being pulled off of a piece of glass: This is normal. |
| Click | The igniters will click several times until the flame is detected. These are short clicking sounds like tapping a nail onto a piece of glass: This is normal. |
| VVoosh of poof | Bake or broil burner is igniting: This is normal. |
| Oven burner flames are yellow or noisy | Range converted improperly: If Propane gas is being used, contact a service technician or see the “Warranty” section for contact information. |
ACCESSORIES
For accessories in the U.S.A., you can visit our website at www.whirlpool.com or call us at 1-800-253-1301.
In Canada, you can visit our website at www.whirlpool.ca or call us at 1-800-807-6777.
| Affresh® Stainless Steel Cleaner (stainless steel models) Order Part Number W10355016 Affresh® Stainless Steel Cleaning Wipes (stainless steel models) Order Part Number W10355049 Affresh® Kitchen and Appliance Cleaner Order Part Number W10355010 Granite Cleaner and Polish Order Part Number W10275756 | Gas Grate and Drip Pan Cleaner Order Part Number 31617 Split Oven Rack Order Part Number 4396927 Porcelain Broiler Pan and Grid Order Part Number 4396923 Premium Broiler Pan and Roasting Rack Order Part Number W10123240 |
WHIRLPOOL® MAJOR APPLIANCE LIMITED WARRANTY
ATTACH YOUR RECEIPT HERE. PROOF OF PURCHASE IS REQUIRED TO OBTAIN WARRANTY SERVICE.
Please have the following information available when you call the Customer eXperience Center:
- Name, address, and telephone number
- The model number and serial number
- A clear, detailed description of the problem
- Proof of purchase, including dealer or retailer name and address
IF YOU NEED SERVICE:
- Before contacting us to arrange service, please determine whether your product requires repair. Some questions can be addressed without service. Please take a few minutes to review the Troubleshooting section of the Use and Care Guide or visit producthelp.whirlpool.com.
- All warranty service is provided exclusively by our authorized Whirlpool Service Providers. In the U.S. and Canada, direct all requests for warranty service to:
Whirlpool Customer eXperience Center
In the U.S.A., call 1-800-253-1301. In Canada, call 1-800-807-6777.
If outside the 50 United States or Canada, contact your authorized Whirlpool dealer to determine whether another warranty applies.
ONE YEAR LIMITED WARRANTY
WHAT IS COVERED
For one year from the date of purchase, when this major appliance is installed, operated, and maintained according to instructions attached to or furnished with the product, Whirlpool Corporation or Whirlpool Canada LP (hereafter “Whirlpool”) will pay for factory specified replacement parts and repair labor to correct defects in materials or workmanship that existed when this major appliance was purchased or, at its sole discretion, replace the product. In the event of product replacement, your appliance will be warranted for the remaining term of the original unit’s warranty period.
YOUR SOLE AND EXCLUSIVE REMEDY UNDER THIS LIMITED WARRANTY SHALL BE PRODUCT REPAIR AS PROVIDED HEREIN. Service must be provided by a Whirlpool designated service company. This limited warranty is valid only in the United States or Canada and applies only when the major appliance is used in the country in which it was purchased. This limited warranty is effective from the date of original consumer purchase. Proof of original purchase date is required to obtain service under this limited warranty.
WHAT IS NOT COVERED
- Commercial, non-residential, multiple-family use, or use inconsistent with the published user, operator, or installation instructions.
- In-home instruction on how to use your product.
- Service to correct improper product maintenance or installation, installation not in accordance with electrical or plumbing codes, or correction of household electrical or plumbing (e.g., house wiring, fuses, or water inlet hoses).
- Consumable parts (e.g., light bulbs, batteries, air or water filters, preservation solutions).
- Defects or damage caused by the use of non-genuine Whirlpool parts or accessories.
- Conversion of products from natural gas or propane gas.
- Damage from accident, misuse, abuse, fire, floods, acts of God, or use with products not approved by Whirlpool.
- Repairs to parts or systems to correct product damage or defects caused by unauthorized service, alteration, or modification of the appliance.
- Cosmetic damage including scratches, dents, chips, and other damage to the appliance finishes unless such damage results from defects in materials and workmanship and are reported to Whirlpool within 30 days.
- Discoloration, rust, or oxidation of surfaces resulting from caustic or corrosive environments including, but not limited to, high salt concentrations, high moisture or humidity, or exposure to chemicals.
- Food or medicine loss due to product failure.
- Pickup or delivery. This product is intended for in-home repair.
- Travel or transportation expenses for service in remote locations where an authorized Whirlpool servicer is not available.
- Removal or reinstallation of inaccessible appliances or built-in fixtures (e.g., trim, decorative panels, flooring, cabinetry, islands, countertops, drywall) that interfere with servicing, removal, or replacement of the product.
- Service or parts for appliances with original model/serial numbers removed, altered, or not easily determined.
DISCLAIMER OF IMPLIED WARRANTIES
IMPLIED WARRANTIES, INCLUDING ANY IMPLIED WARRANTY OF MERCHANTABILITY OR IMPLIED WARRANTY OF FITNESS FOR A PARTICULAR PURPOSE, ARE LIMITED TO ONE YEAR OR THE SHORTEST PERIOD ALLOWED BY LAW. Some states and provinces do not allow limitations on the duration of implied warranties of merchantability or fitness, so this limitation may not apply to you. This warranty gives you specific legal rights, and you also may have other rights that vary from state to state or province to province.
DISCLAIMER OF REPRESENTATIONS OUTSIDE OF WARRANTY
Whirlpool makes no representations about the quality, durability, or need for service or repair of this major appliance other than the representations contained in this warranty. If you want a longer or more comprehensive warranty than the limited warranty that comes with this major appliance, you should ask Whirlpool or your retailer about buying an extended warranty.
LIMITATION OF REMEDIES: EXCLUSION OF INCIDENTAL AND CONSEQUENTIAL DAMAGES
YOUR SOLE AND EXCLUSIVE REMEDY UNDER THIS LIMITED WARRANTY SHALL BE PRODUCT REPAIR AS PROVIDED HEREIN. WHIRLPOOL SHALL NOT BE LIABLE FOR INCIDENTAL OR CONSEQUENTIAL DAMAGES. Some states and provinces do not allow the exclusion or limitation of incidental or consequential damages, so these limitations and exclusions may not apply to you. This warranty gives you specific legal rights, and you also may have other rights that vary from state to state or province to province.
Notes
W11333082A
®/™ ©2019 Whirlpool. All rights reserved. Used under license in Canada.

To verify the anti-tip bracket is installed and engaged:





















