Whirlphool W11169653B Gas Range

THANK YOU for purchasing this high-quality product. Register your range at www.whirlpool.com. In Canada, register your range at www.whirlpool.ca.
For future reference, please make a note of your product model and serial numbers. These can be found on the label located under the broiler carriage.
- Model Number______
- Serial Number_______
RANGE SAFETY
Your safety and the safety of others are very important.
We have provided many important safety messages in this manual and on your appliance. Always read and obey all safety messages.
WARNING:
This is the safety alert symbol.
This symbol alerts you to potential hazards that can kill or hurt you and others.
All safety messages will follow the safety alert symbol and either the word “DANGER” or “WARNING.” These words mean:
DANGER
You can be killed or seriously injured if you don’t immediately follow instructions.
WARNING
You can be killed or seriously injured if you don’t follow instructions.
All safety messages will tell you what the potential hazard is, tell you how to reduce the chance of injury, and tell you what can happen if the instructions are not followed.
WARNING: If the information in these instructions is not followed exactly, a fire or explosion may result causing property damage, personal injury or death.
- Do not store or use gasoline or other flammable vapors and liquids in the vicinity of this or any other appliance.
WHAT TO DO IF YOU SMELL GAS: - Do not try to light any appliance.
- Do not touch any electrical switch.
- Do not use any phone in your building.
- Immediately call your gas supplier from a neighbor’s phone. Follow the gas supplier’s instructions.
- If you cannot reach your gas supplier, call the fire department.
Installation and service must be performed by a qualified installer, service agency or the gas supplier.
WARNING:
Gas leaks cannot always be detected by smell.
Gas suppliers recommend that you use a gas detector approved by UL or CSA. For more information, contact your gas supplier.
If a gas leak is detected, follow the “What to do if you smell gas” instructions.
State of California Proposition 65 Warnings:
WARNING: This product contains one or more chemicals known to the State of California to cause cancer
.WARNING: This product contains one or more chemicals known to the State of California to cause birth defects or other reproductive harm.
The Anti-Tip Bracket
The range will not tip during normal use. However, the range can tip if you apply too much force or weight to the open door without the anti-tip bracket fastened down properly.
WARNING
Tip Over Hazard
- A child or adult can tip the range and be killed.
- Verify the anti-tip bracket has been properly installed and engaged per installation instructions. Re-engage anti-tip bracket if range is moved.
- Do not operate range without anti-tip bracket installed and engaged.
- Failure to follow these instructions can result in death or serious burns to children and adults.

To verify the anti-tip bracket is installed and engaged:
- Slide range forward.
- Look for the anti-tip bracket securely attached to floor or wall.
- Slide range back so rear range foot is under anti-tip bracket.
- See installation instructions for details.

IMPORTANT SAFETY INSTRUCTIONS
WARNING: To reduce the risk of fire, electrical shock, injury to persons, or damage when using the range, follow basic precautions, including the following:
WARNING: TO REDUCE THE RISK OF TIPPING OF THE RANGE, THE RANGE MUST BE SECURED BY PROPERLY INSTALLED ANTI-TIP DEVICES. TO CHECK IF THE DEVICES ARE INSTALLED PROPERLY, SLIDE RANGE FORWARD, LOOK FOR ANTI-TIP BRACKET SECURELY ATTACHED TO FLOOR OR WALL, AND SLIDE RANGE BACK SO REAR RANGE FOOT IS UNDER ANTI-TIP BRACKET.
WARNING
NEVER use this appliance as a space heater to heat or warm the room. Doing so may result in carbon monoxide poisoning and overheating of the oven.
WARNING
NEVER cover any slots, holes or passages in the oven bottom or cover an entire rack with materials such as aluminum foil. Doing so blocks air flow through the oven and may cause carbon monoxide poisoning. Aluminum foil linings may also trap heat, causing a fire hazard.
CAUTION:
Do not store items of interest to children in cabinets above a range or on the backguard of a range –children climbing on the range to reach items could be seriously injured.
- Proper Installation – The range, when installed, must be electrically grounded in accordance with local codes or, in the absence of local codes, with the National Electrical Code, ANSI/NFPA 70. In Canada, the range must be electrically grounded in accordance with Canadian Electrical Code. Be sure the range is properly installed and grounded by a qualified technician.
- This range is equipped with a three-prong grounding plug for your protection against shock hazard and should be plugged directly into a properly grounded receptacle. Do not cut or remove the grounding prong from this plug.
- Disconnect power before servicing.
- Injuries may result from the misuse of appliance doors or drawers such as stepping, leaning, or sitting on the doors or drawers.
- Maintenance – Keep range area clear and free from combustible materials, gasoline, and other flammable vapors and liquids.
- Storage in or on the Range – Flammable materials should not be stored in an oven or near surface units.
- Top burner flame size should be adjusted so it does not extend beyond the edge of the cooking utensil.
For self-cleaning ranges - Before Self-Cleaning the Oven – Remove broiler pan and other utensils. Wipe off all excessive spillage before initiating the cleaning cycle.
SAVE THESE INSTRUCTIONS’
FEATURE GUIDE
This manual covers several models. Your model may have some or all of the items listed. Refer to this manual or Frequently Asked Questions (FAQs) section of our website at www.whirlpool.com for more detailed instructions. In Canada, reference the Customer Service section at www.whirlpool.ca.

| KEYPAD | FEATURE | INSTRUCTIONS |
| LIGHT | Oven cavity light | While the oven door is closed, turn the switch located at the right of the control panel to turn the oven light on and off. |
| BAKE | Baking and roasting | The oven turns on when the oven control dial is turned counterclockwise to the desired temperature. When the control is turned to the desired temperature, the bake burner turns to full power until the set temperature is reached, then temperature is maintained by the bottom burner cycling on and off. Allow oven to preheat for 10 to 12 minutes before putting in the food to bake. NOTE: To cancel bake, turn the oven control dial clockwise to the OFF position. |
| BROIL | Broiling | NOTE: The range comes with a broiler pan and tray. These should be in place during any cooking cycle, bake or broil. 1. Position cookware in the lower broiler oven and close the oven door. No preheating is necessary. 2. Turn the oven control to BR (broil) position to start broil. 3. Turn the oven control to the OFF position to cancel broil. |
COOKTOP USE
WARNING
Fire Hazard
- Do not let the burner flame extend beyond the edge of the pan.
- Turn off all controls when not cooking.
- Failure to follow these instructions can result in death or fire.

Electric igniters automatically light the surface burners when control knobs are turned to Light.
Before setting a control knob, place filled cookware on the grate. Do not operate a burner using empty cookware or without cookware on the grate.
To Set:
- Push in and turn knob counterclockwise to Light.
IMPORTANT: All 4 surface burners will click. Only the burner with the control knob turned to Light will produce a flame. - Turn knob to anywhere between Hi and Lo.
REMEMBER: When range is in use the entire cooktop area may become hot.
Power Failure
In case of prolonged power failure, the surface burners can be lit manually. Hold a lit match near a burner and turn knob counterclockwise to Light. After the burner lights, turn knob to setting.
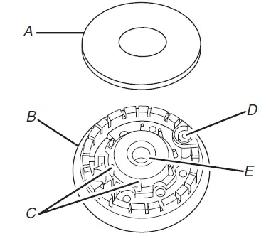
Sealed Surface Burners
- A. Burner cap
- B. Burner base
- C. Alignment pins
- D. Igniter
- E. Gas tube opening

IMPORTANT: Do not obstruct the flow of combustion and ventilation air around the burner grate edges.
Burner cap: Always keep the burner cap in place when using a surface burner. A clean burner cap will help avoid poor ignition and uneven flames. Always clean the burner cap after a spillover and routinely remove and clean the caps according to the “General Cleaning” section.
Gas tube opening: Gas must flow freely throughout the gas tube opening for the burner to light properly. Keep this area free of soil and do not allow spills, food, cleaning agents, or any other material to enter the gas tube opening. Keep spillovers out of the gas tube by always using a burner cap.

Burner ports: Check burner flames occasionally for proper size and shape as shown in the previous illustration. A good flame
is blue in color, not yellow. Keep this area free of soil and do not allow spills, food, cleaning agents, or any other material to enter the burner ports.
To Clean:
IMPORTANT: Before cleaning, make sure all controls are OFF and the oven and cooktop are cool. Do not use oven cleaners, bleach, or rust removers.
- Remove the burner cap from the burner base and clean according to the “General Cleaning” section.
- Clean the gas tube opening with a damp cloth.
- Clean clogged burner ports with a straight pin as shown.
Do not enlarge or distort the port. Do not use a wooden toothpick. If the burner needs to be adjusted, contact a trained repair specialist.
- Replace the burner cap, making sure the alignment pins are properly aligned with the burner cap.

- Turn on the burner. If the burner does not light, check cap alignment. If the burner still does not light, do not service the sealed burner yourself. Contact a trained repair specialist.
Grates
The grates on this range cover the full width of the cooktop. Lay the grates on the range so they lay flat and level.

Burner Size
Select a burner that best fits your cookware. See the following illustration and chart.

| Burner Size | Recommended Use |
| Small | ■ Low-heat cooking ■ Melting chocolate or butter |
| Medium
| ■ Multipurpose burner |
| Large | ■ For large cookware |
Cookware
IMPORTANT:
- Do not leave empty cookware on a hot surface cooking area, burner, or surface burner.
- Ideal cookware should have a flat bottom, straight sides, and a well-fitting lid, and the material should be of medium-to-heavy thickness.
- Rough finishes may scratch the cooktop or grates. Aluminum and copper may be used as a core or base in cookware.
- Cookware material is a factor in how quickly and evenly heat is transferred which affects cooking results.
- Cookware with nonstick surfaces should not be used under the broiler.
- Check for flatness by placing the straight edge of a ruler across the bottom of the cookware. While you rotate the ruler, no space or light should be visible between it and the cookware.

Use the following chart as a guide for cookware material characteristics.
| Cookware | Characteristics |
| Aluminum | ■ Heats quickly and evenly. ■ Suitable for all types of cooking ■ Medium or heavy thickness is best for most cooking tasks. |
| Cast iron | ■ Heats slowly and evenly. ■ Good for browning and frying ■ Maintains heat for slow cooking. |
| Ceramic or ceramic glass | ■ Follow manufacturer’s instructions. ■ Heats slowly but unevenly. ■ Ideal results on low- to medium-heat settings |
| Copper | ■ Heats very quickly and evenly. ■ May leave copper residues which may be diminished if cleaned immediately after cooking. |
| Earthenware/ Stoneware | ■ Follow manufacturer’s instructions. ■ Use on low-heat settings. |
| Porcelain enamel-on-steel or cast iron | ■ See stainless steel or cast iron. |
| Stainless steel | ■ Heats quickly but unevenly. ■ A core or base of aluminum or copper on stainless steel provides even heating. |
For best results, the cookware should be centered above the burner with the bottom sitting level on the grate. The flame should be adjusted so that it does not extend up the sides of the pan.

Home Canning
When canning for long periods, alternate the use of surface burners between batches. This allows time for the most-recently used areas to cool.
- Center the canner on the grate above the burner.
- Do not place canner on 2 surface burners at the same time.
- For more information, contact your local agricultural extension office or refer to published home canning guides. Companies that manufacture home canning products can also offer assistance.
OVEN USE
The normal operation of the range will include several noises that may be heard each time the bake or broil burners ignite during the cooking cycle:
- Gas valves may make a “popping” sound when opening or closing.
- A “poof” sound is heard when a bake or broil burner ignites.
Odors and smoke are normal when the oven is used the first few times or when it is heavily soiled.
IMPORTANT: The health of some birds is extremely sensitive to the fumes given off. Exposure to the fumes may result in death to certain birds. Always move birds to another closed and well-ventilated room.
Oven Cooking
Oven Control
To use your oven, turn the oven control dial counterclockwise to the desired temperature. When the control is turned on, the bake burner turns to full power until the set temperature is reached, then temperature is maintained by the bottom burner cycling on and off.
Oven Light
The switch located at the right of the control panel turns the oven light on and off.
Aluminum Foil
IMPORTANT: To avoid permanent damage to the oven bottom finish, do not line the oven bottom with any type of foil or liner.
For best cooking results, do not cover entire oven rack with foil because air must be able to move freely.
Positioning Racks and Bakeware
IMPORTANT: To avoid permanent damage to the porcelain finish, do not place food or bakeware directly on the oven door or bottom.
Bakeware
To cook food evenly, hot air must be able to circulate. Allow 2″ (5 cm) of space around bakeware and oven walls. Make sure that no bakeware piece is directly over another.
Racks
- Position racks before turning on the oven.
- Do not move racks with bakeware on them.
- Make sure racks are level.
To move a rack, pull it out to the stop position, raise the front edge, and then lift out. Use the following illustration as a guide.

Rack Positions
- Rack 4: Broiling and toasting
- Rack 3: Most baked goods on a cookie sheet, jellyroll pan, or muffin pan; casseroles; frozen convenience foods
- Rack 2: Roasting small cuts of meat and poultry, pies, bundt and angel food cakes, yeast bread, quick breads, and 2-rack baking
- Rack 1: Roasting large cuts of meat and poultry
Oven Vent

A. Oven vent
The oven vent releases hot air and moisture from the oven and should not be blocked or covered. Blocking or covering the oven vent will cause poor air circulation, affecting cooking and cleaning results. Do not set plastics, paper, or other items that could melt or burn near the oven vent.
- Baking and Roasting
Before baking and roasting, position racks according to
“Positioning Racks and Bakeware” section. When roasting, it is not necessary to wait for the oven preheat cycle to end before putting food in unless it is recommended in the recipe. - Preheating
The oven should be preheated for most baked products (cakes, pies, bread, etc.). Preheat oven by rotating the temperature control dial to the temperature needed for the product being cooked. Allow 10 to 12 minutes before putting food in the oven. - Oven Temperature
While in use, the oven burner will cycle on and off as needed to maintain a consistent temperature, but they may run slightly hot or cool at any point in time due to cycling. Opening the oven door while in use will release the hot air and cool the oven which could impact the cooking time and performance. It is recommended to use the oven light to monitor cooking progress. - Temperature Management System
The Temperature Management System electronically regulates the oven heat levels during preheat and Bake to maintain a precise temperature range for optimal cooking results. The bake and broil burners or burners cycle on and off in intervals.
Broiling
NOTE: The range comes with a broiler pan and tray. These should be in place during any cooking cycle, bake or broil.
Position food on grid in a broiler pan, then place it in the center of the lower broiler oven. Close the oven door while broiling. No preheating is necessary.
- The broiler pan and grid is designed to drain juices and help avoid spatter and smoke.
NOTE: Odors and smoke are normal the first few times the oven is used or if the oven is heavily soiled.
RANGE CARE
General Cleaning
IMPORTANT: Before cleaning, make sure all controls are OFF and the oven and cooktop are cool. Always follow label instructions on cleaning products. For additional information, you can visit the Frequently Asked Questions (FAQs) section of our website at www.whirlpool.com. In Canada, reference the Customer Service section at www.whirlpool.ca.
Soap, water, and a soft cloth or sponge are suggested first unless otherwise noted.
EXTERIOR PORCELAIN ENAMEL SURFACES (on some models)
Food spills containing acids, such as vinegar and tomato, should be cleaned as soon as the entire range is cool. These spills may affect the finish.
Cleaning Method:
- Glass cleaner, mild liquid cleaner, or nonabrasive scrubbing pad: Gently clean around the model and serial number plate because scrubbing may remove numbers.
- Affresh® Kitchen and Appliance Cleaner Part Number W10355010 (not included):
See the “Warranty” section for contact information.
STAINLESS STEEL (on some models)
NOTE: To avoid damage to stainless steel surfaces, do not use soap-filled scouring pads, abrasive cleaners, Cooktop Cleaner, steel-wool pads, gritty washcloths, or abrasive paper towels. Damage may occur to stainless steel surfaces, even with one-time or limited use.
Cleaning Method:
Rub in direction of grain to avoid damaging.
- Affresh® Stainless Steel Cleaner Part Number W10355016 (not included):
See the “Warranty” section for contact information.
METALLIC PAINT (on some models)
Do not use abrasive cleaners, cleaners with bleach, rust removers, ammonia, or sodium hydroxide (lye) because the paint surface may stain.
PORCELAIN-COATED GRATES AND CAPS
Food spills containing acids, such as vinegar and tomato, should be cleaned as soon as the cooktop, grates, and caps are cool. These spills may affect the finish.
To avoid chipping, do not bang grates and caps against each other or hard surfaces such as cast iron cookware.
Do not reassemble caps on burners while wet.
Cleaning Method:
- Nonabrasive plastic scrubbing pad and mildly abrasive cleanser:
Clean as soon as cooktop, grates, and caps are cool. - Dishwasher (grates only, not caps):
Use the most-aggressive cycle. Cooked-on soils should be soaked or scrubbed before going into a dishwasher. - Gas Grate and Drip Pan Cleaner Part Number 31617: See the “Warranty” section for contact information.
SURFACE BURNERS
- See the “Sealed Surface Burners” section.
COOKTOP CONTROLS
To avoid damage to the cooktop controls, do not use steel wool, abrasive cleansers, or oven cleaner.
To avoid damage, do not soak knobs. When replacing knobs, make sure knobs are in the Off position.
On some models, do not remove seals under knobs.
Cleaning Method:
- Soap and water:
Pull knobs straight away from control panel to remove.
OVEN DOOR GLASS
To avoid damage to the oven door glass, do not use abrasive cleaners, steel-wool pads, gritty washcloths, or abrasive paper towels.
Cleaning Method:
- Glass cleaner and soft cloth or sponge:
Apply glass cleaner to soft cloth or sponge, not directly on glass. - Affresh® Kitchen and Appliance Cleaner Part Number W10355010 (not included):
See the “Warranty” section for contact information.
OVEN RACKS
Cleaning Method:
- Steel-wool pad
- For racks that have discolored and are harder to slide, a light coating of vegetable oil applied to the rack guides will help them slide.
OVEN CAVITY
Food spills should be cleaned when oven cools. At high temperatures, foods react with porcelain. Staining, etching, pitting, or faint white spots can result.
Cleaning Method:
- Clean when the oven is cooled with detergent and water, using a soap-filled steel wool pad on burned spots. Rinse and wipe dry.
NOTE: Oven cleaners can coat or damage the temperature sensing bulb (long tube in the oven) so that it will not sense temperature correctly. If you are using an oven cleaner, avoid contact with the rod-shaped bulb of the thermostat. Be sure that any residue that touches the bulb is removed.
Oven Light
The oven light is a standard 40-watt appliance bulb. Before replacing, make sure the oven and cooktop are cool and the control knobs are in the Off position.
To Replace:
- Unplug range or disconnect power.
- Turn bulb counterclockwise to remove from socket.
- Replace bulb, by turning clockwise.
- Plug in range or reconnect power.
TROUBLESHOOTING
First try the solutions suggested here. If you need further assistance or more recommendations that may help you avoid a service call, or visit www.whirlpool.com/product_help. In Canada, visit http://www.whirlpool.ca.
Contact us by mail with any questions or concerns at the address below:
In the U.S.A.:
Whirlpool Brand Home Appliances Customer eXperience Center 553 Benson Road
Benton Harbor, MI 49022-2692
In Canada:
Whirlpool Brand Home Appliances Customer eXperience Centre 200 – 6750 Century Ave. Mississauga, Ontario L5N 0B7
Please include a daytime phone number in your correspondence.
WARNING:
- Electrical Shock Hazard
- Plug into a grounded 3 prong outlet.
- Do not remove ground prong.
- Do not use an adapter.
- Do not use an extension cord.
- Failure to follow these instructions can result in death, fire, or electrical shock.
| PROBLEM | POSSIBLE CAUSES AND/OR SOLUTIONS |
| Nothing will operate | Power supply cord is unplugged – Plug into a grounded 3 prong outlet. Household fuse is blown or a circuit breaker is tripped – Replace the fuse or reset the circuit breaker. If the problem continues, call an electrician. Main or regulator gas shut-off valve is in the Off position – See the Installation Instructions. The range is improperly connected to the gas supply – Contact a trained repair specialist or see Installation Instructions. |
| Surface burners will not operate | The control knob is not set correctly – Push in knob before turning to a setting. Air in the gas lines – If this is the first time the surface burners have been used, turn on any one of the surface burner knobs to release air from the gas lines. Clogged burner ports – See the “Sealed Surface Burners” section. |
| Surface burner flames are uneven, yellow, and/ or noisy | Clogged burner ports – See the “Sealed Surface Burners” section. Burner caps positioned improperly – See the “Sealed Surface Burners” section. Range converted improperly – If propane gas is being used, contact a service technician or see the “Warranty” section for contact information. |
| Excessive heat around cookware on cooktop | Cookware and flame are not matched – The cookware should be centered above the burner with the bottom sitting level on the grate. The flame should be adjusted so that it does not extend up the sides of the pan. |
| Cooktop cooking results not what expected | Improper cookware – Ideal cookware should have a flat bottom, straight sides, and a well-fitting lid, and the material should be of a medium-to-heavy thickness. Control knob set to incorrect heat level – See the “Cooktop Use” section. Range is not level – Level the range. See the Installation Instructions. |
| Oven will not operate | Air in the gas lines – If this is the first time the oven has been used, turn on any one of the surface burner knobs to release air from the gas lines. |
| PROBLEM | POSSIBLE CAUSES AND/OR SOLUTIONS |
| Oven burner flames are yellow or noisy | Range converted improperly – If propane gas is being used, contact a service technician or see the “Warranty” section for contact information. |
| Oven cooking results not what expected | Range is not level – Level the range. See the Installation Instructions. The set temperature was incorrect – Double-check the recipe in a reliable cookbook. Oven was not preheated – See the “Baking and Roasting” section. Racks were positioned improperly – See the “Positioning Racks and Bakeware” section. Not enough air circulation around bakeware – See the “Positioning Racks and Bakeware” section. Darker browning of food caused by dull or dark bakeware – Lower oven temperature 25°F (15°C) or move rack to a higher position in the oven. Lighter browning of food caused by shiny or light-colored bakeware – Move rack to a lower position in the oven. Batter distributed unevenly in pan – Check that batter is level in the pan. Incorrect length of cooking time was used – Adjust cooking time. Oven door was not closed – Be sure that the bakeware does not keep the door from closing. Oven door was opened during cooking – Oven peeking releases oven heat and can result in longer cooking times. Oven door was open for too long – If the oven door remains open for too long, heat escapes and the temperature will drop. Rack is too close to bake burner, making baked items too brown on bottom – Move rack to higher position in the oven. Pie crusts browning too quickly – Use aluminum foil to cover the edge of the crust and/or reduce baking temperature. |
Noises
| PROBLEM | POSSIBLE CAUSES AND/OR SOLUTIONS |
| Surface burner making popping noises | Wet burner – Allow it to dry. |
| Gas range noises during Bake and Broil operations The following are some normal sounds with the explanations. | These sounds are normal operational noises that can be heard each time the bake or broil burners ignite during the cycle. |
| Pop | Gas valve is opening or cycling on and will make a single pop when it snaps open from the solenoid. It sounds similar to a suction cup being pulled off of a piece of glass – This is normal. |
| Woosh of poof | Bake or Broil burner is igniting – This is normal. |
| Oven burner flames are yellow or noisy | Range converted improperly – If propane gas is being used, contact a service technician or see the “Warranty” section for contact information. |
ACCESSORIES
For accessories in the U.S.A., you can visit our website at www.whirlpool.com or call us at 1-800-253-1301.
In Canada, visit our website at www.whirlpool.ca or call us at 1-800-807-6777.
- Affresh® Stainless Steel Cleaner
(stainless steel models)
Order Part Number W10355016 - Affresh® Stainless Steel Cleaning Wipes
(stainless steel models)
Order Part Number W10355049 - Affresh® Kitchen and Appliance Cleaner
Order Part Number W10355010
Granite Cleaner and Polish
Order Part Number W10275756






















