KLARSTEIN 10035372 Sauenland Survivor Suckling Pig BBQ Grill

Dear Customer,
Congratulations on purchasing this device. Please read the following instructions carefully and follow them to prevent possible damages. We assume no liability for damage caused by disregard of the instructions and improper use. Scan the QR code to get access to the latest user manual and more product information.
TECHNICAL DATA
| Item number | 10035372 |
| Power supply | 220-240 V ~ 50/60 Hz |
| Engine power | 12 W |
| Maximum load | 70 kg |
SAFETY INSTRUCTIONS
- This appliance, including the motor, is intended for grilling only.
- Always use only the supplied power cord.
- The power cord should be checked regularly for damage. If it is damaged, do not use the appliance.
- Children over the age of 8 years, mentally, sensorially and physically handicapped persons may only use the appliance if they have been thoroughly familiarized with the functions and safety precautions by a supervisor responsible for them and understand the risks involved.
- Keep the device and the cable out of the reach of children.
- If the power cord or plug is damaged, it must be replaced by the manufacturer, an authorised specialist company or a similarly qualifi ed person.
- Never operate the device in a damp environment or in the rain.
- Unplug the power cord before cleaning. Make sure that the plug does not get wet.
- Check the unit and the electrical components regularly for wear. If any parts are broken, do not use the appliance any further.
- Never place the appliance on an uneven surface.
- The appliance is not intended for commercial use, but only for domestic use and similar environments. This includes kitchens in offi ces, farms, hotels, motels and facilities that offer bed & breakfast.
- Turn off the appliance, unplug the power cord and allow the appliance to cool down before cleaning and storing.
- Do not use abrasive cleaning agents.
- Never clean the appliance under running water, this can cause a short circuit or electric shock!
- The grill motor may only be used outside in dry weather. Do not use it in rain or high humidity.
CAUTION: Risk of burns! Parts of the grill become very hot when the appliance is in operation. Be careful and use protective gloves when using the grill.
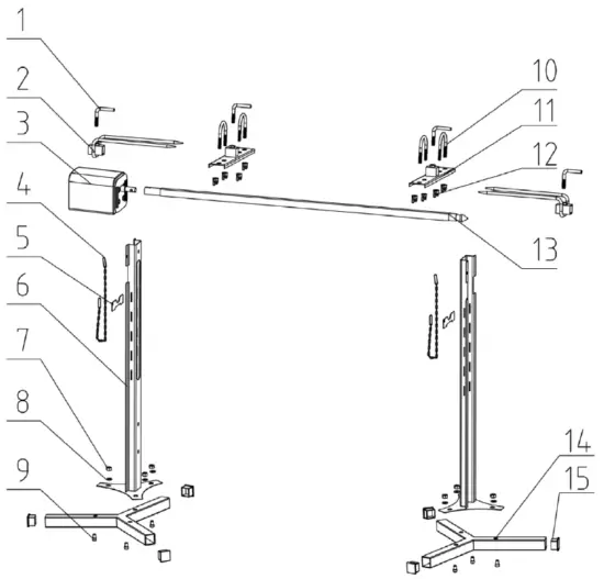
PRODUCT OVERVIEW

- L-bolt M8
- Meat fork
- Motor
- Chain set
- Motor &Rod bracket
- Support rod
- Nut M10
- Washer M10
- Hexagon head screw M10*20
- U-bolt M8*45
- Meat clamp
- Wing screw M8
- Spit rod
- Triangle base
- Plastic protect tube
ASSEMBLY
Required tools:
- M10 Allen wrench
- Normal wrench


OPERATION
- Remove all packaging materials from the outside and inside of the grill.
- Check that the voltage of your appliance matches the voltage of your power outlet.
- Fully unwind the power cord before use.
- If you are using an extension cord, place it so that no one will trip over it.
- When using it, take care not to wrap clothing or other objects around the motor.
- Before using the grill for the first time without food, light the fire without the motor for about 30 minutes to remove all factory contamination.
CLEANING AND CARE
- Pull the plug out of the socket.
- Let the grill cool down completely.
- Clean the individual parts of the grill with warm soapy water and a soft cloth.
- Only wipe the motor with a damp cloth. Make sure that no water gets into the motor.
Storage
Protect the motor from dust and dirt. If the unit is not to be used for a long time, wrap it in plastic foil and store it in a dry place.
HINTS FOR DISPOSAL
If there is a legal regulation for the disposal of electrical and electronic devices in your country, this symbol on the product or on the packaging indicates that this product must not be disposed of with household waste. Instead, it must be taken to a collection point for the recycling of electrical and electronic equipment. By disposing of it in accordance with the rules, you are protecting the environment and the health of your fellow human beings from negative consequences. For information about the recycling and disposal of this product, please contact your local authority or your household waste disposal service.
MANUFACTURER & IMPORTER (UK)
Manufacturer:
Chal-Tec GmbH, Wallstrasse 16, 10179 Berlin, Germany.
Importer for Great Britain:
Chal-Tec UK limited Unit 6 Riverside Business Centre Brighton Road Shoreham-by-Sea BN43 6RE United Kingdom



















