VALDOSTA 2.0
Gas Grill
10035413
Dear Customer,
Congratulations on purchasing this device. Please read the following instructions carefully and follow them to prevent possible damage. We assume no liability for damage caused by disregard of the instructions and improper use. Scan the QR code to get access to the latest user manual and more product information.
TECHNICAL DATA
| Item number | 10035413 |
| Total heat output | 7.2 kW (254 g/h) |
| – per the main burner (number) | 3.6 kW (2) |
| – per side burner (number) | – |
| Gas category | I3B/P (50) |
| Countries | AT, DE, CH, LU, SK |
| Gas | Butane, Propane |
| Gas pressure | 50 mbar |
| KLARSTEIN Product name: Valdosta 2.0 Item number: 10035413 Pin code:1336CU019 Chal-Tec GmbH, Wallstr. 16, 10179 Berlin, GermanyWWW.KLARSTEIN.CO.UK | ||||||
| Country of Destination | Appliance Category | Gas Type and Supply Pressure | Main burner | Side burner | Total Nominal Heat Inputs (Hs) | |
| Injector Size Ø | Injector Size Ø | |||||
| LU, NL, DK, FI, SE, CY, CZ, EE, LT, MT, SK, SI, BG, IS, NO, TR, HR, RO, IT, HU, LV | I3B/P(30)![]() | Propane, butane, and their mixtures: 28~30 mbar | 0.91 mm | – | 7.2 kW (524 g/h) | |
| BE, FR, IT, LU, IE, GB, GR, PT, ES, CY, CZ, LT, SK, CH, SI, LV | I3+28~30/37)![]() | Butane/Propane: 28~30/37 mbar | 0.91 mm | – | ||
| PL | I3B/P(37)![]() | Propane, butane, and their mixtures: 37 mbar | 0.91 mm | – | ||
| AT, DE, SK, CH, LU | I3B/P(50) | Propane, butane, and their mixtures: 50 Barr | 0.80 mm | – | ||
| • WARNING: accessible parts may be very hot. Keep young children away. • Read the instructions before using the appliance. • Use the appliance outdoors only. | 1336-20 | |||||
| a) Choose the proper regulator according to appliance category and your local standard. The regulator should comply with EN 16129 and local codes. The flexible hose with approval of EN16436-1:2014. b) Marking on the injector, for example, 0.91 indicates that the size of the injector is 0.91 mm. | ||||||
SAFETY INSTRUCTIONS
- Please read this manual carefully before using the appliance. Failure to follow the instructions may cause problems and danger during use.
- Keep this manual for future reference.
- The grill is suitable for outdoor use only. Do not operate the grill inside buildings, garages, or other enclosed areas.
- Children must not use the appliance! Persons with reduced physical, sensory or mental capabilities or those with a lack of experience and knowledge may only use the appliance if they are instructed on how to do so by a person responsible for their safety, or if they are supervised and understand the hazards associated with the use of the appliance.
WARNING
Risk of burns! Accessible parts of the appliance get very hot during and after use. Use oven gloves to protect against burns, and keep young children and pets away from the grill. - This appliance must be kept away from flammable materials during use.
- Place your gas grill on a safe level surface, away from inflammable items such as wooden fences or overhanging tree branches
- Do not store or use gasoline, mentholated fuels, or other flammable vapors and liquids near this appliance when operating the gas grill
- Do not move the appliance during use.
- Care is advised when operating your gas grill, you should never leave it unattended when in use. Turn off the gas supply at the gas cylinder after use.
- When grilling, the appliance must stand on a flat, stable, non-flammable surface and must be kept at a safe distance from flammable materials. It is recommended to keep a minimum distance of 0.5 to 1.0 meters from any flammable materials.
- Before using the grill, always perform a leak test as described in this manual. Check the hose, regulator, valve, and all other gas lines for holes. Never use the appliance if you find a gas leak.
- In the event of a gas leak, immediately shut off the gas supply at the cylinder, extinguish any open flame and open the lid. Check the hoses for damage and/or poor connection. If the leak continues, immediately contract as an approved gas dealer.
- Do not attempt to disconnect any gas fittings or connectors when the appliance is being used.
- If rain, snow, hail, sleet, or other forms of rainfall are in the grill while cooking with oil or fat, immediately cover the cooking bowl and turn off the burner and gas supply. Do not try to move the appliance or the cooking container.
- This appliance should never be used as a heater.
- The appliance or the appliance components must not be changed by the user. Any modification of the appliance may be dangerous and may result in damage to property and/or personal injury or death. Do not attempt any unauthorized interference of the main controls on this gas grill, i.e. gas taps, injectors, valves, etc.
- Parts sealed by the manufacturer or his agent must not be altered by the user. Never attempt to repair the appliance yourself. Repairs should only be carried out by qualified personnel.
- The gas grill should be serviced at least once a year by a qualified technician. Do not attempt to service this appliance yourself.
- Before each use of the appliance, check whether there are insects or insect nests in the burner, in the pipes, and in the appliance openings, and remove them if they are present. Spiders and small insects can nest in the pipes and appliance openings when the appliance is not in use. This may block the flow of air and gas, causing a yellow flame recoil and a fire below the burner. To prevent this, remove insects and insect nests, if present, before each use.
Gas Requirements
Note: The appliance must be equipped with an EN 16129 approved gas regulator and EN 16436-1 approved gas hose with a minimum length of one meter. If not included in the delivery, they must be purchased additionally.
- For details on the more exact use of your gas bottles, contact your local gas bottle dealer.
- Never use a gas bottle with a damaged container, valve, base, or ring.
- A deformed or rusty gas bottle can be dangerous and should be checked for functionality by your local gas bottle dealer before use.
- Never connect the appliance to an uncontrollable gas source. Turn off the gas when the appliance is not in use.
- The appliance may only be operated with propane gas or butane gas or a gas mixture of both types of gas. The gas bottle must not fall down or be handled roughly. The connection to the gas bottle must be disconnected when the grill is not in use. After disconnecting, replace the cap on the gas bottle.
- Before connecting the gas bottle to the grill, make sure the gas tap is turned off, there are no open flames near the appliance, and the gasket is in good condition. Then connect the pressure regulator to the gas bottle.
- The connection hose must be replaced every two years.
- Check the connection hose once a month and every time the gas bottle is changed. If the connection hose shows cracks or other signs of deterioration, it should be replaced with a new one.
- It is necessary to change the connection hose when the national conditions require it.
- Check the connection hose once a month and every time the gas bottle is changed. If the connection hose shows cracks or other signs of deterioration, it should be replaced with a new one.
- Before replacing the gas bottle, make sure that the gas has been shut off and there are no open flames or other sources of heat near the appliance. Make sure that the gas bottle is permanently in an upright position.
- Only use the connections and accessories of the appliance for their intended uses.
- Do not turn the gas bottle upside down to use the remaining gas.
- Never light a gas grill with petrol or comparable liquids!
Notes on Refi telling Gas Cylinders
Certain Liquid gas dealers may fill liquid gas cylinders for use in the grill beyond cylinder filling capacity. This “Overfilling” may create a dangerous condition. “Overfilling” tanks can build up excess pressure. As a safety device, the tank’s pressure relief valve will vent gas vapor to relieve this excess pressure. This vapor is combustible and therefore can be ignited. To reduce this danger, you should take the following safety precautions:
- When you have your tank filled, be sure you tell the supplier to fill it to no more than 80 % of its total capacity.
- If you own or use an extra spare tank, or have a disconnected tank, you should never store it near or under the grill unit or heat box, or near any other ignition or heat source.
WARNING
Fire and explosion hazard!
If you smell gas:
- Turn off the gas supply to the appliance at the gas cylinder.
- Extinguish any open flame.
- Open the lid.
- If the odor continues, keep away from the appliance and call your local fire department.
Leak Test
- Perform a leak test each time the gas bottle is connected or reconnected.
- Never use an open flame to check if gas is leaking.
- Do not smoke while performing the leak test.
- Always carry out the leak test outdoors in a well-ventilated area away from ignition sources such as gasoline, open flames, sparks, or electrical equipment.
- The appliance must be checked regularly for gas leaks. If a smell of gas is perceptible, the leak test must be carried out immediately.
Carrying out the leak test
- Make a soap and water solution in a ratio of 1: 3. The soap solution can be applied to the areas to be tested with a bottle, brush, dishwashing bottle, or cloth: gas bottle valve, gas regulator, all gas connections, hose connections, and along the entire length of the connection hose.
- The gas valve should be turned to the “OFF” position when applying the soap solution. Once the soap solution has been applied everywhere, the gas valve should be turned to the “ON” position.
- If there is a leak at one point, bubbles will appear at the appropriate place.
- If there is a leak, immediately turn on the gas valve. Tighten the leaking fi things, open the gas valve and check all locations again.
- If the leak does not close after several attempts, contact your local gas dealer or similarly qualified person. Never use the grill as long as there is a leak.
SCOPE OF DELIVERY

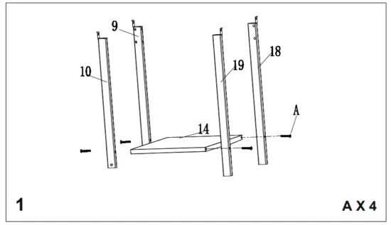
PARTS LIST

ASSEMBLY
Make sure your grill is assembled properly. Detailed assembly instructions are packed with each grill giving specific assembly procedures for each model. Follow these instructions carefully to ensure the correct and safe assembly of the grill.
CAUTION
Risk of injury! Although we take every effort to ensure that the assembly process is as easy as possible, it is inherent with fabricated steel parts that corners and edges can cause cuts if improperly handled during assembly procedures. Be careful while handling any parts during assembly. It is strongly recommended that you protect your hands with a pair
of work gloves.






INSTALLATION
Preparation
- You will need a gas cylinder and proper regulators under the gas pressure to operate this gas grill. The regulators should comply with EN 16129 with the current version and national regulation.
- Connect the hose and regulator to the gas cylinder on the left side of the gas grill. Keep in mind that the gas cylinder must be kept away from heat and in a safe position.
The hose should have a diameter of 8-10 mm. The recommended length of the hose must not exceed 1.5 m. The flexible hose should comply with the relevant standard and local regulations.
Installation
After purchasing your gas cylinder you will then be ready to set it up with your gas grill.
- When changing the gas cylinder, it shall be carried out away from any source of ignition.
- Position the gas cylinder on the left side of your gas grill or place it in the gas cylinder compartment inside the grill, keeping in mind that the bottle must be kept away from heat and in a safe position.
- When ready to use your gas grill insert the regulator into the gas bottle valve and tighten firmly.
WARNING
Risk of injury and material damage! Before attempting to light your gas grill, follow all instructions, warnings, and safety precautions described in this manual.
- Check the hose before each use, searching for cracking, cuts, or any abrasions. If the hose is found to be faulty in any way do not attempt to use your gas grill.
- When changing your gas bottle ensure that there are no sources of ignition close by i.e. fires, cigarettes, naked flames, etc. Make sure that the appliance is switched off.
- Ensure that the hose is not subjected to twisting which will affect the gas flow when installing your gas grill. Also, the hose must not have undue tension and must not touch any part of the gas grill which may be hot.
- Please choose a flexible hose whose heatproof is higher than 80 °C.
- Flexible tube should be changed every 2 years. It’s necessary to change the flexible tube when the national conditions require it.
How to Change a Gas Cylinder
Note: Close the gas cylinder regulator (no wrench is required!)
- The gas cylinder should have the following dimensions: 80 cm height and max.
35 cm in width.
How to Connect a Gas Cylinder
- Turn the orange cap so that the arrow is pointing to the gap in the shroud.
- Remove the orange safety cap by pulling the lanyard out, then out. Do not use tools. Leave the cap hanging.
- Check that the black sealing washer is fitted inside the cylinder valve. Connect the regulator to the valve.
- Turn the gas cylinder regulator clockwise and then operate the gas grill as described.
| Gas connection for the model without gas cylinder compartment: |
![]() |
WARNING
Fire and explosion hazard! First, check the connection of the gas hose for leaks using a soap and water solution. After completion of the installation, carry out a new leak test with soapy water on all connections.
How to Disconnect a Gas Cylinder
- Except for twin-cylinder installations with a changeover valve, turn off the gas tap if fitted to the appliance. Wait until the burner and pilot light has gone out. For installations with a changeover valve, it is only necessary to switch off the empty cylinder.
- Replace the orange safety cap on the empty cylinder.
OPERATION
Notes on Commissioning
- Place your gas grill on a safe level surface, away from inflammable items such as wooden fences or overhanging tree branches. Never use your gas grill indoors!
- Always test all gas connections for leaks after connecting the gas cylinder using soapy water. Turn off the gas cylinder valve if there is a gas leak. If the leak persists, contact the manufacturer or customer service.
Notes on operation
- Be prepared if an accident or fire should occur. Know where the first aid kit and fire extinguishers are and know how to use them. Keep a fire extinguisher handy.
- Keep any electrical supply cord and the fuel supply hose away from any heated surfaces.
- The top lid must always be open when lighting the burner.
- Once lit do not move your gas grill or leave it unattended.
- The gas grill will become hot when in use, so handle lids, etc. with the help of gloves.
- Assessable parts may be very hot, Keep young children away!
WARNING
Risk of burns! The handle black area (see the below picture for reference) will become hot when the gas grill is in use, be careful! Do not touch the black area.
- Use oven gloves and sturdy, long-handled gas grill tools when cooking on the grill.
- Always proceed with the greatest care when grilling.
- Do not heat any unopened glass or metal container of food on the grill. Pressure may build up and cause the container to burst, possibly resulting in serious personal injury or damage to the grill.
- Turn off the gas supply at the gas cylinder after each use.
NOTE: You can place a pot or a pan on the side burner. The diameter of the pot or pan should be max. Ø 24 cm and min. Ø 8 cm.
Lighting the Gas Grill
CAUTION
Risk of fire and burns! The lid must be open when lighting the burner!
Do not stand with your face directly over the gas grill when lighting it.
Your gas grill will have the following method of ignition:
Pilot Gas Control Ignition (Main burner or main burner with side burner):
- With all gas controls on the gas grill in the “OFF” position “OFF”, turn the gas cylinder valve to the on the position at the regulator. To create a spark you must press the control knob and hold it in this position for 3-5 seconds to allow gas flow and then turn anticlockwise to” HIGH”. It can spark to the burner lighting tube. You will hear a “snap” from the igniter and you will also see an orange flame coming from the burner lighting tube on the left side of the burner.
- Continue to hold the burner control knob in for two seconds after the “snap”, this will allow gas to flow completely down the burner tube and insure ignition.
- When the burner is alight, adjacent burners will cross light when their controls are turned to “HIGH”.
- At the “HIGH” setting the burner flame should be approximately 12-20 mm long with a minimum of orange flame.
- Turn the control knob fully anticlockwise for the minimum setting.
- If you have any difficulty lighting your gas grill when following the above steps, contact the manufacturer or customer service.
Note: If the automatic ignition cannot be used, please remove the cooking grill and heat diffuser (hotplate), and turn the valve anticlockwise to 90° to light with a BBQ lighter at a distance of 5 mm to the burner fire hole. Replace the cooking grill and heat diffuser (hotplate). Please wear fireproof and heat-resisting gloves.
WARNING
Fire and explosion hazard! If the burner still does not ignite, turn the gas control knob to „OFF“ and wait 5 minutes for the unburned gas to evaporate before attempting to light the gas grill again.
Tips for Energy Saving Use
- Reduce the opening time of the lid.
- Turn the grill off as soon as cooking is completed.
- Preheat the gas grill for 10 to 15 minutes only (except for the first use).
- Do not preheat longer than recommended.
- Do not use a higher setting than required.
STORAGE
Note: Make sure that the grill has cooled down completely before storage.
Storage of the Gas Cylinder
- Disconnect the gas cylinder from the gas grill when it is no longer in use.
- Ensure that you are outdoors and away from any sources of ignition before attempting to disconnect your gas cylinder from your gas grill.
- Your gas cylinder must be stored outdoors in a well-ventilated area.
Storage of the Gas Grill
- When you are using your gas grill after a period of storage, ensure to check for gas leaks before using. Also, check for any obstructions in the burner, etc. before using. Always follow the cleaning instructions to ensure the gas grill is safe.
- If the gas grill is stored outdoors ensure to check that all areas under the front panel are free from any obstructions (dirt, insects, etc.) as this may affect the flow of gas.
CLEANING AND MAINTENANCE
CAUTION
Risk of burns! All cleaning and maintenance work may only be carried out when the gas grill has cooled down and the connection to the gas cylinder has been disconnected.
Maintenance
- It is recommended to have the gas grill serviced by a competent technician every 90 days, but at least once a year. Do not attempt to service the appliance yourself.
Cleaning
- The gas grill should be cleaned after each use.
- Let the grill “burn down“ after each use to reduce food residues on the grill grid to a minimum. To do this, turn the burner on for 15 to 20 minutes. Grease drippings will be burned off from your grill. Make sure that the appliance has cooled down before you continue with the cleaning.
- Grids should be cleaned periodically by soaking and washing in soapy water.
- The interior surfaces of the grill housing cover should also be washed with hot, soapy water. Use a wire brush, steel wool, or a scouring pad to remove stubborn spots.
- Periodically check the burner to see that it is free from insects and spiders which may clog the gas system, deflecting gas flow. Ensure to clean venturi pipes on the burner very carefully, and make sure that there are no obstructions. We recommend that you use a pipe cleaner to clean the venturi pipe area.
- Do not obstruct the fire opening of the container compartment. If the fire opening is obstructed, please use a round stick with a 1.6 mm diameter to dredge.
- Take care not to enlarge burner ports or orifice/nozzle openings when cleaning the burner or valves.
- Any modifications of this appliance may be dangerous and are not permitted.
TROUBLESHOOTING
| Problem | Possible Cause | Prevention / Solution |
| Gas leaking from cracked/cut/burned hose. | Damaged hose | Turn off gas at the gas cylinder, if the hose is cut or cracked, replace the hose. Reconnect the gas cylinder to the grill and perform a leak test. |
| Gas is leaking from the gas cylinder. | Mechanical failure due to rusting or mishandling. | Close the gas cylinder valve. |
| Gas is leaking from the gas cylinder valve. | Failure of gas cylinder valve from mishandling or mechanical failure. | Turn off gas cylinder valve. Return gas cylinder to gas supplier. |
| Gas leaking between the gas cylinder and regulator connection. | Improper installation, connection not tight, failure of rubber seal. | Turn off the gas cylinder valve, remove the regulator from the cylinder and visually inspect the rubber seal for damage. Follow the instructions for the leak test and for connecting the gas pressure regulator to the gas cylinder (in the “Safety instructions” and “Installation” sections). |
| Fire is coming through the control panel. | Fire in burner tube section of burner due to partial blockage. | Immediately set all control knobs to “OFF” and close the gas cylinder valve. After the flames have been extinguished and the grill has cooled down, remove the burner and inspect it for spider nests or rust (see “Cleaning” section). |
| Problem | Possible Cause | Prevention / Solution |
| Grease fire or continuous excessive flames above the cooking surface | Too much grease buildup in the burner area. | Turn off the gas supply at the gas cylinder. Leave the lid open to allow flames to die down. After cooling, clean food particles and excess grease from inside the firebox area, grease cup/pan/tray, and other surfaces. |
| The burner will not light using the ignitor. | Gas issues: | See the instructions for lighting the grill in the “Operation” section. |
| Trying to light the wrong burner. | ||
| Burner not engaged with control valve. | Make sure valves are positioned inside burner tubes. | |
| Obstruction in the burner. | Ensure burner tubes are not obstructed with spider webs or other matted, see “Cleaning and Maintenance” section. | |
| No gas flow. | Make sure the gas cylinder is not empty, refer to “Sudden drop in the gas flow” (below). | |
| Vapor lock at coupling nut to the gas cylinder. | Turn control knobs to “OFF” and disconnect the coupling nut from a gas cylinder. Reconnect and retry. | |
| The coupling nut ad gas cylinder valve is not fully connected. | Turn the coupling nut approximately one-half to three-quarters. |
| Problem | Possible Cause | Prevention / Solution |
| Burner will not light using ignitor. | Electrical issues: |
Replace electrode. |
| Electrode cracked or broken; ”sparks at crack”. | ||
| Electrode tip is not in the proper position. | The tip of the electrode should be pointing toward the porthole in the burner. The distance should be 1/8” to 3/16”. Adjust if necessary. | |
| Wire and/or electrode covered with cooking residue. | Clean wire and or electrode with rubbing alcohol and clean swab. | |
| Wires are loose or disconnected. | Reconnect wires or replace electrode/wire assembly. | |
| Wires are shorting (sparking) between ignitor and electrode. | Replace ignitor wire. | |
| Push-button sticks at bottom sparking between ignitor and electrode. | Replace ignitor | |
| Wire insulation might be broken. | Inspect wire insulation and proper connection. Replace wires if insulation is broken. | |
| The burner will not match the light. | See ”Gas issues” on previous page. | See instructions for lighting the grill in the “Operation” section of this manual. |
| Improper method of match-lighting. | ||
| A sudden drop in gas flow or low flame. | Grease buildup. | Clean burners and inside of grill/firebox. |
| Excessive fat in the meat. | Trim fat from meat before grilling. | |
| Excessive cooking temperature. | Turn the knobs anticlockwise to a lower setting. |
| Problem | Possible Cause | Prevention / Solution |
| Flames blow out. | High or gusting winds. | Turn the front of the grill to face wind or increase flame height. |
| Low on LP gas. | Replace the gas cylinder or have it refilled by your LP gas dealer. | |
| Excess flow valve tripped. | Refer to “Sudden drop in the gas flow” (above). | |
| Persistent grease fire. | Grease trapped by food buildup around burner system. | Turn knobs to “OFF”. Turn gas off at gas cylinder. Leave the lid in position and let the fire burn out. After the grill cools, remove and clean all parts. |
| Flashback – fire in burner tube(s). | Burner and burner tubes are blocked. | Turn knobs to “OFF”. Clean burner and/or burner tubes (see “Cleaning and Maintenance” section). |
| Flare-up | Grease buildup. | Clean burners and inside of grill/firebox. |
| Excessive fat in the meat. | Trim fat from meat before grilling. | |
| Excessive cooking temperature. | Turn the knobs anticlockwise to a lower setting. | |
| Unable to fill the gas cylinder. | Some dealers have older fill nozzles with worn threads. | Turn-worn nozzles do not have enough “bite” to engage the valve. Try a second LP gas dealer. |
| One burner does not light from another burner (s). | Grease buildup or food particles at the end of the carryover tube. | Clean carry-over tube with a wire brush. |
Note: If your problem is not resolved from the information above, please contact your local gas dealer.
DISPOSAL CONSIDERATIONS
If there is a legal regulation for the disposal of electrical and electronic devices in your country, this symbol on the product or on the packaging indicates that this product must not be disposed of with household waste. Instead, it must be taken to a collection point for the recycling of electrical and electronic equipment. By disposing of it in accordance with the rules, you are protecting the environment and the health of your fellow human beings from negative consequences. For information about the recycling and disposal of this product, please contact your local authority or your household waste disposal service.
MANUFACTURER & IMPORTER (UK)
Manufacturer:
Chal-Tec GmbH, Wallstrasse 16, 10179 Berlin, Germany.
Importer for Great Britain:
Chal-Tec UK limited
Unit 6 Riverside Business Centre
Brighton Road
Shoreham-by-Sea
BN43 6RE
United Kingdom


1336-20



















