FRIGIDAIRE EFR376-D-COM Retro Bar Fridge

INTRODUCTION
Welcome to our family
Thank you for bringing Frigidaire into your home! We see your purchase as the beginning of a long relationship together.
This manual is your resource for the use and care of your product. Please read it before using your appliance. Keep it handy for quick reference. If something doesn’t seem right, the troubleshooting section will help you with common issues.
FAQs, helpful tips and videos, cleaning products, and kitchen and home accessories are available at www.frigidaire.com
We are here for you! Visit our website, chat with an agent, or call us if you need help. We may be able to help you avoid a service visit. If you do need service, we can get that started for you.
Installation Checklist
Doors
- Handles are secure and tight
- Door seals completely to cabinet on all sides
Leveling
- Refrigerator is level side-to-side and slightly elevated in front to assist with door and drawer closing (front should be higher than back)
- Cabinet is setting solid on all corners
Electrical Power
- House power turned on
- Refrigerator plugged in
Final Checks
- Shipping material removed
- Fresh food and freezer temperatures set
SAFETY PRECAUTIONS
WARNING: Read all of the instructions before using this appliance. When using this appliance, always exercise safety precautions, inch.1rling the following:
- This refrigerator/freezer must be properly installed in accordance with the installation instructions before it is used. See grounding instructions in the installation section.
- This refrigerator/freezer should not be recessed or built-in an enclosed cabinet.
It is designed for freestanding installation only. - Never unplug your refrigeratur1 fr88Z:cr by pulling on the power cord. Aiway,, grasp the plug firmly and pull straight out from the outlet.
- DANGER – Risk of Fire or Explosion. Flam1T1able refrigerant used. Do not use Mechanical devices to defrost refrigerator. Do not puncture refrigerant tubing.
- Do not refreeze foods, which have been thawed completely. The United States Department of Agriculture in Home and Garden Bulletin No. 69 reads: ” .. You may safely refreeze frozen foods that have thawed if they still contain ice crystals or if they are still cold-below 40°F”.
- Do not use any electrical device or any sharp instrument in defrosting your refrigerator.
- Unplug your refrigerator/freezer before cleaning or before making any repairs.
Note: If for any reason this product requires service, we strongly recommend that a certified technician perform service. - Do not operate your refrigerator in the presence of explosive fumes.
DANGER – Risk Of Fire Or Explosion. Flammable Refrigerant Used. To Be Repaired OnlyBy Trained Service Personnel. Do Not Puncture Refrigerant Tubing
CAUTION – Risk Of Fire Or Explosion. Flammable Refrigerant Used. Consult RepairManual/Owner’s Guide Before Attempting To Service This Product.
All Safety Precautions Must be Followed
CAUTION – Risk Of Fire Or Explosion. Dispose Of Property In Accordance With Federal Or Local Regulations. Flammable Refrigerant Used
CAUTION – Risk Of Fire Or Explosion Due To Puncture Of Refrigerant Tubing; Follow Handling Instructions Carefully. Flammable Refrigerant Used
DANGER
Risk of child entrapment. Before you throw away your old refrigerator or freezer, take off the doors. Leave the shelves in place so that children may not easily climb inside.
Parts And Features
- Built-ln freezer
- Drip tray
- Removable shelf
- Temperature control knob
(Turn to right to raise; turn to left to lower) - Defrost button
- Door seal (gasket)
- Bottle rack

Installing Your Refrigerator
Unpacking Your Refrigerator
Installing Your Refrigerator
- Remove all packaging material. This includes the foam base and all adhesive tape holding the refrigerator accessories inside and outside.
- Inspect and remove any remains of packing, tape or printed materials before powering on the refrigerator.
CAUTION
Risk of Fire or Explosion due to puncture of refrigerant tubing. Flammable refrigerant used. Handle with care when moving refrigerator to avoid either damaging the refrigerant tubing or increasing the risk of a leak.
Leveling Your Refrigerator
- Your refrigerator has two leveling legs which are located in the front bottom corners of your refrigerator. After properly placing your refrigerator in its final position, you can level your refrigerator.
- Leveling legs can be adjusted by turning them counterclockwise to raise your refrigerator or by turning them clockwise to lower your refrigerator. The refrigerator door will close easier when the leveling legs are extended.
Proper Air Circulation
To ensure your refrigerator works at the maximum efficiency it was designed for, you should install it in a location where there is proper air circulation, plumbing and electrical connections.
The following are recommended clearances around the refrigerator:
Sides … 3/4″ (19mm)
Top ……………….. 2″ (50mm)
Back ……………… 2″ (50mm)
WARNING: ELECTRICAL REQUIREMENT – SHOCK HAZARD
Electrical Requirement
- Make sure there is a suitable power outlet (120 volts, 15 amps outlet) with proper grounding to power the refrigerator.
- Avoid the use of three prong adapters or cutting off the third grounding prong in order to accommodate a two prong outlet. This is a dangerous practice since it provides no effective grounding for the refrigerator and may result in shock hazard.
Use of Extension Cords
Avoid the use of an extension cord because of potential safety hazards under certain conditions. If it is necessary to use an extension cord, use only a 3-wire extension cord that has a 3-blade grounding plug and a 3-slot outlet that will accept the plug. The marked rating of the extension cord must be equal to or greater than the electrical rating of the appliance. DO NOT USE EXTENSION CORD LONGER THAN 12 FT.
Installation Limitations
- Do not install your refrigerator in any location not properly insulated or heated, e.g. garage, etc. Your refrigerator was not designed to operate in temperature settings below 55° Fahrenheit.
- Select a suitable location for the refrigerator on a hard even surface away from direct sunlight or heat source, e.g. radiators, baseboard heaters, cooking appliances, etc. Any floor unevenness should be corrected with the leveling legs located on the front bottom corners of the refrigerator.
Door Alignment
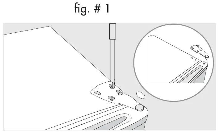
Freezer Door: (see fig. #1)
- Remove the top hinge cover.
- Loosen the top hinge screws using a phillips head screwdriver.
- Adjust the door or put a spacer in between and then tighten the screws.
- Replace the top hinge cover.

Refrigerator Features
Refrigerator Features And Use General Features Adjustable temperature dial:
Your refrigerator will automatically maintain the temperature level you select. The temperature control dial has 6 settings plus 0. 1 is the warmest. 6 is the coldest.
Turning the dial to O Stops cooling in both the refrigeration and freezer sections.
At first, set the dial to 4 and allow 24 hours to pass before adjusting the temperature to your needs.
(Note: If the refrigerator has been placed in a horizontal or tilted position for any period of time wait 24 hours before plugging the unit in.)
Refrigerator Interior Shelves
To remove or replace a full-width slide-out shelf: (see fig. # 2)
- Gently tilt the shelf up and slide forward until the shelf has been completely removed.
- To replace the shelf, gently slide the shelf back.)

Handle Installation Instructions
Align the handle with the base on the front of the door.
Slide the handle into the base.
Push the handle inward until you hear a click and the handle is held firmly in place.

Maintenance
WARNING
- When being defrosted the appliance must be unplugged to avoid the risk of electrical shock.
- DO NOT use a sharp or metallic instrument to remove frost from the refrigerator interior, as damage to refrigerant tubing may occur. Tubing damage may allow flammable refrigerant gas leakage, which can result in injury to persons.
Defrosting is needed when the frost layer on the evaporator reaches 3 – 4mm. Press the defrost button in the middle of temperature control knob, the refrigerator will begin to defrost. When the defrosting has ended, the thermostat will switch on automatically, and the refrigerator will start working again.
CAUTION: DO NOT use boiling water to melt frost accumulation on freezer walls, as it may damage plastic parts.

Maintenance
Risk of Fire or Explosion. Flammable refrigerant used. Do not puncture of refrigerant tubing. To be repaired only by trained authorized service personnel.
Consult Repair Manual before attempting to service this product. All Safety Precautions Must be followed. Component parts shall be replaced with like components to minimize the risk of possible ignition due to incorrect parts or improper service.
Food Storage Information
Food Storage Information Fresh Food:
- When storing fresh food that is not prepackaged, be sure to wrap or store food in airtight and moisture proof material unless otherwise noted. This will ensure proper shelf life and prevent the transfer of odors and tastes.
- Wipe containers before storing to avoid needless spills.
- Eggs should be stored in an upright position in their original carton to maximize shelf life.
- Fruit should be washed and dried, then stored in sealed plastic bags before storing in the refrigerator.
- Vegetables with skins should be stored in plastic bags or containers.
- Leafy vegetables should be washed and drained and then stored in plastic bags or containers.
- Hot food should be allowed to cool before storing in the refrigeration. This will prevent unnecessary energy use.
- Fresh seafood should be used the same day as purchased.
- When storing meats in the fresh food section, keep in the original packaging or rewrap as necessary. Follow the suggestions below for safe storage:
- Chicken 1-2 Days
- Ground Beef 1-2 Days
- Cold Cuts 3-5 Days
- Steaks/Roasts 3-5 Days
- Smoked/Cured Meats 7-10 Days
Normal Operating Sounds You May Hear
- Boiling water, gurgling sounds or slight vibrations that are the result of the refrigerant circulating through the cooling coils.
- The thermostat control will click when it cycles on and off.
Refrigerator Care and Cleaning
Proper Refrigerator Care and Cleaning
WARNING: To avoid electric shock, always unplug your refrigerator before cleaning. Ignoring this warning may result in death or injury.
CAUTION: Before using cleaning products, always read and follow manufacturer’s instructions and warnings to avoid personal injury or product damage.
General: Prepare a cleaning solution of 3-4 tablespoons of baking soda mixed with warm water. Use sponge or soft cloth, dampened with the cleaning solution, to wipe down your refrigerator.
- Rinse with clean warm water and dry with a soft cloth.
- Do not use harsh chemicals, abrasives, ammonia, chlorine bleach, concentrated detergents, solvents or metal scouring pads. Some of these chemicals may dissolve, damage and/or discolor your refrigerator.
Door Gaskets: Clean door gaskets every three months according to general instructions. Gaskets must be kept clean and pliable to assure a proper seal
- Petroleum jelly applied lightly on the hinge side of gaskets will keep the gasket pliable and ensure a good seal.
Power Interruptions
Occasionally there may be power interruptions due to thunderstorms or other causes. Remove the power cord from AC outlet when a power outage occurs.
When power has been restored, replug power cord to AC outlet.
If outage is for a prolonged period, inspect and discard spoiled or thawed food in freezer and refrigerator. Clean refrigerator before reusing.
WARNING: IF OUTAGE IS FOR A PROLONGED PERIOD, INSPECT AND DISCARD SPOILED OR THAWED FOOD IN FREEZER AND REFRIGERATOR. CLEAN REFRIGERATOR BEFORE REUSING.
Interior Light Bulb Replacement
Interior light bulb replacement
If the interior 15 watt appliance light bulb burns out, remove the light bulb cover and replace bulb as follows:
- Unplug refrigerator from power outlet.
- Loosen and remove the bulb from its socket by rotating counterclockwise.
- Insert new bulb and screw into socket.
- Plug refrigerator back into power outlet.

Vacation and Moving Care
For long vacations or absences, empty food from refrigerator and freezer, move the temperature DIAL to the OFF position and clean the refrigerator and door gaskets according to “General cleaning” section. Prop doors open, so air can circulate inside. When moving always move the refrigerator vertically. Do not move with the unit lying down. Possible damage to the sealed system could occur.
Out The Bottle Opener

- Remove the 2 screws as shown in the figure with a screwdriver.

- Take out the bottle opener from the manual bag, and fix the bottle opener on the side plate with the 2 screws just removed (the opening of the bottle opener faces down), as shown in the figure.

NOTE: This is a common user manual, the bottle opener is not included for Model EFR331-C-BLACK/EFR331-C-WHITE.
Troubleshooting
Refrigerator does not operate:
- Check if thermostat control is not in the “O” position.
- Check if refrigerator is plugged in.
- Check if there is power at the AC outlet, by checking the circuit breaker.
Food temperature appears too warm:
- Frequent door openings.
- Allow time for recently added warm food to reach fresh food temperature.
- Check gaskets for proper seal.
- Adjust temperature control to colder setting.
Food temperature is too cold:
If temperature control setting is too cold, adjust to a warmer setting and allow several hours for temperature to adjust.
Refrigerator runs too frequently:
- This may be normal to maintain constant temperature during high temperature and humid days.
- Doors may have been opened frequently or for an extended period of time.
- Check gasket for proper seal.
- Check to see if doors are completely closed.
Moisture build up on interior or exterior of the refrigerator:
- This is normal during high humidity periods.
- Prolonged or frequent door openings.
- Check door gaskets for proper seal.
Refrigerator has an odor:
- Interior needs cleaning.
- Foods improperly wrapped or sealed are giving off odors.
Refrigerator door does not shut properly:
- Level the refrigerator.
- Re-align refrigerator door.
- Check for blockages, e.g. food containers, crisper cover, shelves, bins, etc.
Technique Index
Popping or cracking sound when the compressor comes on:
- Check to ensure the refrigerator is level.
- The floor may be uneven or weak. The refrigerator rocks on the floor when it is moved slightly. Be sure the floor can adequately support the refrigerator. Level the refrigerator by putting wood or metal shims under part of the refrigerator.
- The refrigerator is touching the wall. re-level the refrigerator and move it from the wall. See the “Installing Your Refrigerator” section.
Refrigerator light does not work
- Check power supply.
- Tighten bulb in socket.
- Replace burned out bulb.
Technique Index
| EFR376-C-PINK | ||
| MODEL | EFR376-D-RED EFR376-D-BWE EFR376-D-BLACK EFR376-D-WHITE | EFR331-C-BLACK EFR331-C-WHITE |
| EFR376-B-CORAL | ||
| EFR376-C-MOONBM | ||
| CAPACITY OF FRIDGE IN CU FT AND INTERIOR SIZE (IN.) (WXHxD) | 3.2 / 15x29x13 (INTERIOR) | |
| SHELF MATERIAL | glass | glass |
| TEMPERATURE CONTROL TYPE | mechanlcal | mechanlcal |
| TEMPERATURE RANGE IN FAHRENHEIT AND CELSIUS | 32•50°F / 0· 10″C | |
| DEPTH(EXCLUDING HANDLES)(IN.) | 16.73 | 16.73 |
| DEPTH(LESS DOOR)(IN.) | 14A9 | 14.49 |
| DEPTH WITH DOOR OPEN 90 DEGREES(IN.) | 33.15 | 33.15 |
| HEIGHT TO TOP OF DOOR HINGE(IN.) | 33.27 | 33.27 |
| HEIGHT TO TOP OF REFRIGERATOR(IN.) | 32.87 | 32.87 |
| PRODUCT DEPTH(IN.) | 18.7 | 18.7 |
| PRODUCT HEIGHT(IN.) | 33.27 | 33.27 |
| PRODUCT WIDTH(IN.) | 19.01 | 17.83 |
| REFRIGERATOR WIDTH(IN.) | 17.72 | 17.72 |
| POWER CORD LENGHT (IN.) | 70 | 70 |
| BPA FREE (YES/NO) | YES | YES |
| REFRIGERANT TYPE | R600a | R600a |
| MAXIMUM POWER CONSUMPTION IN AMPS & WATIS | 0.8/65 | 0.8/65 |
| OPERATION NOISE dBA | 40 | 40 |
Warranty
To make a warranty claim, please email [email protected] or call 1-800-968-9853.
1 Year Warranty
This product is warranted to be free from defects in material and workmanship for a period of one (1) year from the date of original purchase. During this period, your exclusive remedy is repair or replacement of this product or component found to be defective, at our option; however, you are responsible for all costs associated with returning the product to us. If the product or component is no longer available, we will replace with a similar one of equal or greater value. Prior to a replacement being sent, the product must be rendered inoperable or returned to us.
This warranty does not cover glass, filters, wear from normal use, use not in conformity with the printed directions., or damage to the product resulting from accident, alteration, abuse, or misuse. This warranty extends only to the original consumer purchaser or gift recipient. Keep the original sales receipt, as proof of purchase is required to make a warranty claim. This warranty is void if the product is used for other than single-family household use or subjected to any voltage and waveform other than as on the specified rating on the label (e.g., 120V-60Hz).
We exclude all claims for special, incidental, and consequential damages caused by breach of express or implied warranty. All liability is limited to the amount of the purchase price. Every implied warranty, including any statutory warranty or condition of merchantability or fitness for a particular purpose, is disclaimed except to the extent prohibited by law, in which case such warranty or condition is limited to the duration of this written warranty. This warranty gives you specific legal rights. You may have other legal rights that vary depending on where you live. Some states or provinces do not allow limitations on implied warranties or special, incidental, or consequential damages, so the foregoing limitations may not apply to you.
For faster service, locate the model, type, and serial numbers on your appliance.
ATTACH YOUR PROOF OF PURCHASE HERE, PROOF OF PURCHASE IS REQUIRED TO OBTAIN WARRANTY SERVICE.
Please have the following information available when you contact the Support Team:
- Name, address and telephone number.
- Model number and serial number.
- A clear, detailed description of the problem.
- Proof of purchase including dealer or retailer name, address and date of purchase.
[email protected]
1-800-968-9853
FRIGIDAIRE is a pending or registered trademark of Electrolux Home Products Inc. and used under a license from Electrolux Home Products, Inc.


















