FRIGIDAIRE EFR341-AMZ Refrigerator

INTRODUCTION
Welcome to our
- Thank you for bringing Frigidaire into your home! We see your purchase as the beginning of a long relationship together.
- This manual is your resource for the use and care of your product.
- Please read it before using your appliance. Keep it handy for quick reference.
- If something doesn’t seem right, the troubleshooting section will help you with common issues.
- FAQs, helpful tips and videos, cleaning products, and kitchen and home accessories are available at www.frigidaire.com.
- We are here for you! Visit our website, chat with an agent, or call us if you need help.
- We may be able to help you avoid a service visit. If you do need service, we can get that started for you.

IMPORTANT SAFETY INFORMATION
WARNING
Please read all instructions before using this appliance.
Safety Definitions
- This is the safety alert symbol. It is used to alert of potential personal injury hazards. Obey all safety messages that follow this symbol to avoid possible injury or death.
- DANGER indicates an imminently hazardous situation which, if not avoided, will result in death or serious injury.
- WARNING indicates a potentially hazardous situation which, if not avoided, could result in death or serious injury.
- CAUTION indicates a potentially hazardous situation which, if not avoided, may result in minor or moderate injury.
- IMPORTANT indicates installation, operation or maintenance information which is important but not hazard-related.
Child Safety
- Destroy or recycle the carton, plastic bags, and any exterior wrapping material immediately after the refrigerator is unpacked. Children should NEVER use these items to play. Cartons covered with rugs, bedspreads, plastic sheets or stretch wrap may become airtight chambers, and can quickly cause suffocation.
Safety Instructions
- DO NOT store or use gasoline, or other flammable liquids in the vicinity of this or any other appliance. Read product labels for warnings regarding flammability and other hazards.
- DO NOT operate the refrigerator in the presence of explosive fumes.
- DO NOT store explosive substances such as aerosol cans with a flammable propellant in this appliance.The appliance shall not be exposed to rain.
- Remove all staples from the carton. Staples can cause severe cuts, and also destroy finishes if they come in contact with other appliances or furniture.
Warning and safety instructions
- Please read the Operating Instructions carefully before plugging in and using your Refrigerator.
- Please keep these instructions for future reference.
- As the product is continually updated and improved, your refrigerator may not be exactly as detailed in this User Guide. However, it does not compromise the performance and operation of your unit.
- The Instructions contained in this manual must be strictly observed when setting up, operating and servicing the Refrigerator.
- The Manufacturer is not responsible for any accident or damaged caused by a failure to follow any of the following rules:
WARNING AND SAFETY PRECAUTIONS
- The power supplied to the Refrigerator must match the specifications on the unit nameplate (on the rear of the unit). Failure to do so may cause damage to the Refrigerator resulting in unit failure. The Manufacturer is not responsible for warrantied repairs caused by the use of an improper power source.
- Installation and connection of the Refrigerator must be carried out as detailed in this User Guide.
- Parts and Accessories must be installed and used as detailed in this User Guide.
- If the Power Supply cord is damaged, it must be replaced by the manufacturer, its service agent or a similarly qualified person to avoid a hazard.
- Do not tamper with or damage the refrigeration circuitry.
- Electrical safety is only guaranteed when the Refrigerator is connected to a properly wired and grounded electricity supply.
- To ensure proper operation of the Refrigerator, if the unit is moved or tilted, you must wait 1 hour before plugging the unit in and turning it on.
- In the event of a power interruption, unplug the unit and wait for 5 minutes before plugging in and turning on the Refrigerator to prevent damage to the compressor.
- Do not place or use anything flammable e.g. gas containers, petroleum products, banana oil or other flammable substances near or in the Refrigerator due to risk of fire.
- High-proof alcohol must be stored in tightly sealed bottles or other containers and should always be placed in an upright position when placed in or near the Refrigerator.
- Never store explosive substances in the Refrigerator.
- Do not store full, sealed, glass bottles or cans in the Freezer as they will burst upon freezing.
- Do not locate the Refrigerator in a damp or wet environment, or in a location
- where the Refrigerator is likely to get splashed.
- Exposure to moisture could weaken the electrical insulation which could result in electric shock or fire.
- Children should not be left unsupervised near the Refrigerator.
- The Refrigerator must be unplugged from the electrical receptacle in the event of breakdown or when you are cleaning or repairing the unit.
- To remove the plug from the electric socket, grasp the plug firmly and pull it out. Never pull the cable. Do not connect or disconnect the Refrigerator from the electric socket while your hands are wet or damp.
- Do not step on, climb on, or lean against the top of the Refrigerator, the Refrigerator or Freezer doors or the base cover of the Refrigerator.
- To prevent frostbite, do not touch any frozen items with bare skin or eat anything that has been directly removed from the Freezer.
- If a natural gas leak has been discovered in the same room as the Refrigerator, immediately turn off the gas supply. Do not open the Refrigerator door and do not remove the Refrigerator plug from the power receptacle. A small spark could result from such actions which could cause a gas explosion. Open all doors and windows in the room to disperse the gas.
- NB: This Refrigerator is solely for the purpose of storing and freezing of food and for making ice and must not be used for any other purpose.
Diagram of Refrigerator Unit 
Note: Interior accessories & layout may differ by model.
Use of the Refrigerator & Freezer
FREEZER COMPARTMENT: A compartment for storage of frozen food and making and storing a small quantity of ice.
NOTICE:
When buying frozen foods, the following precautions should be observed:
- Check that the packaging is intact.
- Make certain the products have not exceeded their expiry date.
- Check the temperature of the freezer where the food is being purchased – it should indicate a temperature at or below -18°C/-0.4°F.
- Once purchased, frozen foods should be exposed to as little heat as possible and should be placed in the home freezer as quickly as possible.
- Before placing hot/warm foods or beverages in the freezer allow them to cool to room temperature.
- Before freezing food, pack the food in a tightly sealed container or bag so that it does not lose its taste, color or nutritional value and so that it does not dry out (i.e. “Freezer Burn”).
- The following are suitable packing materials for storing frozen food: polyethylene bags, aluminum foil and freezer proof containers. All of these materials are available at department and grocery stores.
- The following are unsuitable packing materials for storing frozen food: wrapping paper, waxed paper, vellum paper, cellophane, rubbish bags and used shopping bags.
- If possible squeeze/eliminate the air from the packing container.
- Before placing wrapped food in the freezer, mark the storage date and the food item being stored (as food items often change appearance when frozen).
- Freeze all foods before they begin to deteriorate.
- If there is a power failure, open the Refrigerator and Freezer doors as little as possible. Avoid adding new food to the Refrigerator or Freezer as this will cause a rise in Refrigerator or Freezer temperature.
ICE TRAY
Fill the ice-tray three quarters full of water and place it in the freezer. Ice cubes can be easily removed from the ice-tray by slightly twisting it (see figures below).
- Notice: use cool potable water to make ice cubes
- Do not bend the ice-tray (as this will break it).
- Only use containers specifically designed for making ice.

- Refrigerator Compartment – designed for cooling and storing cool food (not for freezing food & beverages).
- The temperature of the Refrigerator Compartment can only slow down the growth rate of bacteria to a certain degree and therefore is only suitable for the short-term storage of food.
- The following foods are suitable for storage in the Refrigerator Compartment: eggs, butter, cheese, milk, bottled and canned drinks, tinned food, glazed fruit, fresh sauce, bread, cooked food, meat, fish, fruit and vegetables etc.
When storing food in the Refrigerator Compartment, the following instructions must be followed:
- Seal or securely cover food before placing it in the Refrigerator. This will prevent it from drying out and will keep food fresh for a longer time, help it retain its color, nutritional value and flavors. Sealing &/or covering food well will prevent the transfer of flavor and odor and will prevent food from drying out.
- Wash and dry fruit and vegetables before storage.
- Allow food to cool before placing it in the refrigerator.
- The top of the Refrigerator Compartment has the lowest temperature and is the area where food is cooled down the fastest.
- Fruit and vegetables should be placed in the fruit and vegetable storage bin.
- Keep a space between all of the foods to allow for good air flow and an even temperature.
- Prevent butter, cooking oil and oil based food products from touching the plastic parts inside the Refrigerator compartment and from the Refrigerator cabinet inner liner.
- Beverages should be tightly sealed with cans and bottles placed upright.
- Only open the Refrigerator Compartment door for a minimal amount of time to prevent cold air leakage.
- Fruit and Vegetable Bin: The compartment for storing fruit and vegetables.
- Can Rack: For those Refrigerators equipped with a can rack, canned beverages can be stored using the can rack.
- Temperature Control: Use the temperature control to regulate the interior temperature of the Refrigerator compartment. The numbers on the knob do not represent a specific temperature. The compressor will not operate at the “0” setting. The larger the number, the lower the inside temperature. In general, it is recommended to set the
- Temperature Control to the middle position.
Notice:
- The temperature of the freezer may sometimes appear to be too high. This is either because a large amount of food is stored in the refrigerator or freezer or the freezer door is being opened too often/frequently. Normally, the optimal freezer temperature will be restored within 24 hours.
- In order to keep food fresh and to save cost, the freezer temperature should be set from.
from -18°C/-0.4° F to -20°C/-4° F when the Refrigerator is in a location with normal room temperature. Frequent temperature changes should be avoided once the freezer temperature is set. - In summer when room temperature is higher, the freezer temperature could be set cooler (Position 3). In winter when room temperature is typically lower, the freezer temperature could be set to Position 1.
- Interior Lamp: (Technical data 115V/60Hz lOW) is activated by the door switch. When the Refrigerator door is opened the lamp turns on. When the Refrigerator door is closed the lamp turns off.

Defrosting:
- Water contained in food or entering the Refrigerator & Freezer by opening doors may form a layer of frost inside.
- It will inhibit refrigeration efficiency and wastes energy. When the frost reaches 4mm and 6mm, you should defrost the Refrigerator/Freezer.
Freezer Compartment Defrosting:
- Defrosting the Freezer Compartment is performed manually. Before defrosting, remove all frozen food temporarily and store it in a cold location e.g. an insulated cooler. Set the temperature control to “O” where the compressor will stop working. Leave the freezer compartment door open until the ice and frost melt completely. Wipe up the water with a soft cloth. Remember to set the temperature control back to its normal setting when you have completed defrosting the Freezer Compartment.
- WARNING: Do not scrape ice and frost with sharp tools, wooden bars, scrapers & other mechanical devices or use hot water, electric heaters etc. other than those recommended by the manufacturer to prevent damage to the inner liner or surface of the evaporator.
Refrigerator Compartment Defrosting:
- The Refrigerator Compartment does not require manual defrosting. Water will be drained into the container located on the top of the compressor through a drain pipe located at the rear of the refrigerator and will evaporate automatically. (See figure below).
NOTICE:
- Be sure to keep the drain hole unblocked. If blocked you may clear the blockage with a wooden stick.

Moving and Placing the Refrigerator:
- The refrigerator should be placed at a solid level location. The two front feet should be adjusted to make the refrigerator stable and to avoid vibration and noise.
- Do not place the refrigerator near a heat source or expose it to direct sunlight. If the refrigerator is placed near a heat source, an insulation plate must be used and a minimum distance of 30 cm must be observed.
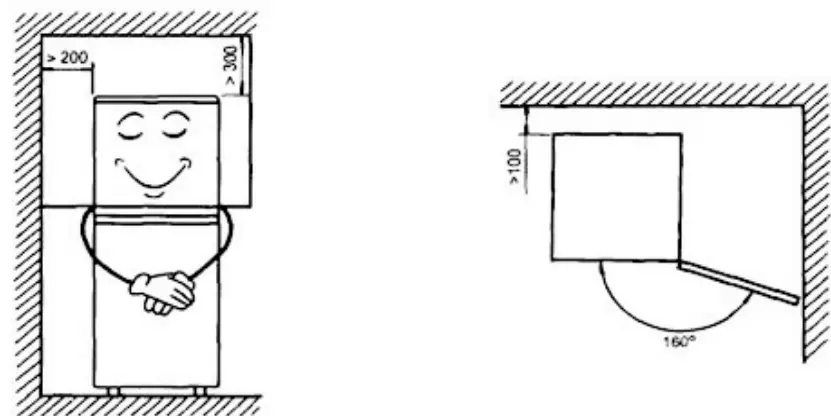
- The refrigerator should be placed in a dry and well-ventilated room. Maintain a clearance of 100mm from the wall, 300mm from the top, and 200mm from both sides of the refrigerator to allow proper air circulation. The ventilation inlet and outlet grills and other airways must never be covered.
- Clear space should be left to open its doors to 160° (See figures below)

- NB: When placing the refrigerator, discard the foam packaging materials.
- When moving the refrigerator, DO NOT tilt the unit greater than 45° or upside down. (See figure below):

Cleaning and Maintaining your Refrigerator
- Before cleaning disconnect the Refrigerator from the power receptacle.
- Clean your refrigerator once per month.
- When cleaning, do not allow water to get into the interior light.
- Wipe the inner and outer surface of the refrigerator and its accessories with a damp cloth. If they are too dirty, scrub them with a neutral detergent. Never use an abrasive cleaner or abrasive cloth.
- Always clean the egg keeper tray, shelves and the interior of the Fruit and Vegetable storage bin.
- Lukewarm water with a bit of detergent or mild disinfectant is suitable for cleaning the whole refrigerator except for the door seal gaskets. Clean the door seal gaskets with clean water only and rub them dry. (They can be removed for cleaning – See figure below)

- The compressor located at the rear of the refrigerator should be cleaned a minimum of once per year. Dust off the compressor with a brush. If there is dust on the outer surface of the compressor it will increase the amount of electricity being used when the unit is operating.
- Cleaning agents containing abrasives or acids must not be used. As well, avoid the use of alkaloids, soap, hot water, abrasive brushes, banana oil, petroleum products and alcohol.
Vacation
- Turn off the refrigerator first and then unplug the unit from the wall outlet. Remove all food and beverages.
- Clean the refrigerator.
- Leave the door open slightly to avoid possible formation of condensation, mold or odor.
- Use extreme caution when children will have access to the unit. The unit should not be accessible to child’s play.
- Short vacations (Less than 3-4 weeks) – Leave the refrigerator operating normally. Long Vacations (More than a month) – If the appliance will not be used for several months, remove all food and unplug the power cord. Clean and dry the interior thoroughly. To prevent odor and mold growth, leave the refrigerator and freezer compartment doors open slightly (blocking them open if necessary) or remove the refrigerator and freezer compartment doors.
- NOTE: Frequent unplugging of the unit will decrease its lifespan.
TROUBLESHOOTING
- Not every problem is serious enough to warrant calling for service. Before calling for assistance, please check if the problem can be solved with the aid of the following tips:
Unusual Noises:
- Check if the refrigerator is standing firmly on a level surface and if all the fixtures are secure. The refrigeration system pipes at the lower back of the refrigerator should not be touching each other and the compressor should not be in contact with other objects.
- Check to see if the drain pan is secure.
No Cooling:
- Check that the refrigerator is plugged in. Check for a power failure, burned out/blown fuse or circuit breaker, or incorrect power outlet voltage. Check the Temperature Control Knob setting.
Lamp Not Working:
- The bulb may have burned out. If so, replace the bulb with a 10W/115V replacement bulb.
Deterioration of Cooling Performance:
- Check that the setting on the Temperature Control Knob is not too warm, that the refrigerator door is closing properly, that thick layers of ice have not built up in the freezer, that the door is not being opened too frequently, that too much food hasn’t been placed in the refrigerator, or that food which is too warm is being placed in the refrigerator.
Unit Stopped Working:
- Check if there is a power failure, power voltage is too low, the power plug is unplugged or loose, or if the temperature control is set to “O”.
Food Frozen in the Refrigerator Compartment:
- Check if the temperature control is set to too low a setting and/or if stored food is in contact with the rear wall of the refrigerator compartment.
The Water has Overflowed After Defrosting:
- Check that the drain hole is not blocked and that the drain pan (at the back of the unit) is in its proper place.
Normal Phenomenon:
- Moisture (Condensation) may appear on the exterior of the refrigerator if external humidity is high. This can be wiped dry.
- The area where the door seal sticks to the refrigerator is warm. This is caused by the heating element used to avoid condensation and frost.
- A bubbling/rattling noise can be heard sometimes be heard. This is caused by refrigerant flowing in the refrigeration system or because the refrigerator’s compressor is in start-up or shut-down mode.
- The temperature of the compressor can reach up to 80 oc.
- Note: handles are decorative only and cannot be relocated when reversing the door swing.
- For service assistance and product information, please call: 1-800-968-9853. Curtis International Ltd.
- 7045 BECKETT DRIVE, UNIT 15, MISSISSAUGA, ON, L5S 2A3 www.curtisint.com
Handle install instruction
- Take out the handle from the unit and remove the package of two handle parts and 2 screws.
- Use a screwdriver to secure the handle to the bottom of the door using the two screws.
- Push the handle horizontally until the handle is secure.
- Push and pull the handle to make sure the handle is installed well.

| PRODUCT SPECIFICATIONS | |
| MODEL NO. | EFR341-AMZ |
| CAPACITY OF FREEZER IN CU FT | 0.9S CU.FT. |
| CAPACITY OF FRIDGE IN CU FT | 2.26CU.FT |
| SHELF MATERIAL | GLASS |
| TEMPERATURE CONTROL TYPE | MECHANICAL THERMOSTAT |
| TEMPERATURE RANGE FRIDGE IN FAHRENHEIT AND CELSIUS | 32 – 50 ° F/0 – 10°C |
| TEMPERATURE RANGE FREEZER IN FAHRENHEIT AND CELSIUS | 6.8–11.2° F/ -14–24°C |
| DEPTH (EXCLUDING HANDLES) (IN.) | 19.57 |
| DEPTH (INCLUDING HANDLES) (IN.) | 21.34 |
| DEPTH (LESS DOOR) ( IN . ) | 17.40 |
| DEPTH WITH DOOR OPEN 90 DEGREES ( IN . ) | 35.91 |
| HEIGHT TO TOP OF DOOR HINGE (IN.) | 34.09 |
| HEIGHT TO TOP OF FRIDGE (IN .) | 33.66 |
| PRODUCT DEPTH (IN .) | 21.34 |
| PRODUCT HEIGHT ( IN . ) : | 34.09 |
| PRODUCT WIDTH ( IN . ) | 17.80 |
| POWER CORD LENGHT (IN .) | 66.93 |
| BPA-FREE (YES/NO) | YES |
| REFRIGERANT TYPE | R600a |
| MAXIMUM POWER CONSUMPTION IN AMPS & WATTS | 1.0A/60W |
| OPERATION NOISE dBA | <40dBA |
- WARNING – Keep ventilation openings, in the appliance enclosure or in the built-in structure, Clear of obstruction.
- WARNING – Do not use mechanical devices or other means to accelerate the defrosting process, other than those recommended by the manufacturer. WARNING – Do not damage the refrigerant circuit.
- WARNING – Do not use electrical appliances inside the food storage compartments of the appliances, unless they are of the type recommended by the manufacturer.
- DANGER: Risk of child entrapment. Before you throw away your old refrigerator or freezer:
- Take off the doors.
- Leave the shelves in place so that children may not easily climb inside.
LIMITED WARRANTY
To make a warranty claim, please email [email protected] or call 1-800-968-9853.
1 Year Warranty
- This product is warranted to be free from defects in material and workmanship for a period of one (1) year from the date of original purchase. During this period, your exclusive remedy is repair or replacement of this product or component found to be defective, at our option; however, you are responsible for all costs associated with returning the product to us. If the product or component is no longer available, we will replace it with a similar one of equal or greater value.
- Prior to a replacement being sent, the product must be rendered inoperable or returned to us.
- This warranty does not cover glass, filters, wear from normal use, use not in conformity with the printed directions., or damage to the product resulting from accident, alteration, abuse, or misuse. This warranty extends only to the original consumer purchaser or gift recipient. Keep the original sales receipt, as proof of purchase is required to make a warranty claim. This warranty is void if the product is used for other than single-family household use or subjected to any voltage and waveform other than as on the specified rating on the label (e.g., 120V-60Hz).
- We exclude all claims for special, incidental, and consequential damages caused by a breach of express or implied warranty. All liability is limited to the amount of the purchase price. Every implied warranty, including any statutory warranty or condition of merchantability or fitness for a particular purpose, is disclaimed except to the extent prohibited by law, in which case such warranty or condition is limited to the duration of this written warranty. This warranty gives you specific legal rights. You may have other legal rights that vary depending on where you live. Some states or provinces do not allow limitations on implied warranties or special, incidental, or consequential damages, so the foregoing limitations may not apply to you.
- For faster service, locate the model, type, and serial numbers on your appliance.
- ATTACH YOUR PROOF OF PURCHASE HERE, PROOF OF PURCHASE IS REQUIRED TO OBTAIN WARRANTY SERVICE.
Please have the following information available when you contact the Support Team:
- Name, address, and telephone number.
- The model number and serial number.
- A clear, detailed description of the problem.
- Proof of purchase including dealer or retailer name, address, and date of purchase.
- Canada: CURTIS INTERNATIONAL LTD 7045 BECKETT DRIVE, UNIT 15 MISSISSAUGA, ONTARIO L5S 2A3
- Our home is your home. Visit us if you need help with any of these things:
- owner support service
- [email protected]
- 1-800-968-9853
- FRIGIDAIRE is a pending or registered trademark of Electrolux Home Products Inc. and is used under a license from Electrolux Home Products. Inc.

























