Sage BES500 the Bambino Plus Coffee Machine
READ ALL INSTRUCTIONS BEFORE USE AND SAVE FOR FUTURE REFERENCE
- A downloadable version of this document is also available at sage appliances.com
- Before using for the first time, please ensure that your electricity supply is the same as shown on the rating label on the underside of the appliance. If you have any concerns please contact your local electricity company.
- The installation of a residual current safety switch is recommended to provide additional safety when using all electrical appliances. Safety switches with a rated operating current not more than 30mA are recommended. Consult an electrician for professional advice.
- Remove and discard any packaging materials safely, before first use.
- To eliminate a choking hazard for young children, discard the protective cover fitted to the power plug safely.
- Ensure the product is properly assembled before first use.
- This appliance is for household use only. Do not use the appliance for anything other than its intended purpose. Do not use in moving vehicles or boats. Do not use outdoors. Misuse may cause injury.
- Position the appliance on a stable, heat resistant, level, dry surface away from the counter edge, and do not operate on or near a heat source such as a hot plate, oven or gas hob.
- Fully unwind the power cord before operating.
- Do not let the power cord hang over the edge of a counter or table. Do not let the power cord touch hot surfaces or become knotted.
- Do not leave the appliance unattended when in use.
- if the appliance is to be:
- left unattended
- cleaned
- moved
- assembled; or
- stored always switch off the espresso machine by pressing the POWER button to OFF. Switch off and unplug from the power outlet.
- Regularly inspect the power cord, plug and actual appliance for any damage. If found to be damaged in any way, immediately cease use of the appliance and return the entire appliance to the nearest authorised Sage Service Centre for examination, replacement or repair.
- Keep the appliance and accessories clean. Follow the cleaning instructions provided in this book. Any procedure not listed in this instruction booklet should be performed at an authorised Sage Service Centre.
- The appliance can be used by children aged 8 or older and persons with reduced physical, sensory or mental capabilities or a lack of experience and knowledge, only if they have been given supervision or instruction concerning use of the appliance in a safe way and understand the hazards involved.
- Children should not play with the appliance.
- Cleaning of the appliance should not be carried out by children unless they are 8 years or older and under adult supervision.
- The appliance and its cord should be kept out of reach of children aged 8 years and younger.
- Do not use attachments other than those provided with the appliances.
- Do not attempt to operate the appliance by any method other than those described in this booklet.
- Do not move the appliance whilst in operation.
- Do not use any other liquid apart from cold mains/town water. We do not recommend the use of highly filtered, de-mineralised or distilled water as this may affect the taste of the coffee and how the espresso machine is designed to function.
- Never use the appliance without water in the water tank.
- Ensure the portafilter is firmly inserted and secured into the brewing head before using the machine.
- Never remove the portafilter during the brewing operation as the machine is under pressure.
- Do not place anything on top of the appliance.
- Use caution when operating machine as metal surfaces are liable to get hot during use.
- Do not touch hot surfaces. Allow the product to cool down before moving or cleaning any parts.
- Heating element surface is subject to residual heat after use.
- Always ensure the appliance is turned OFF, unplugged at the power outlet and has been allowed to cool before cleaning, attempting to move or storing.
- The appliance is not intended to be operated by means of an external timer or separate remote-control system.
- The use of attachmentsnot sold or recommended by Sage may cause fire, electric shock or injury.
- Always turn the appliance to the off position, switch off at the power outlet and unplug at the power outlet when the appliance is not in use.
- Any maintenance other than cleaning should be performed by an authorised Sage® service centre.
- Do not use the appliance on a sink drain board.
- Do not operate the appliance if it is in an enclosed space, or within a cupboard.
- Use caution when descaling as hot steam may be released. Before descaling, ensure drip tray is empty and inserted. Refer to ‘Care & Cleaning’ for further instructions.
- Use caution after milk texturing as the ‘Auto Purge’ function may purge hot steam when the steam wand is lowered.
NOTICE TO CUSTOMERS REGARDING MEMORY STORAGE
Please note that in order to better serve our customers, internal memory storage has been imbedded into your appliance. This memory storage consists of a small chip to collect certain information about your appliance including the frequency of use of the appliance and the manner in which your appliance is being used. In the event your appliance is returned for service, the information collected from the chip enables us to quickly and efficiently service your appliance.
The information collected also serves as a valuable resource in developing future appliances to better serve the needs of our consumers. The chip does not collect any information regarding the individuals who use the product or the household where the product is used. If you have any questions regarding the memory storage chip please contact us at [email protected]
SPECIFIC INSTRUCTIONS FOR WATER FILTER
- Filter cartridge should be kept out of reach of children.
- Store filter cartridges in a dry place in the original packaging.
- Protect cartridges from heat and direct sunlight.
- Do not use damaged filter cartridges.
- Do not open filter cartridges.
- If you are absent for a prolonged period of time, empty the water tank and replace the cartridge.
The symbol shown indicates that this appliance should not be disposed of in the normal household waste.It should be taken to a local authority waste collection centre designated for this purpose or to a dealer providing this service. For more information, please contact your local council office.
To protect against electricshock, do not immerse the power cord, power plug or appliance in water or any other liquid.
FOR HOUSEHOLD USE ONLY SAVE THESE INSTRUCTIONS
Components
- 1.9L removable water tank
- Control panel 1 CUP, 2 CUP and STEAM buttonsWith preset shot durations or programmable durations and volumes
- MILK TEMP settingsSelect from Warm, Ideal and Hot
- MILK FOAM settings Select from Low, Medium and High
- Group head
- 54mm stainless steel portafilter
- Steam wand grip
- Extra-tall cup clearance for tall mugs
- Steam wandWith automatic milk texturing
- Milk jug temperature sensor
- Removable drip tray grid
- Removable drip tray With full indicator
ACCESSORIES
- Stainless steel milk jug With MIN and MAX markings
- 54mm tamper
- Steam wand tip cleaning tool (Located under the water tank)
- The Razor™ precision trimming tool
- Dual wall filter baskets (1 cup & 2 cup)
- Single wall filter baskets (1 cup & 2 cup)
- Espresso cleaning tablets
- Cleaning disc
- Water filter holder with filter
- Descaling powder
Assembly
BEFORE FIRST USE Machine Preparation
Remove and discard all labels and packaging materials attached to your machine. Ensure you have removed all parts and accessories before discarding the packaging. Clean the drip tray, drip tray grid, portafilter, filter baskets and milk jugs using warm water and a gentle dish washing liquid. Rinse well and dry thoroughly before use.
INSTALLING THE WATER FILTER
- Remove the water filter and water filter holder from the packaging.
- Set the reminder for the next month of replacement. We recommend to replace the filter after 3 months.

- Soak the filter in cold water for 5 minutes.
- Wash the filter holder with cold water.

- Insert the filter into the two parts of the filter holder. Ensure they are connected.
- Remove the water tank from the machine. Align the base of the filter holder with the adapter inside the water tank. Push down to lock into place.

- Fill the water tank with cold potable water and reattached the machine, ensuring it is properly attached and sitting flush to the back of the machine.
Functions
FIRST USE
- 1. Remove the water tank and fill with potable water to the indicated MAX line. Replace the water tank onto the machine.
- Ensure that the drip tray is correctly positioned on the machine.
- Plug the power cord in the power outlet, and the 1 Cup button illuminates.
- 4. Press the 1 CUP button and the machine will commence its first use cycle.
- Once complete, the go into ready mode and all lights will be illuminated. The first use cycle is to rinse machine and prime the heating system.
TURNING OFF MACHINE
To turn the machine off, press the 1 CUP and STEAM button simultaneously.
FILLING THE WATER TANK
Lift the water tank from the machine. Remove the water tank lid and add potable water to the water tank, filling to the MAX marking indicated.
Replace the water tank onto the machine, ensuring it is properly attached and sitting flush against the back of the machine. If the 1 CUP, 2 CUP and STEAM buttons illuminate, the water tank has been correctly attached.
The machine will detect when the water level is low. The 1 CUP, 2 CUP and STEAM buttons will not be illuminated. 
When this occurs, add water to the water tank. Once there is sufficient water, all buttons will be illuminated and the machine can be used.
FILTER BASKETS
This machine includes both single and dual wall 1 Cup and 2 Cup filter baskets. Use the 1 cup filter basket when brewing a single cup and the 2 cup filter baskets when brewing 2 cups or a stronger single cup or mug. Adjust the grind amount and size if switching from a single basket to a double basket, or vice versa. The provided filter baskets are designed for:
- 1 Cup filter basket = 8-11g
- 2 Cup filter basket = 16-19g
SINGLE WALL FILTER BASKETS
Single Wall filter baskets should be used when grinding fresh whole coffee beans. They allow you to experiment with grind, dose and tamp to create a more balanced espresso.
DUAL WALL FILTER BASKETS
Dual Wall filter baskets should be used when using pre-ground coffee and older beans that are past the 30 day roast date.These regulate the pressure and helps to optimise the extraction regardless of the grind, dose and tamp pressure or freshness.
NOTE
You may need to experiment with how much coffee is dosed into the filter baskets or how long the grinder needs to run to achieve the correct dose. For example; when using a finer espresso grind with the Single Wall filter baskets, you may need to increase the grind amount to ensure the filter basket is correctly dosed.
COFFEE DOSE AND TAMPING
- Insert the filter basket into the portafilter.
- Grind enough coffee to fill the filter basket.
- Tap the portafilter several times to collapse and distribute the coffee evenly in the filter basket.
- Using the tamper, tamp down firmly (approx. 15- 20kgs of pressure). The amount of pressure is not as important as the consistent pressure every time.

- As a guide, the top edge of the cap on the tamper should be level with the top of the filter basket AFTER the coffee has been tamped.
NOTE
Use Razor™ dose trimming tool to precisely control the dose of ground coffee AFTER you tamp.
TRIMMING THE DOSE
The Razor™ precision dose trimming tool allows you to trim the puck to the right level for a consistent extraction.
- Insert the Razor™ tool into the coffee basket until the shoulders of the tool rest on the rim of the basket.
- Rotate the Razor™ dosing tool back and forth while holding the portafilter on an angle over the knock box to trim off excess coffee grinds. Your coffee filter is now dosed with the correct amount of coffee.

- Wipe excess coffee from the rim of the filter basket to ensure a proper seal is achieved in the group head.
PURGING THE GROUP HEAD
Before placing the portafilter into the group head, run a short flow of water through the group head by pressing the 1 CUP button.This will stabilise the temperature prior to extraction.
INSERTING THE PORTAFILTER
Place the portafilter underneath the group head so that the handle is aligned with the INSERT position. Insert the portafilter into the group head and rotate the handle towards the centre until resistance is felt.
Place your cup/s under the portafilter on the drip tray.
PRE-PROGRAMED SHOT VOLUME – 1 CUP
Press the 1 CUP button once, the button will flash indicating that it has been selected. A preset single espresso volume of approximately 30mls will be extracted.The machine will automatically stop once the pre-set volume has been extracted.
PRE-PROGRAMED SHOT VOLUME – 2 CUP
Press the 2 CUP button once, the button will flash indicating that is has been selected. A preset single espresso volume of approximately 60mls will be extracted. The machine will automatically stop once the pre-set volume has been extracted.
NOTE
Pressing the 1 CUP or 2 CUP buttons during a programmed espresso will immediately stop the extraction.
MANUAL PRE-INFUSION AND SHOT VOLUME
Press and hold the 1 CUP or 2 CUP button for the desirbutton to stared prt the extre-infusion timeaction. Pr . Ress the flashing elease the button again to stop the extraction.
PROGRAMMING SHOT VOLUME
Press and hold the 1 CUP and 2 CUP buttons for 2 seconds, the buttons will illuminate and flash.
To set the 1 CUP volume:
- Press the 1 CUP button to start the extraction.
- Press the 1 CUP button again to stop the extraction. The modified volume will be saved.
To set the 2 CUP volume, follow the above steps but select the 2 CUP button to start and stop the extraction.
SETTING THE MILK TEMPERATURE
The machine has 3 milk temperature settings;
- 1 Warm
- 2 Ideal
- 3 Hot
When turning on the espresso machine, the milk temperature setting will default o the chosen last setting. Press the MILK TEMP utton until desired temperature is illuminated.
SETTING THE MILK FOAM
The machine has 3 milk foam settings;
- 1 Low
- 2 Medium
- 3 High
When turning on the machine, the milk foam setting will default to the last chosen setting. Press the MILK button until the desired foam setting is illuminated.
NOTE
Prior to texturing milk, it is recommended to momentarily purge the steam wand.To do this press the STEAM button to start purging and press it again to stop.
- Start with fresh cold milk.
- Fill the milk jug to between the min and max position.
- Lift the steam wand and insert into the milk jug.
- Lower the steam wand, ensuring it is fully down.
- The milk jug must rest on the milk temperature sensor located on the drip tray and the milk should cover the steam wand tip.

- Press the MILK TEMP and MILK FOAM buttons to select the desired settings.
- Press the STEAM button, the button will flash while texturing.
- The milk texturing will stop automatically when the selected milk temperature is reached.
- Lift the steam wand to remove the milk jug.
- Wipe the wand and tip with a clean damp cloth.
- Lower the steam wand to the down position and the steam wand will automatically purge.
NOTE
Pressurised steam can still be released, even after the machine has been switched off. Children must always be supervised.When the machine creates steam, a pumping noise can be heard.This is normal operation.Use only the supplied stainless steel milk jug to froth milk using this machine.The use of other containers may lead to dangerous conditions.
MANUAL MILK TEXTURING
- Auto milk texturing and auto shut-off are disabled during manual milk texturing.
- Fill the milk jug to between the MIN and MAX markings.
- Lift the steam wand and insert into the milk jug with the ste wand tip 1-2cm below surface of the , close to the right-hand side of the jug at a 3 o’clock position.

- Press the STEAM button to begin texturing.
- Keep the steam wand tip just under the surface of the milk until the milk is spinning clockwise, producing a vortex (whirlpool effect).
- With the milk spinning, slowly lower the jug. This will bring the steam wand tip to the surface of the milk and start to introduce air into the milk.
- Gently break the surface of the milk with the tip to get the milk spinning fast enough.
- Keep the steam wand tip at or slightly below the surface, continuing to maintain the vortex. Texture the milk until sufficient volume is obtained.
- Lift the jug to lower the tip beneath the surface but keep the vortex spinning. The milk is at the correct temperature (60-65°C) when the jug is hot to touch.

- When texturing is complete, press the STEAM button.
- Remove the steam wand from the milk jug.
- Wipe the wand and tip with a clean, damp cloth.
- Lower the steam wand to the down position and the steam wand will automatically purge.
STEAM WAND PURGING
After texturing milk, the steam wand must be returned to the lowered position and allowed to automatically purge. Not doing so, could result in the steam wand blocking. If the steam wand remains in the raised position, the machine will display a lower steam wand alert; illuminating the MILK TEMP and MILK FOAM ights in a downwards pattern, identitrying that the steam wand needs to be lowered. To manually commence the steam wand purge, with the steam wand lowered, press and hold the STEAM button for 5 seconds.
HOT WATER OPERATION
Hot water through the steam wand: When the machine is in ‘ready mode, follow these steps.
- Lift the steam wand and place a cup under the steam wand. CAUTION: Do not hold the steam wand while hot water is running.
- Press 1 CUP and MILK FOAM buttons together, and hot water will start to flow through the steam wand.
- Press the 1 CUP button to stop hot water flow.

WARNING
Cup temperature is at 90°C (194°F). Be careful in handling hot beverages.
EXTRACTION TIPS
A great espresso is about achieving the perfect balance between sweetness, acidity, and bitterness. The flavour of your coffee will depend on many factors, such as the type of coffee beans, degree of roast freshness, coarseness or fineness of the grind, dose of ground coffee and tamping pressure.
Experiment by adjusting these factors just one at a time to achieve the taste of your preference.
Care & Cleaning
REPLACING THE WATER FILTER
It is recommended to descale your unit every 90 days when the water hardness is at level 4; and when the water hardness is at level 6, descale your unit every 60 days.
CLEANING CYCLE
The machine will detect when 200 extractions have been carried out since the last cleaning cycle; this will be shown by the 1 CUP and2 CUP buttons alternately flashing.
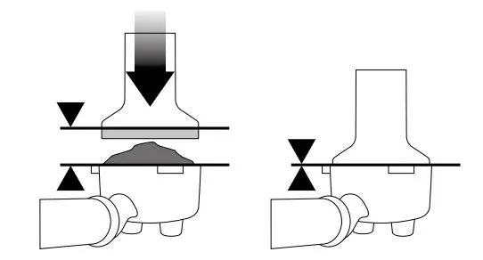
- Insert the provided cleaning disc into the filter basket in the portaflter
Place a cleaning tablet on top of the cleaning disc. - Lock the portafilter into the group head.
- Empty the drip tray and replace onto the machine.
- Place a 2L/ 68 fl.oz container under the portafilter and steam wand Sitting on the drip tray. O00 8 680Z

- Fill the water tank to the MAX line then reattached to the machine, ensuring it is correctly attached.
- Press and hold the 1 CUP and 2 CUP buttons for 5 seconds to enter the cleaning cycle mode. 5s

- The 1 CUP and 2CUP buttons will remain illuminated. Press either 1 CUP or 2 CUP to begin the cleaning cycle. When the cycle is in progress, the lights will alternatively flash.
- Once the cycle is complete the machine will go back to ready mode
- Remove and rinse the portafilter, cleaning disc, drip tray and container.
NOTE The user can also manually enter the cleaning cycle mode before the cleaning cycle alert is triggered. Press and hold 2 CUP and STEAM buttons simultaneously for five seconds when the unit is at off mode (all lights are off)
DESCALING
After regular use, hard water can cause mineral build up in and on many of the inner functioning components, reducing the brewing flow, brewing temperature, power of the machine, and the taste of the espresso.The machine will indicate that it requires descaling when the 1 CUP and STEAM button and the 2 CUP button flash alternately for 15 seconds. Pressing any of these buttons will cancel the alert and return the machine to ready mode.
WARNING
Do not immerse the power cord, power plug or appliance in water or any other liquid. The water tank should never be removed or completely emptied during descaling.
TO DESCALE
NOTE
Ensure that the water filter is removed from the water tank before adding the descaling powder when descaling the machine
- Empty the drip tray and re-insert into position on the machine.
- Fill the water tank to the DESCALE line with hot tap water, and add and dissolve the descaling agent by stirring gently
. - Place a 2L 68 fl.oz container under grouphead and steam wand.
- Turn the machine off by simultaneously pressing the 1 CUP and STEAM buttons, and allow it to completely cool before descaling.

- With the machine off, press the 1 CUP and STEAM buttons simultaneously for 5 seconds to enter descale mode.

- The 1 CUP and STEAM buttons will iluminate, indicating that the machine Is ready to start descaling. 0.5s

- Press the 1 CUP or STEAM button to begin the descale cycle. These buttons will alternately flash throughout the cycle.
- Once the descale solution has been used up, the descale mode will pause. Refill the water tank to the MAX line and empty the waste water container, then replace both parts on to the machine.
- The 1 CUP and STEAM buttons will illuminate when the machine is ready. Press the 1 CUP or STEAM button to resume descaling.
- When descaling is complete, the 1CUP and STEAM button will alternately flash. The machine will then go into standby mode.

- Remove and empty the waste water container. Rinse the drip tray and water tank and dry thoroughly before replacing9 them back onto the machine.
STEAM WAND BLOCKED
During milk texturing, if the machine detects that the steam wand is blocked, it will immediately stop operating and the STEAM button light will be of. Both the milk temperature and milk foam lights will fully illuminate and flash. These lights will flash until a manual steam purge has been completed.
CLEANING THE STEAM WAND
- The steam wand should always be cleaned after texturing milk. Wipe the steam wand with a damp cloth.
- If any of the holes in the tip of the steam wand become blocked, it may reduce frothing performance. Manually purge the steam wand to try and clear the holes.
- If the steam wand remains blocked, unscrew the steam wand tip using the steam tip cleaning tool.Then use the cleaning tool to unblock the holes. Cleaning tool is located in the back of the machine, under the water tank.

- Rinse the steam tip and wipe with a clean, dry cloth. Reassemble the steam wand by screwing the steam tip back on to the steam wand. Purge the steam wand after cleaning.

CLEANING THE FILTER BASKETS AND PORTAFILTER
- The filter baskets and portafilter should be rinsed under hot water directly after use to remove all residual coffee oils.
- If the holes in the filter baskets become blocked, use the steam wand cleaning tool to unblock the holes.
CLEANING THE SHOWER SCREEN
- The group head interior and shower screen should be wiped with a damp cloth to remove any ground coffee particles.
- Periodically run hot water through the machine with the filter basket and portafilter in place, without any ground coffee, to rinse out any residual coffee.
CLEANING THE DRIP TRAY
- The drip tray should be removed, emptied and cleaned after each use or when the drip tray indicator rises through the drip tray grid.
- Remove the drip tray grid and wash both parts in warm soapy water.
- Cleaning the Outer Housing
- Wipe the outer housing with a soft, damp cloth and then polish with a soft, dry cloth.
NOTE
Do not use any abrasive cleaners, pads or cloths which can scratch the surfaces of the machine. Do not clean any of the parts or accessories in the dishwasher.
WARNING
Do not immerse the power cord, power plug or machine in water or any other liquid.
STORING YOUR MACHINE
Before storing, turn the machine off, switch off and remove the power plug from the power outlet. Empty the water tank and drip tray and ensure the machine is cool, clean and dry. Store in an upright position.
Do not place anything on top of machine.
RESET FACTORY ESPRESSO VOLUME SETTINGS
- Turn the machine off, by pressing the 1 CUP and STEAM buttons simultaneously for 5 seconds.
- Press and hold the 1 CUP and 2 CUP buttons for 5 seconds. Buttons will illuminate.
- Press the 1 CUP or 2 CUP buttons and the light will flash 3 times to indicate that all volumes have been reset.
- Machine will then return to ready mode.
NOTE
Press any other button to exit factory reset mode.
Troubleshooting
Guarantee
2 YEAR LIMITED GUARANTEE Sage Appliances guarantees this product for domestic use in specified territories for 2 years from the date of purchase against defects caused by faulty workmanship and materials. During this guarantee period Sage Appliances will repair, replace, or refund any defective product (at the sole discretion of Sage Appliances). All legal warranty rights under applicable national legislation will be respected and will not be impaired by our guarantee. For full terms and conditions on the guarantee, as well as instructions on how to make a claim, please visit www.sageappliances.com.

READ ALL INSTRUCTIONS BEFORE USE AND SAVE FOR FUTURE REFERENCE










.


























