SYLVANIA SDVD1087 Portable Blu-ray Disc DVD Player User Manual

Safety and Maintenance
This symbol indicates “dangerous voltage” inside the product that presents a risk of electric shock or personal injury.
This symbol indicates important instructions accompanying product.
WARNING: To reduce the risk of fire or electric shock, do not expose this product to rain or moisture. Appliance shall not be exposed to dripping or splashing and no objects filled with liquids, such as vases, shall be placed on the appliance.
Security Instructions
Read all of the instruction before using this Blu-ray player and keep this manual in a safe place for future reference.
- Read and keep these instructions.
- Heed all warnings and follow all instructions.
- Do not use this player near water.
- Clean only with dry cloth.
- Do not block any ventilation openings and install in accordance with the manufacturer’s instructions.
- Do not install near any heat sources such as radiators, heat registers, or the player (including amplifiers) that produce heat.
- Protect the power cord from being walked on or pinched particularly near the convenience receptacles, and the point where they exit from the player.
- Use only with the cart, stand, tripod, bracket, table specified by the manufacturer or sold with the player. When a cart is used, use caution when moving the cart/player combination to avoid injury from tip-over.
- Unplug this player during lightning storms or when unused for long periods of time.
- Refer all servicing to qualified service personnel. Servicing is required when the player has been damaged in any way, such as the power-supply cord or plug being damaged, liquid has been spilled or objects have fallen into the player, the player has been exposed to rain or moisture, does not operate normally, or has been dropped.
- Please keep the unit in an environment with good ventilation.
- WARNING: To reduce the risk of the fire or electric shock, do not expose this apparatus to rain or moisture. The apparatus shall not be exposed to dripping or splashing and no objects filled with liquids, such as vases, shall be placed on the player.
- WARNING: Where the mains plug or an appliance coupler is used as the disconnect device, the disconnect device shall remain readily operable.
- Do not expose the batteries to excessive heat such as fire direct sunshine or similar sources.
![]()
CAUTION: To reduce the risk of electric shock, do not remove cover (or back). No user serviceable parts inside. Refer servicing to qualified service personnel.
CLASS 1 LASER PRODUCT
Use of controls, adjustments or performance of procedures other than those specified here in may result in hazardous radiation exposure.
Trademark Notice DVD Video is a trademark of DVD Format / Logo Licensing Corporation. Blu-ray Disc and Blu-ray Disc logo are trademarks of the Blu-ray Disc Association. Manufactured under license from Dolby Laboratories. Dolby, Dolby Audio and the double-D symbol are trademarks of Dolby Laboratories Licensing Corporation.
For DTS patents, see http://patents.dts.com. Manufactured under license from DTS Licensing Limited. DTS, the Symbol, & DTS and the Symbol together are registered trademarks, and DTS 2.0+Digital Out is a trademark of DTS, Inc. © DTS, Inc. All Rights Reserved.
Java and all other Java trademarks and logo are registered trademarks of Sun Microsystems, Inc.
Canadian Notice
This product uses Canadian technology to limit the use of unauthorized copies of some commercially-produced film and videos and their soundtracks. When a prohibited use of an unauthorized copy is detected, a message will be displayed and playback or copying will be interrupted.
If playback or copying is interrupted and one of the messages shown below is displayed, the content is an unauthorized copy protected by Canadian technology.
Message Cinavia Message Code
[Message(s) 1] 1
[Message(s) 2] 2
[Message(s) 3] 3
[Message(s) 4] 4
More information about Cinavia technology is provided at the Cinavia Online Consumer Information Center at http://www.cinavia.com. To request additional information about Cinavia by mail, send a postcard with your mailing address to: Cinavia Consumer information Center, P.O. Box 86851, San Diego, CA, 92138, USA.
IPR Message Copyright 2004-2013 Verance Corporation. Cinavia™ is a Verance Corporation trademark.
Protected by U.S. Patent 7,369,677 and worldwide patents issued and pending under license from Verance Corporation. All right reserved.
This product incorporates copyright protection technology that is protected by U.S. patents and other intellectual property rights. Use of this copyright protection technology must be authorized by Rovi Corporation, and is intended for home and other limited viewing uses only unless otherwise authorized by Rovi Corporation. Reverse engineering and disassembly are prohibited.
The terms HDMI, HDMI High-Definition Multimedia Interface, and the HDMI Logo are trademarks or registered trademarks of HDMI Licensing Administrator, Inc.
SDHC Logo is a trademark of SD-3C LLC.
![]()
CAUTION: This product utilizes a laser. Do not open cover and do not repair yourself. Refer servicing to qualified personnel. Do not touch the lens by finger.
Remote Control

- OSC: To access On Screen Control Menu.
- SLOW: slow play 1/16, 1/8, 1/4, 1/2.
- RESOLUTION: Press to change the resolution mode of the player.
- REPEAT: The specific repeat mode is different according disc type. DVD: Repeat CH > Repeat TT > Repeat All >Repeat Off. CD/VCD: Repeat track>Repeat all> Repeat Off. Playlist: Repeat file>Repeat playlist>Repeat Off.
- MEDIA CENTER: To turn on/off Media center.
- VOL-: Decreases volume.
- UP: Navigates through the Menus.
- TOP MENU: To open the Top menu of BD/DVD video disc.
- OK: Confirms an entry or selection.
- LEFT: Navigates through the Menus.
- SETUP: Access the SETUP menu.
- NUMBERS: For direct channel access.
- MARK VIEW: View bookmarks of the currently playing disc
- PROG: Edit the program and play.
- SUBTITLE: Select a subtitle language on a disc.
- AUDIO: Select an audio language.
- FAST FORWARD: Search forward.
- FAST REVERSE: Search backward.
- ANGLE: Playback a scene recorded with multiple angles. (The angle function will not work on DVD video discs that does not contains recorded with multiple angles.)
- MUTE: To mute the sound and press again to restore.
- DISPLAY the current status or the disc information.
- VOL+: Increases volume.
- TITLE: To open the Title menu of a disc. POPUP: Shows and hides popup menu.
- RIGHT: Navigates through the Menus.
- RETURN: Return to a previous display menu.
- DOWN: Navigates through the Menus.
- CLEAR: To clear an entry.
- GOTO: Jump to a user specified time during playback.
- MARK SET: Set bookmarks of the currently playing disc.
- ZOOM: To zoom it or zoom out.
- STOP: Stop play.
- PLAY/PAUSE: Start (resume) / pause play.
- PREV: Skip to the previous title, chapter or track.
- NEXT: Skip to the next title, chapter or track.
Operating with the remote control

- The remote control must point at the remote sensor, in order for the DVD player to function correctly.
- The remote works best at a distance less than 5 meters and at an angle of up to +/-30° toward the front of the unit.
- Obstacles should not remain in between the remote control and the remote sensor on the main unit.
Quick Starting Guide
- Connecting to an External Power Source Connect the power adapter (supplied with the player) to the side input plug and to a wall outlet. Do not use any other device otherwise specified by your dealer.
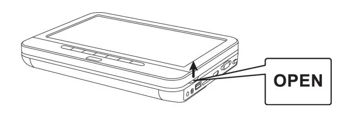
- Open the disc cover.

- Insert a DVD disc with label side facing upward. Align the center of the DVD disc with the center of the disc guide. Press gently down on the DVD to snap the disc into place, and then close the disc cover.
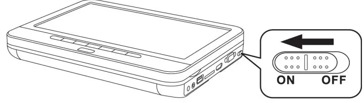
- Slide the power switch on the right side of the unit to power it on.

- Press the OK button on the unit to start playback. In most cases, when you leave by the PLAY/PAUSE button, continue to be used by PLAY/PAUSE button.
The DVD player will immediately start rendering the DVD program. When you want to stop, press the STOP button, it will return to the power-on logo. The player can be recharged while playback.
Connections
1. Connect to monitor

2. Connect to the HDMI
Connect the HDMI cable (not supplied) to the HDMI jack on this product and to the HDMI input jack on the TV. Please change the resolution to 1080P for the best image effect. Please set the resolution to 720P for the best image effect of the screen after you finished using the HDMI jack.

Tip
- You can optimize the video output by pressing the Resolution button repeatedly from the remote to select the best resolution the TV can support.
- To play the digital video images of a BD-video or DVD video via an HDMI connection, it is necessary that both this product and the display device (or an AV receiver/ amplifier) support a copyright protection system called HDCP (high-bandwidth digital content protection system)
- This type of connection provides best picture quality.
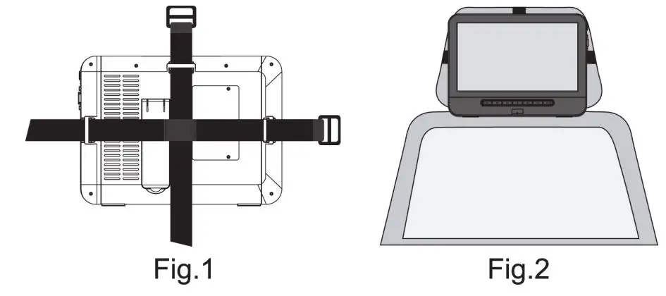
Installation headrest mount belts to car headrest
- Place the Hanging belt to the back of the headrest it is to be fitted to.(Fig.1)
- Wrap the main strap around the headrest and connect the buckle, Pull the strap tight.(Fig.2)
- Adjust the tension on the straps if required.

Play Video
Control Video Play
- Play a title
- Use the remote to control the play back

Note:
For BD disc with Java application, the resume function is not available.
Display Menu BD-video Disc: TOP MENU: Stops the video playing and returns to the disc menu. This feature is disc-dependent.
POPUP: will access the BD-video disc menu without interrupting disc play.
DVD-video disc: TOP MENU will display the root menu of a disc. DISPLAY will display disc information and guide you through the available functions on the disc.
Change Video Play

Play a Blu-ray Video Disc
Blu-ray video discs have larger capacity and support features such as high-definition video, multichannel surround sound, Interactive menus and so on.
- Insert a BD-video disc.
- Playback will automatically start, or select a play option in the menu and press OK.
- During playback, you can press TOP MENU to display additional information, features or content store on the disc.
- During playback, you can press POPUP to display the disc menu without interrupting disc play.
- During playback, press the [OSC] button on the RMC – the ON SCREEN MENU will be displayed.(As shown in the picture bellow)

(Second video BD-V): Displays the state of the second Video. Use direction key ▶ to open the second video selection box, then press ▲/▼ to select the full screen video and the second video window (picture in picture).
Play Music
Controlling music playback Use the remote control to control the playback for audio file.

Play a Photo Slideshow
You can play JPEG on the player as a slideshow.
- Insert a disc or USB device that contains JPEG files
- Select a Photo folder, then press OK to play.
-To select a Photo, use the Navigation buttons.
-To enlarge the selected Photo and start slideshow, press OK.
Note:
-It may require more time to display the disc content on your TV if there is a large number of songs/ photos compiled onto one disc.
-This product can only display digital camera Pictures in the JPEG-EXIF format, typically used by almost all digital cameras. It cannot display Motion JPEG, or Pictures in formats other than JPEG, or sound clips associated with Pictures.
-Folders/files that exceed the supported limit of this product cannot be displayed or played.
Controlling Photo slideshow
- Begin a Photo slideshow.
- Use the remote control to control the play as follows:

Set slideshow interval and animation
- During slideshow playback, press OSC. The options menu will be displayed.
- Navigate the options with the Navigation button.
- Select an option in the menu, then press OK.
Playing music during a Photo slideshow Create a musical slideshow to play both CD music files and JPEG Photo files simultaneously.
Note: Create a musical slideshow, you must store the CD and JPEG files on the same disc as the photos.
- Select your CD music to play and start play-back.
- Press Media Center to return to the main menu.
- Navigate to enter a photo folder, then press OK to start slideshow play.
-Slideshow begins and continues till the end of the photo folder.
-Audio continues to play until the end of the disc.
-To stop the slideshow play, Press ■
-To stop the music play, press ■ again.
Play from USB & SD Cards
- Insert USB device / SD / MMC card into the corresponding interface on the device (when the device does not contain a disc).
- Press “MEDIA CENTER” to switch to USB / SD mode; the machine will read the USB and SD card information (as shown below), press the direction keys to select the file you want to play, then press the OK button to play. USB driver of FAT 32 support max 32G. It doesn’t support equipment of exFAT format.

General Settings

Note: These navigation buttons on the right side of the product do not apply to this model.
General Player Settings
System
- Screen Saver: Turns the screen saver on/off. The screen saver will display in 3 mins if there is no operation when the unit is turned on.
- Disc Auto Playback: Turns the disc auto playback function on/off.
- Disc Auto Upgrade: Turns the Disc Auto Upgrade function on/off.
- Load Default: Return the player to its default settings.
- Upgrade: select this when you want to upgrade your player software to the latest version.
- Easy setup: Make default settings Fast.
- BUDA: Define memory for BD-J.
* Notice : BUDA Setup has three-submenu of “USB” & “On board” & ” Card “. If you choose ” USB ” or “Card”, you must connect USB or Card first.
Language
- OSD: Selects the OSD language.
- Menu: Selects the menu language of the disc.
- Audio: Selects the audio language for the program.
- Subtitle: Selects the subtitle language for the program.
Note: You have to select the audio and subtitle language according to the requirements on the disc.
Playback
- Closed Caption: Turn on/off the CC function.
- Angle Mark: Turn on/off the Angle mark function.
- PIP Mark: Turn on/off the PIP mark function
- Secondary Audio Mark: Turn on/off Secondary Audio mark function.
- Last Memory: Turn on/off the last memory function
- PBC: Turn the PBC function on/off.
- Audio Watermark Level3
Security
- Change Password: Changes the password for parental control menu.
- Parental Control: to set the parental control.
- Country Code: Select the Country code.
Note: The original code is 0000. The code can be changed by user.
Display Settings
TV
- TV Screen: Selects the display mode for the TV.
- Resolution: Selects the resolution for the TV.
- TV System: Selects the TV system type.
- Color Space: Selects the color space.
- HDMI Deep Color: Selects the color for HDMI.
- HDMI 1080 24Hz: Enable/disable this settings.
Video Processing
- Video Adjust: Enter the submenu to adjust the video display.
- Sharpness: Select the playback sharpness mode.

Adjust the Brightness, Contrast, Hue, Saturation of the screen to suit.
Audio Setting
- HDMI: Selects the HDMI mode.
- Down sampling: Selects down sampling. (Select this when the Amplifier connected to the placer is not 96KHz compatible)
- DRC: Set DRC on / off or auto
Speaker Setting
- configuration: channels 2x
- Test Tone:
Clean Discs
Wipe the disc with a Micro fibber Cleaning Cloth from the centre to the edge in a straight line movement.
Note
To prevent possible damage of this product do not turn off the power or remove the USB flash drive while the software update is in progress.
Caution Never use solvents such as benzene, thinner, cleaners available commercially, or anti-static sprays intended for discs to clean the player.
This device complies with Part 15 of the FCC Rules. Operation is subject to the following two conditions: (1) this device may not cause harmful interference, and (2) this device must accept any interference received, including interference that may cause undesired operation.”
• “Warning: Changes or modifications to this unit not expressly approved by the party responsible for compliance could void the user’s authority to operate the equipment.”
• “NOTE: This equipment has been tested and found to comply with the limits for a Class B digital device, pursuant to Part 15 of the FCC Rules. These limits are designed to provide reasonable protection against harmful interference in a residential installation. This equipment generates, uses and can radiate radio frequency energy and, if not installed and used in accordance with the instructions, may cause harmful interference to radio communications.
However, there is no guarantee that interference will not occur in a particular installation. If this equipment does cause harmful interference to radio or television reception, which can be determined by turning the equipment off and on, the user is encouraged to try to correct the interference by one or more of the following measures:
- Reorient or relocate the receiving antenna.
- Increase the separation between the equipment and receiver.
- Connect the equipment into an outlet on a circuit different from that to which the receiver is connected.
- Consult the dealer or an experienced radio/TV technician for help.”
Do not mix old and new batteries and Do not mix alkaline, standard (carbon-zinc) or rechargeable (ni-cad, ni-mh, etc.) batteries
Specifications
Playback disc formats
BD, BD-R, BD-RE, DVD-R/RW, DVD+R/RW, DVD-Video, VCD, CD, CD-R/RW
Video formats
H.264/VC1/MPEG-1/MPEG-2/MPEG-4/WMV
Audio formats
Dolby Digital, Dolby Digital Plus, Dolby TrueHD, DTS, WMA
Photos
JPEG, PNG, GIF
What’s included?
- Dual unit
- Remote control
- Power /AV cable
- Power adapter
- Car power adapter
- Headrest mount belts
- User manual
Video
- Signal system: PAL / NTSC
- HDMI video output: Auto, 480i/576i, 480p/576p, 720p, 1080i, 1080p, 1080p@24Hz
Audio
- HDMI output
LED indicator:
Power on: Blue
Charging: Red color during charging, the red LED will be off when fully charging.
Low Battery: Red color blinked.
Charging Time: Around 4 hours.
Playback Time: Around 2 hours.
Battery
- 7.4V 3800mAh
Main unit
- Dimensions(host) (w x h x d): 259x38x191 (mm)
- Dimensions(monitor) (w x h x d): 259x29x191 (mm)
- Net Weight(host): 1.1kg
- Net Weight(monitor): 0.5kg
- Wave length:
-BD: 405 + 5nm/-5nm -DVD:650 + 13NM/-10NM -CD:790+15NM/-15NM
Troubleshooting
WARNING: Before requesting after service please check this possible resolution. Risk of electric shock. Never remove the casing of the product. To keep the warranty valid, never try to repair the product yourself.



To make a warranty claim, please email [email protected] or call 1-800-968-9853.
90 day Warranty
This product is warranted to be free from defects in material and workmanship for a period of ninety (90) days from the date of original purchase. During this period, your exclusive remedy is repair or replacement of this product or component found to be defective, at our option; however, you are responsible for all costs associated with returning the product to us. If the product or component is no longer available, we will replace with a similar one of equal or greater value. Prior to a replacement being sent, the product must be rendered inoperable or returned to us.
This warranty does not cover glass, filters, wear from normal use, use not in conformity with the printed directions., or damage to the product resulting from accident, alteration, abuse, or misuse. This warranty extends only to the original consumer purchaser or gift recipient. Keep the original sales receipt, as proof of purchase is required to make a warranty claim. This warranty is void if the product is used for other than single-family household use or subjected to any voltage and waveform other than as on the specified rating on the label (e.g., 120V~60Hz).
We exclude all claims for special, incidental, and consequential damages caused by breach of express or implied warranty. All liability is limited to the amount of the purchase price. Every implied warranty, including any statutory warranty or condition of merchantability or fitness for a particular purpose, is disclaimed except to the extent prohibited by law, in which case such warranty or condition is limited to the duration of this written warranty. This warranty gives you specific legal rights. You may have other legal rights that vary depending on where you live. Some states or provinces do not allow limitations on implied warranties or special, incidental, or consequential damages, so the foregoing limitations may not apply to you.
For faster service, locate the model, type, and serial numbers on your appliance.





















