Xing Da Electronics XO-10026 Auto Object Tracking Phone Holder
![]()
Included
1x Object Tracking Phone Holder
1x Instruction Manual
3x AA batter1es
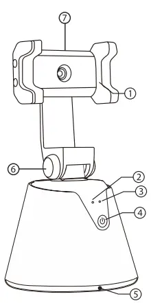
Product Functions
![]()
- Adjustable Phone Holder
- Bluetooth LED Indicator
- LED Indicator
- On/Off Button
- Battery Compartment
- Angle Adjustment Knob
- Horlzontal/Vertlcal Angle
Adjustment Knob
Instructions
- installing the Batteries:
- Unscrew the battery compartment(S) and place the included AA batteries in the appropriate direction.
- Make sure the battery isolators are removed from the batteries.
- Once batteries are inserted, place the cover back over the compartment.
- Downloading th• “IFollOW” App:
- You can directly scan the provided QR code to download “iFOLLOW” or you can also search for “iFOLLOW”
directly in the mobile application store.
- You can directly scan the provided QR code to download “iFOLLOW” or you can also search for “iFOLLOW”
- Connecting to Bluetooth:
- Long press the ON/OFF button(4) to turn ON t he object tracking phone holder.
- Go into your Bluetooth options and select the pairing name “Auto Phone Holder”.
- If done successfully bluetooth LED will turn solid Blue
- Using the ObJect Tnlcklng Phone holder:
- Open the phone holder(l) and slide the phone into the phone holder with the phone lens facing you.
- To change from a Horizontal or Vertical angle loosen the adjustment knob(7), release the phone holder and rotate
it to horizontal or vertical mode. - lighten the adjustment knob to secure the phone.” (Please note, horizontal mode is not suitable for tracking, you could use it as normal phone holder)
- Fits phones between 10.5 cm to 16.5 cm
- Using the “iFOLLOW” App:
- After downloading the “iFOLLOW” App. Open the App.
- Shooting: Short press ON/OFF button(3) . Your camera will begin to record.
- Face Tracking: Photograph Follow: pose and wait for 3 seconds.it will automatically start taking photos
- Video Follow: pose and wait for 3 seconds, it will automatically start recording.
- Shooting tips:
- The shot follow effect of the holder may be affected by the shooting environment. Please choose a shooting
environment with proper light and keep a moderate distance from the holder. - If t he moving speed of the tracked target is to fast or the target is lost. The holder will continue to rotate to find the tracked target. If you want the holder to stop rotating short press the ON/OFF Button(3)
- Do not manually stop the phone holder to prevent the mount from rotating.If you manually stop the holder from
rotating you could damage the product.
- The shot follow effect of the holder may be affected by the shooting environment. Please choose a shooting
warning
WARNING-When using this product, basic precautions should always be followed:
- Read all the instructions before use.
- Never store or use this product in temperatures below 32’F(O”C) or above 115’F(45’C).
- The unit’s full performance is achieved only after 2 or 3 completed charge and discharge cycles.
- To reduce the risk of injury, close supervision is necessary when the product is used near children.
- Do not expose the device to moisture.
- Do not use the device in excess of its output rating.
- Overload outputs above rating may result in a risk of fire or injury.
- Do not use the device if damaged or modified.
- Do not disassemble the device. For repairs, seek a qualified service professional. Incorrect reassembly may result in a
risk of fire or injury. - Do not expose the device to f ire or excessive temperature.
- Ensure to f ire or temperatures above 104’F may cause explosion.
- Ensure that Qualified service professionals use only identical replacement parts to ensure product safety
FCC
Warning:
This equipment has been tested and found to comply with the limits for a Class B digital device pursuant to part 15 of the FCC Rules. These limits are designed to provide reasonable protection against harmful interference in a residential installation. This equipment generates, uses and can radiate radio frequency energy and, if not installed and used in accordance with the instructions,may cause harmful interference to radio communications. However, there is no guarantee that interference will not occur in a particular installation. If this equipment does cause harmful interference to radio or television reception, which can be determined by turning the equipment off and on, the user is encouraged to try to correct
the interference by one reform the following measures:
- Reorient or relocate the receiving antenna.
- Increase the separation between the equipment and receiver.
- Connect the equipment into an outlet on a circuit different from that to which the receiver is connected.
- Consult the dealer or an experienced radio/TV technician for help.
Caution: Any changes or modifications to this device not explicitly approved by the manufacturer could void your authority to operate this equipment.
This device complies with part 15 of the FCC Rules. Operation is subject to the following two conditions:
- This device may not cause harmful interference, and
- this device must accept any interference received, including interference that may cause undesired operation.
RF Exposure Information
The device has been evaluated to meet general RF exposure requirements. The device can be used in portable exposure conditions without restriction.




















