JAXPETY MR11G0221 Portable and Foldable Manicure Table Nail Table Desk User Manual
Dear Customer,
Thank you for your purchase.
RESHABLE is created to be the perfect starting spot for any barbers. Supplying top-quality barber supplies like barber chairs, salon stations, rolling makeup cases, styling drawer cabinets, hair tool holders, and more, we help people to keep their barber store running with the best equipment at the most reliable prices.
When you receive the product, please make sure that all the parts are intact. Then please browse the entire installation manual before assembly. If problems occur unsatisfactorily as follows.
a. The outer box is damaged.
c. The parts/accessories/assembly tools are missing.
b. The product is damaged/bent/cracked while you open the box.
e. The instructions are not clear and can not be referred to.
f. The product has functional problems.
g. Other aspects that you are not satisfied with.
d. The product is hard to assemble
Please do not hesitate to contact us for help (Be sure to mark the SKU NUMBER, e.g.,
MR11R0246, and the TRACKING NUMBER). Our RESHABLE team withfactory direct after-sales service will reply within 24 hours and do our best to resolve the problem for you Our service is available at any time.
You need
Hardware List




Check the package contents before getting started !
STEP 1

STEP 2

STEP 2
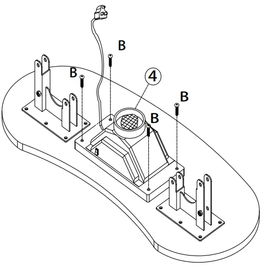
STEP 4
STEP 5

STEP 6

STEP 7

Please follow the steps below if you need to store the table
First:Remove the screws E(Put the screws in place for next use)
Second :Fold the legs

Third :Put the table into the black bag (included





















