ASTROAI Multifunctional Folding Snow Shovel User Manual

FOREWORD
Thank you for purchasing the AstroAI Multifunctional Folding Snow Shovel.
This snow shovel is compact, portable, sturdy and reliable. It is designed to shovel snow for vehicles,
snowmobiles, and ATVs. It is also a must-have tool for camping in the winter.
To achieve the best performance, please read and follow these instructions carefully. Keep this User
Manual for future reference.
We hope you enjoy your AstroAI Multifunctional Folding Snow Shovel!
⚠ Please fully read and follow this manual before using this product; keep this manual for future reference.
WARNINGS
- Store the snow shovel in a cool. dry place. Avoid direct sunlight.
- Keep the snow shovel away from fire, strong acids and other corrosive liquids.
- To avoid deformation, do not place anything heavy on the snow shovel.
- Do not use the snow shovel to hit hard items. A violent strike may damage the shovel or break the spring buttons.
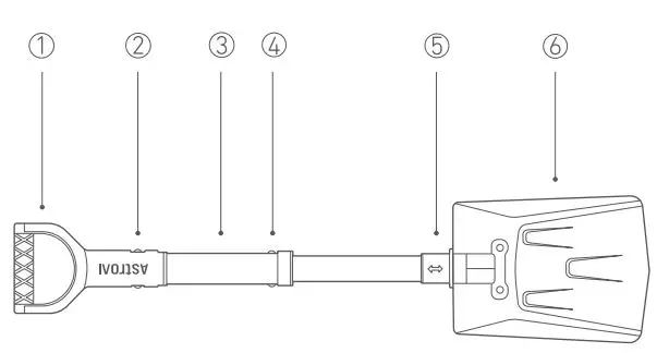
PRODUCT DIAGRAM

- Handle
- Snap Button
- Telescopic Shaft
- Spring Snap Clip
- Lock Button
- Shovel
Web: www.astroai.com
E-mail: [email protected]
DIMENSIONS
Folded size:
23.6 x 8.5 x 3.1 inches (60 x 21.5 x 8 cm)
Unfolded size (Shaft not extended):
31.5 x 8.5 x 5.5 inches (80 x 21.5 x 14 cm)
Maximum size (Shaft extended):
38.4 x 8.5 x 5.5 inches (97.5 x 21.5 x 14 cm)
ASSEMBLY INSTRUCTIONS
- Align the handle with the telescopic shaft and press the snap button to secure it.

- Unfold the shovel head and secure it.

- Press the spring snap clip to extend the telescopic shaft, and secure it.

FOLD INSTRUCTIONS
- Unlock and disassemble the shovel as instructed.

- Press and slide the lock button to fold the shovel.

- Press the spring snap clip to retract the telescopic shaft and secure it.

PACKAGE INCLUDES
Snow Shovel x1
Handle x1
User Manual x1
RECYCLING
You may dispose of the product when its service life has ended, please recycle the recyclable parts according to local guidelines.
WARRANTY PERIOD
2- YEAR LIMITED WARRANTY FROM ASTROAI
Each AstroAI Multifunctional Folding Snow Shovel will be free from defects in material and workmanship.
This warranty does not cover damage from neglect, misuse, contamination, alteration, accident, or abnormal conditions of operation or handling. This warranty covers the original purchaser only and is not transferable.
AstroAI always wants to provide our customers with excellent products as well as customer service.
Questions or Concerns? We’re happy to help!
Please contact us via [email protected]























![Cordless Snow Shovel [24v-ss11-xr] Manual Cordless Snow Shovel [24v-ss11-xr] Manual](https://static-data1.manualsee.com/1/img/176/40919/2020/12/WARNING-3.jpg)