TERMA VOLTAN Smart WiFi Radiator Installation

SAFE INSTALLATION
- The device should be installed by a qualified installer in accordance with all applicable safety regulations and other regulations.
- All installations to which the device is connected should comply with the relevant regulations in force in a given area.
- The radiator is intended for heating dry rooms. The distances shown in the illustration below, must be strictly adhered to during installation.

- The circuit in the electrical installation to which the radiator is connected must have an appropriate over-current switch and a residual-current device (R.C.D.) with a sensitivity of 30 mA.
- In a wet room installation is only possible at the location and as described in the IEC 60364-7-701 standard.
- Do not use extension cords or socket adapters to power the radiator.
- The place where the radiator is connected to the electrical system must not be behind or directly above the radiator

- Before connecting the radiator to the power supply, make sure the power cord is not mechanically damaged. In case of damage, immediately contact the seller or the manufacturer.
- The device is made in protection class II.
- When connecting the device permanently to the installation, observe the following guidelines: a. brown conductor – connection to the phase circuit (L). b. blue wire – connection to the neutral circuit (N).
- Make sure the radiator has been installed on the wall in accordance with the installation instructions (included in the mounting kit).
- Make sure that the power cord does not come into contact with the hot
- The power must be off during installation or removal of the device.
- The interior of the device must not be tampered with.
- This information material should be handed over to the end user of the radiator.
SAFE USE
CAUTION: Some parts of the radiator can be very hot and can cause burns. Particular attention should be paid in the presence of children or disabled people
- The electric radiator is not a toy. Children under 3 years of age without proper supervision should not be in the immediate vicinity of the radiator.
- Children from 3 to 8 years of age and people with reduced mental or physical ability may only operate the radiator when it is properly installed and connected, and the ildren are supervised or have been taught how to use it safely and understand the hazards arising from use.
- Do not cover the radiator or otherwise block the top or bottom vents in the radiator grilles.

- The device is intended for home use.
- Regularly check that the device is not damaged and that it is safe to use.
- If the power cord is damaged, the device cannot be used. Disconnect the device from the mains and contact the manufacturer or distributor.
- Do not flood the radiator control module. Protect the device against foreign objects getting inside e.g. wire, paper etc.
- Do not open the housing.
- Use the device only for its intended use as described in the instruction manual.
- Cleaning may only be performed after disconnecting the device from the mains.
- Cleaning the device by children under 8 years of age is allowed only under proper supervision.
MAINTENANCE
Before performing maintenance activities, always disconnect the device from the mains. Clean the product only with a dry cloth or a damp cloth with a little detergent without the use of solvents or abrasives.
TECHNICAL DATA
| Model designation (power cable type) | PB (Straight cable without plug)* PW (Straight cable with plug) |
| Power supply | 230V/50Hz |
| Device protection class | Class II |
| IP code*** | IPx4 |
| Power range: [W] ** | 1000, 2000 [W] |
- device intended for permanent connection to the mains
- the device data is given on the nameplate label
- IP code specifies the degree of protection provided by enclosure
INTENDED USE
The Terma VOLTAN Smart Wi-Fi convector radiator is an electric heating device designed for heating closed rooms. You can control the device by means of the buttons on the control panel or remotely with the Terma Smart Wi-Fi application. The radiator can work alone or in combination with other Terma SMART Wi-Fi devices, such as the temperature and humidity sensor and the window opening sensor
USER MANUAL
DESCRIPTION OF THE SMART SYSTEM
Terma Terma Smart Wi-Fi is an intelligent heating system, all elements of which communicate using Wi-Fi technology. In addition to the standard operation, i.e. maintaining the set air temperature in the rooms, the user can control the system using the Terma SMART mobile application. Thanks to this application, it is possible to program seven-day schedules, initiate an early start mode, and divide the heated area into heating zones (several other functions are also included).
NOTE:
For the initial set-up and registration of the devices, a router with Internet access is required (provided by the system user). A Wi-Fi router is responsible for delivering a wireless signal to each of the system components Further information can be found in the chapter — SMART System — information about the system and application, as well as on the website www.termasmart.com
Each of the devices can function independently, however, the recommended structure of the system consists of heating zones, e.g. individual rooms in the house, which may include one (as a maximum) VTS temperature sensor per room and any number of other types of devices and sensors. Terma SMART Wi-Fi heating devices will function at an optimum level when connected permanently to a local Wi-Fi network with Internet access. The devices will also function without access to the Internet, or even without a Wi-Fi connection, but in this case the previously loaded schedule will be implemented, and many of the device functions will remain unavailable
STARTING THE VOLTAN RADIATOR
- Install the SMART application on your mobile device, grant the appropriate approvals relating to the location and operation of the scanner.
- Create a user account and provide basic details of the newly created ʻhouse’.
- Prepare a password for the local Wi-Fi network.
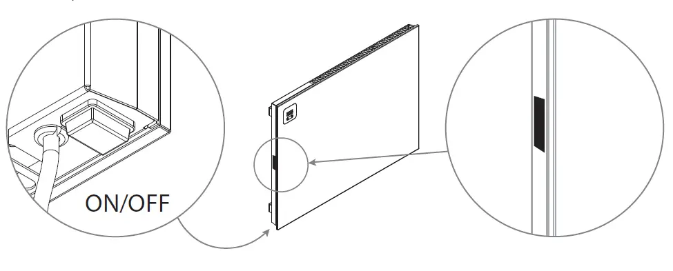
- Turn on the radiator and start PAIRING
The new device can be started with a short press on either of the „+” or „−” buttons on the front panel.
All LED strips will flash three times and the. „+” and „−” buttons will flash steadily, the device will go into PAIRING MODE for 5 minutes
If the pairing mode does not start automatically, or if the device is restarted, press both buttons „+” and „−” simultaneously and hold them for approx. 15 seconds (the entire display flashes every 5 seconds, after the third flash, release the buttons).
All LED strips will flash 3 times and the „+” and „−” buttons will start flashing steadily, the device will go into PAIRING MODE for 5 minutes.).
NOTE: from now on, the device broadcasts its network address (signal) and is seen by the SMART application
Launch the SMART application and go to the Devices screen.
Select the „+” button and follow the instructions in the application (first scan the code from the sticker on the device or enter it manually, select the local Wi-Fi network and enter the router password, then from the list of available devices, select the device currently being added. Finally, confirm your Wi-Fi network).

When the automatic part of the process is over, select the appropriate zone in the application (or create a new one) and enter the device name and other data
OPERATING THE INTERFACE PANEL
| White stripes | 5 stripes | 26°C |
| 4 stripes | 24°C | |
| 3 stripes | 21°C | |
| 2 stripes | 18°C | |
| 1 stripe | 15°C | |
| Red stripe | INTENSIVE HEATING function is on | |
- To wake up the device from the sleep mode, briefly press any button.
- To raise or lower the temperature by one step, briefly press „+” or „−” button.
- To start the INTENSIVE HEATING function, press and hold the „+” button „−” a red stripe will appear on the interface. The radiator will heat at full power
for 1 hour and then return to the previous settings - To swap the „+” and „−”, buttons, press and hold (> 10 s) the „+” button.
- Modes and special actions — press and hold both „+” / „−” buttons simultaneously:
- If the panel of the device has been blocked (the PARENTAL CONTROL function in the control application), pressing the „+” key for 5 seconds will release the lock for 1 minute, which will allow you to change the settings manually on the device without the need to use the application (confirmation by flashing interface). The change made on the device manually is valid until the next automatic temperature change saved
ADDITIONAL COMMENTS ON ADDING DEVICES TO THE TERMA SMART SYSTEM
- Adding devices is possible only via the mobile application.
- System changes are sent locally by the router, and to the cloud service by the application.
- In some Android system overlays, during pairing, the phone tries to automatically switch to the remembered Wi-Fi network with Internet access — you must manually confirm the connection with the device’s network.
- After adding the heating devices to the system, they are turned off by default (they do not heat up, despite the low ambient temperature, the interface bars are not lit, and the remote communication interval is 1 h).
- Heating devices should be added first, followed by the sensors.
- There can be only one temperature and humidity sensor (VTS) in one heating zone.
- The name of each device must be unique within the system.
- The name of the zone must be unique within the system
SMART SYSTEM BASIC INFORMATION ABOUT THE SYSTEM AND THE APPLICATION
Heating Zones
In the application, a newly created ʻhouse’ should be divided into heating zones (e.g. rooms) to which individual devices are assigned. It is possible to select a schedule and view telemetry data for each zone. The list of all zones is visible to the user in the Zones tab. The view of a single zone contains a set of actions and information available to the user. The temperature presented in the center of the screen of a single zone is the current measured temperature, while the value at the bottom is the set temperature that depends on the mode in which the system is currently operating
- if the Vacation mode is active, the Vacation mode temperature is displayed
- if the Smart Location is active, the temperature for the Smart Location is displayed
- if at least one device is in the manual mode, the
temperature set for the manual mode is displayed — the icon is displayed. - otherwise, the temperature for a given time interval will be displayed according to the schedule — icon
is displayed.
Principles of measuring the temperature in the room (in the zone):
- If there is a temperature and humidity sensor (VTS) in a zone, its indications are the basis for the temperature control for all devices in a given zone (recommended configuration);
- If there is no VTS sensor in the zone, the devices will operate based on the average of the sensor readings of all devices in that zone (or one sensor if one device is in the zone).
WARRANTY
- The subject of this warranty is an electric convector radiator with characteristics specified on the nameplate label.
- The attached instruction manual is an integral element of the warranty. It is necessary to read it carefully prior to the use of the product.
- By accepting the device on purchase, the Client confirms that the product is of full value. The Client should immediately inform the Seller of any disco vered faults — otherwise it will be understood that the Product was faultless at the time of purchase (this refers in particular to the quality of the radiator surface).
- The warranty period for the product is 24 months from the date of purchase.
- The proof of purchase constitutes the basis for warranty claims. Lack of the proof of purchase allows the Manufacturer to reject a warranty claim.
- This warranty does not cover any faults and/or damages:
a. caused by incorrect installation (not in accordance with the manual), b. resulting from the use of the radiator contrary to the requirements of the attached instruction manual or as a result of self-made repairs, c. caused by the Client after receipt from the Seller. - The warranty does not cover claims related to the radiator’s technical and operational features, as long as they comply with those specified in the in struction manual and technical specification.
- The warranty repair does not include activities described in the instruction manual, which should be performed by the user within his own scope and at his own expense.
- If the complaint is accepted, the Manufacturer undertakes to remove the defect. If the repair is impossible, the Manufacturer shall replace the product with a new one.
- If the product is replaced with a new one, the warranty period runs anew.
- The claim shall be considered within 14 calendar days. The date of repair shall be agreed with the Client individually.
- In the event of noticing any malfunction in the operation of the radiator or any other damage covered by the warranty, please contact the Seller immediately.
TREATMENT OF ELECTRICAL AND ELECTRONIC EQUIPMENT WASTE:
products marked with the symbol of separate collection cannot be placed with other municipal waste. Due to the content of harmful substances, electronic products not subjected to the selective sorting process may be dangerous to the natural environment and to human health. The correct separate collection of used electrical and electronic equipment prevents negative impacts on the environment
Information concerning the waste collection system for electrical and electronic equipment.
- distributor accepts and collects electrical and electronic equipment waste
- from households free of charge, provided that the equipment is of the same
- type and performs the same functions as the equipment purchased,
- a collecting operator have the right to refuse to accept the waste equipment
- if it poses a threat to the health or life of individuals receiving the equipment
- due to contamination,
- the user of equipment intended for households may hand over the used
- equipment to:
- a distributor,
- a waste processing plant,
- collecting municipal waste in the commune.






temperature set for the manual mode is displayed — the icon is displayed.


















