Stealth Products P140D595R2 Egg Switch

Important Information
Stealth Products is committed to 100% customer satisfaction. Your complete satisfaction is important to us. Please contact us with feedback or suggestions to help us improve the quality and usability of our products.
You may reach us at:
Stealth Products, LLC 104 John Kelly Drive Burnet, TX 78611
- Phone: (512) 715-9995
- Toll Free: (800) 965-9229
- Fax: (512) 715-9954
- Toll Free: (800) 806-1225
- [email protected]
- www.stealthproducts.com
- MDSS GmbH Schiffgraben 41 30175 Hannover, Germany
General
Read and understand all instructions prior to the use of the product. Failure to adhere to instructions and warnings in this document may result in property damage, injury, or death. Product misuse or failure to follow instructions will void the warranty. Immediately discontinue use if any function is compromised, if parts are missing or loose, or if any component shows signs of excessive wear. Consult with your supplier for repair, adjustment, or replacement. All persons responsible for fitting, adjustment, and daily use of the devices discussed in the these instructions must be familiar with and understand all safety aspects of the devices mentioned. In order for our products to be used successfully, you must read and understand all instructions and warnings, and maintain our products according to our instructions on care and maintenance. The installation instructions will guide you through this product’s options and possibilities. Instructions are written with the expressed intent of use with standard configurations. They also contain important safety and maintenance information, as well as describe possible problems that can arise during use. For further assistance, or more advanced applications, please contact your supplier or Stealth Products at (512) 715-9995 or toll free at (800) 965-9229. Always keep the operating instructions in a safe place so they may be referenced as necessary. All information, pictures, illustrations, and specifications are based on the product information that was available at the time of printing. Pictures and illustrations shown in these instructions are representative examples and are not intended to be exact depictions of the various parts of the product.
Important Information
CAUTION
This product is designed to be fitted, applied, and installed exclusively by a healthcare professional trained for these purposes. The fitting, application, and installation by a non-qualified individual could result in serious injury.
Warranty
Ourproductsaredesigned,manufactured,andproducedtothehighestofstandards. If any defect in material or workmanship is found, Stealth Products will repair or replace the product at our discretion. Any implied warranty, including the implied warranties of merchantability and fitness for a particular purpose, shall not extend beyond the duration of this warranty. Stealth Products does not warrant damage due to, but not limited to: misuse, abuse, or misapplication of product, and/or modification of product without written approval from Stealth Products, LLC. Any alteration or lack of serial number, where applicable, will automatically void all warranty. Stealth Products, LLC Is liable for replacement parts only. Stealth Products, LLC is not liable for any incurred labor costs. Stealth Products warrants against failure due to defective materials or workmanship:
- Covers: 2 years
- Hardware: 5 years
- Electronics: 3 years
In the event of a product failure covered by our warranty, please follow the procedures outlined below: Call Stealth Products at (512) 715-9995 or toll free at (800) 965-9229. Request a Return Authorization (RA) form from the Returns Department and follow the documentation instructions. You can download additional copies of this manual by accessing the Stealth website (https://stlpro.site/stealth-docs) and searching “P140D595” in the search bar at the top of the page.
Supplier Reference
- Supplier:
- Telephone:
- Address:
- Purchase Date:
- Model
Warning Labels
Warnings are included for the safety of the user, client, operator, and property. Please read and understand what the signal words DANGER, WARNING, CAUTION, NOTICE, and SAFETY mean, and how they could affect the user, those around the user, and property.
DANGER
Identifies an imminent situation which, if not avoided, may result in severe injury, death, and property damage.
WARNING
Identifies a potential situation which, if not avoided, may result in severe injury, death, and property damage.
CAUTION
Identifies a potential situation which, if not avoided, may result in minor to moderate injury and property damage.
NOTICE
Identifies important information not related to injury, but possible property damage.
SAFETY
Indicates steps or instructions for safe practices, reminders of safe procedures, or important safety equipment that may be necessary.
Limited Liability
Stealth Products, LLC accepts no liability for personal injury or damage to property that may arise from the failure of the user or other persons to follow the recommendations, warnings, and instructions in this manual. Stealth Products does not hold responsibility for final integration of final assembly of product to end user. Stealth Products is not liable for user death or injury.
Testing
Initial setup and driving should be done in an open area free of obstacles until the user is fully capable of driving safely.
Design & Function
Intended Use
The Egg Switch is designed for users requiring a durable switch that can be confidently activated with imprecise input, provides audible and tactile feedback, and is highly resistant to intrusion by debris, moisture, or other foreign substances.
Features
Stealth Product’s Egg Switch features:
- durable, high-impact plastic;
- an ergonomic design with a variety of bright color offerings;
- a complete outer seal, preventing debris or spillage from penetrating the switch;
- a full-surface activation area, allowing the switch to be engaged at any point on the device;
- clear and audible feedback;
- a light activation-force requirement, enabling the switch to be activated with minimal effort; and,
- multiple mounting capabilities, including a hook/loop adhesive option.
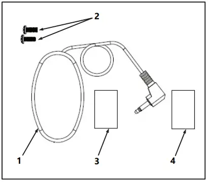
Egg Switch Package
The following is included in the Egg Switch Package:
| Description | Qty. | |
| 1 | Egg Switch | 1 |
| 2 | 6-32 x 3/8″ Pan Head Phillips Machine Screws | 2 |
| 3 | Hook-and-Loop w/Adhesive (Hook Side) | 1 |
| 4 | Hook-and-Loop w/Adhesive (Loop Side) | 1 |

Design and Function
Egg Switch Mounting Options
In addition to color options, the Egg Switch comes with multiple mounting options, as shown below:
ESRM
| ID | PART |
| 1 | Egg Switch Finger Ring Mount |
| 2 | Egg Switch Finger Clamps (2) |

GAT-ESM
| ID | PART |
| 1 | Egg Switch Mount Faceplate |

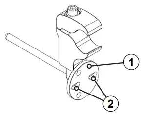
STL611
| ID | PART |
| 1 | Clamp Disc |
| 2 | Disc Mount Holes (2) |

ARMS260
| ID | PART |
| 1 | Egg Switch Mount Faceplate |

CAUTION
Mounting the Egg Switch to the Egg Switch Mount incorrectly will cause damage to the device and/or cause the device to malfunction. Ensure the Egg Switch is mounted to the Egg Switch Mount correctly prior to use.. The Egg Switch Mount Faceplate features two sides: one side with a flat face and an oval-shaped outline, and one side with a recessed inner edge. Never mount the Egg Switch to the side with the recessed inner edge. Always mount the Egg Switch to the side with the flat face and the oval-shaped outline.

Installation Instructions
Preparations
Only a qualified service technician should install the Egg Switch and its accessories.
WARNING
An incorrect installation of the Egg Switch and its accessories may cause damage to the hardware and/or injury to the user.
Tools
Use the proper tools to install and adjust the Egg Switch to the desired position for the user. Ensure all torque specifications are followed.
CAUTION
The use of improper tools may damage the device. Not tightening to the torque specification can cause components to fail or cause the user discomfort.
Installation Plan
Set up an installation plan before beginning the installation. This plan should take into account:
- where the Egg Switch will be placed;
- how the Egg Switch will be operated; and,
- the amount of clearance necessary for other hardware and accessories.
Required Tools
The tools needed to install the Egg Switch to all mounting options are as follows:
| Tool: |
| 5/32″ Hex Key |
| #2 Phillips Screwdriver |
(Note: These tools are not provided in the Egg Switch package.)
Included with the Egg Switch:
| Screws: | Torque Specifications: |
| 6-32 x 3/8″ Pan Head Phillips Machine Screws | 9.6 lb-in. |
Included with the Egg Switch Mount:
| Screws: | Torque Specifications: |
| 6-32 x 1/2″ Flat Head Phillips Machine Screws | 9.6 lb-in. |
(Note: For mount-specific tool requirements and torque specifications, refer to the manual for each mount.)
Installing the Egg Switch
Option One: Hook-and-Loop and Adhesive Installation
- Step One: Remove both 1″ hook-and-loop patches from plastic packaging. Separate the two patches from one another.
- Step Two: Determine the desired location for the Egg Switch.
- Step Three: Carefully remove the protective backing of one hook-and-loop patch. Apply the patch, adhesive-side down, to the desired location.
- Step Four: Remove the protective backing of the other hook-and-loop patch and apply it, adhesive-side down, to the underside of the Egg Switch, taking care that the patch does not hinder the movement of the switch’s mono headphone cord.
- Step Five: Firmly press the Egg Switch against the hook-and-loop patch at the desired location, ensuring the two patches are flush with one another and have created a secure bond.
Option Two: Switch-to-Mount Installation
The steps for installing the Egg Switch to each mounting option are detailed below:
ESRM Mounting Instructions:
- Step One: Feed both Egg Switch Finger Clamps through the large hole in the Egg Switch Finger Ring Mount.
- Step Two: Place the Egg Switch onto the flat surface of the Egg Switch Ring Mount, aligning both screw holes on the back of the Egg Switch with the two screw holes in the Egg Switch Finger Ring Mount.
- Step Three: With the components’ screw holes aligned, insert both 6-32 x 1/2″ screws (provided with the mounting hardware) into the holes through the Egg Switch Finger Ring Mount into the Egg Switch and tighten them. Screws should be tightened to 9.6 lb-in.
GAT-ESM Mounting Instructions
- Step One: Using the 5/32″ hex key to remove the four 10-24 x 1/2″ screws, detach the Egg Switch Mount Faceplate from the assembly.
- Step Two: Place the Egg Switch onto the flat face of the Egg Switch Mount, aligning both screw holes on the back of the Egg Switch with the two screw holes in the Egg Switch Mount Faceplate.
- Step Three: With the components’ screw holes aligned, insert both 6-32 x 1/2″ screws (provided with the mounting hardware) into the holes through the opposite side of the Egg Switch Mount Faceplate into the back of the Egg Switch, and tighten them. Screws should be tightened to 9.6 lb-in.
- Step Four: With the Egg Switch now fastened to the Egg Switch Mount Faceplate, reattach the Egg Switch Mount Faceplate to the original assembly by replacing the four 10-24 x 1/2″ screws.
STL611 Mounting Instructions
- Step One: Place the Egg Switch onto the surface of the Clamp Disc, aligning both screw holes on the back of the Egg Switch with the two oblong holes on the Clamp Disc.
- Step Two: With the components’ screw holes aligned, insert both 6-32 x 3/8″ screws (provided with the Egg Switch) into the oblong holes through the Clamp Disc into the back of the Egg Switch and tighten them. Screws should be tightened to 9.6 lb-in.
ARMS260 Mounting Instructions:
- Step One: Using the 5/32″ hex key to remove the four 10-24 x 1/2″ screws, detach the Egg Switch Mount Faceplate from the assembly.
- Step Two: Place the Egg Switch onto the flat face of the Egg Switch Mount, aligning both screw holes on the back of the Egg Switch with the two screw holes in the Egg Switch Mount Faceplate.
- Step Three: With the components’ screw holes aligned, insert both 6-32 x 1/2″ screws (provided with the mounting hardware) into the holes through the opposite side of the Egg Switch Mount Faceplate into the back of the Egg Switch, and tighten them. Screws should be tightened to 9.6 lb-in.
- Step Four: With the Egg Switch now fastened to the Egg Switch Mount Faceplate, reattach the Egg Switch Mount Faceplate to the original assembly by replacing the four 10-24 x 1/2″ screws.
First Time Use
Dealer Assistance
During first-time use by the client, it is advised that the dealer or service technician not only assembles the components, but also explains the configuration or user positioning to the customer (i.e., the user and/or the attendant). If needed, the dealer or service technician can make final adjustments.
User Testing
It is important that the customer is fully aware of the installation of the Egg Switch, how to use it, and how it can be adjusted to fit the client comfortably. As a dealer, proceed as follows:
- Explain and show the customer how you have executed the installation and explain the function. Have the user test the position of the Egg Switch.
- Is the hardware in the proper position for the client?
- Can the user safely operate all controls with minimal effort?
If necessary, make adjustments to the positioning. Explain potential problems to the customer and how best to address them.
Conditions of Use
The Egg Switch is intended for use as installed by the dealer or service technician, in accordance with the installation instructions in this manual.
- The foreseen conditions of use are communicated by the dealer or service technician to the user and/or attendant during the first-time use.
- If the usage conditions change significantly, please contact your dealer or a qualified service technician to avoid unintended damage.
Cleaning and Maintenance
Maintenance
These care and guideline instructions will keep the hardware in good condition for a longer period of time and prevent damage.
- Check and tighten all fasteners to the proper torque specifications on a regular bases. Reference the installation manual to find proper torque specifications.
- Repair or replace parts as necessary.
- Gently remove dust and dirt from hardware with a soft, damp cloth.
Cleaning
Use a soft, damp cloth to clean the device. Ensure all cleaners are approved for finished steel, aluminum, plastic, and upholstered surfaces.
- CAUTION Always check all mounting hardware, making sure each fastener is properly tightened before using the Egg Switch.
- NOTICE Improperly installing the device or altering it in any way will void its warranty.
- SAFETY Replace or repair parts as needed.
2022, Stealth Products, LLC

Stealth Products, LLC · [email protected] · www.stealthproducts.com (800) 965-9229 | (512) 715-9995 | 104 John Kelly Drive, Burnet, TX 78611



















