INVACARE H335 Revato Folding Handle
Introduction
This user manual contains important information about the handling of the product. To ensure safety when using the product, read the user manual carefully and follow the safety instructions. Invacare reserves the right to alter product specifications without further notice. Before reading this document, make sure you have the latest version. You find the latest version as a PDF on the Invacare website. If you find that the font size in the printed document is difficult to read, you can download the PDF version from the website. The PDF can then be scaled on screen to a font size that is more comfortable for you. In case of a serious incident with the product, you should inform the manufacturer and the competent authority in your country.
Warranty Information
We provide a manufacturer’s warranty for the product in accordance with our General Terms and Conditions of Business in the respective countries. Warranty claims can only be made through the provider from whom the product was obtained.
Compliance
Quality is fundamental to the company’s operation, working within the disciplines of ISO 13485. This product features the CE mark, in compliance with the Medical Device Regulation 2017/745 Class I. The launch date of this product is stated in the CE declaration of conformity. We are continuously working towards ensuring that the company’s impact on the environment, locally and globally, is reduced to a minimum. We only use REACH compliant materials and components. Product-Specific Standards The product meets the requirement of the standard DIN EN 12182 (Assistive products for persons with disability) and related standards. For further information about local standards and regulations, contact your local Invacare representative. See addresses at the end of this document.
Service life
The expected service life of this product is five years when used daily in accordance with safety instructions and intended use, stated in this manual. The effective service life can vary according to frequency and intensity of use.
Limitation of Liability
Invacare accepts no liability for damage arising from:
- Non-compliance with the user manual
- Incorrect use
- Natural wear and tear
- Incorrect assembly or set-up by the purchaser or a third party
- Technical modifications
- Unauthorised modifications and/or use of unsuitable spare parts
Safety
Safety Information
WARNING!
Risk of Serious Injury or Damage Improper use of this product may cause injury or damage.
- If you are unable to understand the warnings, cautions or instructions, contact a health care professional or provider before attempting to use this equipment.
- Do not use this product or any available optional equipment without first completely reading and understanding these instructions and any additional instructional material such as user manual, service manual or instruction sheet supplied with this product or optional equipment.
WARNING!
Risk of Falling
- Do not use if defective.
- Do not make any unauthorised alterations or modifications to the product.
- Do not use as sports equipment or climbing aid.
Excessive or intermittent loads can lead to breaking. - Do not exceed the maximum load, refer to Technical Data.
CAUTION!
Risk of Injury
Non-original or wrong parts may affect the function and safety of the product.
- Only use original parts for the product in use.
- Due to regional differences, refer to your local Invacare catalog or website for available options or contact your Invacare distributor. See addresses at the end of this document.
Labels and Symbols on Product
Identification Label (Fig. 8)

The identification label is attached to the bottom side of the support bar.
Product Overview
Product Description
Invacare Revato are grab bars made of rilsanized steel to be fixed on a wall or floor (with a dedicated accessory bar) with screws. The support bar can be flipped up. Additional support to the ground is available to increase stability.
Intended Use
Invacare Revato grab bars are intended to be used as transfer and support aid. Intended users are any adults and adolescents with restricted or limited mobility (e.g. legs and/or hips) or limited muscle strength. If used without an assistant, the user must be able to keep their own balance.
Indications
- Restricted or limited mobility (e.g. legs and/or hips) or
- having balance issues to stand up or walk due to transitional or permanent disabilities.
Contraindications
There are no contraindications known when using the product as intended. For the maximum user weight of the product refer to Technical Data.
Scope of Delivery
Not all products, models or accessories may be available in every country.
| Overview — Complete Products | |
| H335 | Support folding handle (700 mm) |
| R7762 | Support folding handle (500 – 1000 mm) |
| R7765 | Support folding handle with paper holder (500 – 1000 mm) |
| R7770 | Support folding handle with arm pad and paper holder (500 – 1000 mm) |
| H345 | Support folding handle with support leg (700 mm) |
| R7772 | Support folding handle with support leg (600 – 1000 mm) |
| R7773 | Support folding handle with support leg and paper holder (600 – 1000 mm) |
| R7780 | Support folding handle with support leg, armpad and paper holder (600 – 1000 mm) |
| Overview — Accessories | |
| R7763 | Floor mounted console |
| R7764 | Support leg (600 – 1000 mm) |
| R7765–W | Toilet paper holder |
| R7766 | Armpad |
| R7767 | Aesthetic cover |
| R7768 | Height adjustment plate set (0°, 2°, 4°) |
| R7769 | Support leg with toilet paper holder (600 – 1000 mm) |
The following items are included in the scope of delivery depending on the product combination resp. accessory ordered:
Support Folding Handle (Fig. 1)
| Pos | Designation | Quantity |
| A | Support bar | 1 |
| B | Guard | 1 |
| C | Wall attachment socket (pre-mounted to bracket) | 1 |
| Pos | Designation | Quantity |
| D | Adjustment plate 2° | 1 |
| E | Adjustment plate 0° | optional (included in R7768) |
| F | Adjustment plate 4° | optional (included in R7768) |
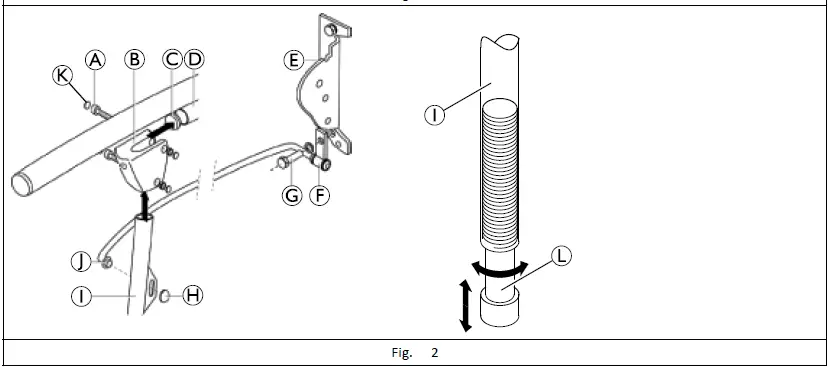
Support Leg (Fig. 2)
| Pos. | Designation | Quantity |
| A | Set of screw and nut | 2 |
| B | Hinge piece | 1 |
| C | End cap | 1 |
| D | Support bar | 1 |
| E | Socket | 1 |
| F | Wall hinge | 1 |
| G | Fixing screw | 1 |
| H | Starlock retainer ring | 1 |
| I | Support leg | 1 |
| J | Guide | 1 |
| K | Protective cap | 4 |
| L | Foot assembly | 1 |
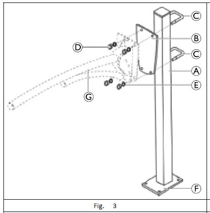
R7763 – Floor Mounted Console (Fig. 3)
| Pos. | Designation | Quantity |
| A | Upright | 1 |
| B | Attachment plate | 1 |
| C | Clamp | 2 |
| D | Nut, DIN 934, M8 | 4 |
| E | Washer, DIN 125, Ø 8,4 x Ø 16 | 4 |
| F | Plate, pre-mounted to upright A | 1 |
Toilet Paper Holder (Fig. 4)
| Pos. | Designation | Quantity |
| A | Roll holder | 1 |
| B | Hinge piece | 1 |
| C | Protective cap | 1 |
| D | Screw, DIN 912, M5 x 25 | 1 |
| E | Nut, DIN 934, M5 | 1 |
| F | Protective cap | 2 |
| G | Spacer Ø 8,2 x Ø 12 x 10 | 1 |
| H | Fastener, Ø 8 | 1 |
R7766 – Armpad (Fig. 5)
| Pos. | Designation | Quantity |
| A | Armpad, PUR | 1 |
| B | Glue | 1 |
R7767 – Aesthetic Cover (Fig. 6
| Pos. | Designation | Quantity |
| B | Plastic cover | 1 |
| C | Screw and nut | 1 |
| D | Protective cap | 2 |
Setup and Usage
Installing Support Folding Handle
WARNING!Risk of Falling! Mount only to walls that have a sufficient load-bearing capacity.
Defining the Installation Height (Fig. 1)
- With the user standing upright, without shoes, measure the height of the thumb’s upper joint. This height corresponds to the support bar’s highest point A (middle of support bar).
Installing the Support Folding Handle (Fig. 1)
- Insert the 2° adjustment plate D.
- Mark out the location of the holes on the wall (2 above and 2 below outside) taking into account the previously measured height.
- Remove the 2° adjustment plate.
- Position the wall attachment socket C for the support bar accordingly.
- Drill and insert 4 dowels appropriate for the type of wall.
- Fix the socket to the wall using suitable screws, washers.
- Snap the guard B onto the socket.
- Insert the 2° adjustment plate from below again. Adjusting the Height
- Remove the 2° adjustment plate.
- To lower by 10 mm, insert the 0° adjustment plate E.
- To raise by 10 mm, insert the 4° adjustment plate F.
Installing the Support Leg (Fig. 2)
- Remove the socket’s guard, if fitted.
- Remove the end cap C, if fitted or the cover on the lower tube of the support bar D.
- If not fitted, install the hinge piece B by sliding it onto the lower tube. If necessary, use a plastic mallet. Fix with one screw and cover with two protective caps.
- Install the front end of the guide J into the oblong hole in the support leg I using a plastic mallet and starlock retainer ring H.
- Remove the lower left-hand fixing screw G from the socket E.
- Position the guide J on the outside of the support bar, the end with the wall hinge F pointing towards the support wall or socket E.
- Fasten the wall hinge F using the socket’s lower, left-hand side fixing screw G.
- Insert the upper end of the support leg I into the hinge piece B. Fasten it using the screw and position two protective caps K.
- Install the socket’s guard.
- Check that the whole assembly is firm and operates correctly.
Adjusting the Height (Fig. 2)
- To decrease the height of the support leg turn the foot assembly L counterclockwise into the support leg I.
- To increase the height of the support leg turn the foot assembly clockwise out of the support leg.
The height of the support bar can additionally be adjusted with the 0°, 2° and 4° adjustment plates (R7768) like described above.
Installing the Floor Mounted Console (R7763) (Fig. 3)
This option, when sealed to the floor, enables a support bar to be fastened in place when the wall is unsuitable for this.
- Position the upright A.
- The plate F resting on the floor must have its longest side under the support bar G.
- Mark out the location of the 4 screws.
- Drill and insert 4 dowels appropriate to the type of floor.
- Fix the plate to the floor using suitable screws.
- Position the plate B with the rounded section towards the bottom and the support bar G.
- Fasten the plate B and the support bar G with the two clamps C, washers E and nuts D supplied but without tightening them.
- With the user standing upright, without shoes, measure the height of the upper joint of the user’s thumb and move the support bar to this height.
- Tighten the nuts D on the two clamps C.
- Install the socket’s guard.
- Check that the whole assembly is firm.
Installing Options
The basic version can be fitted with the following options:
- A toilet paper holder mounted on the support bar (Fig. 4).
- A soft, comfortable armpad (R7766) glued to the end of the upper support bar (Fig. 5).
- An aesthetic cover (R7767) designed to hide the lower tube (Fig. 6).
Installing the Toilet Paper Holder (Fig. 4)
- If fitted, remove the end cap I from the lower support bar J.
- Remove the protective cap C from the hinge piece B using a screwdriver
- Insert the toilet roll support A into the hinge piece B.
- Position the spacer G and lock the assembly in place with the fastener H.
- Attach the hinge piece B by pressing or by tapping with a plastic mallet to the lower support bar J and fasten with screw D and nut E. Attach a protective cap F on each side.
- Check that the whole assembly is firm.
Installing the Armpad (R7766) (Fig. 5)
- If fitted, remove the black end cap D from the support bar’s upper tube C.
- Clean the parts to be glued together with acetone before applying the glue B.
- Apply the whole tube of glue to the inside face of the armpad A and position it onto the support bar C being aligned lengthwise, ensure the armpad to point straight upward.
- Press it down for approximately 30 seconds.
Full adhesion is only obtained after approximately 24 hours. Invacare is not responsible for any damage caused by improper fixing or inappropriate use.
Installing the Aesthetic Cover (R7767) (Fig. 6)
- If fitted, remove the end cap, position E, from the lower support bar A.
- Attach the plastic over B over the lower support bar. If necessary, use a plastic mallet to insert the cover completely.
- Insert the screw and the nut C and tighten.
- Attach a protective cap D on each side.
Using the support folding handle
WARNING!
Risk of falling or slipping! Before each use, check that the support folding handle is securely fastened and sits firmly.
- Grab the support folding handle with one hand and carry out the desired body movement.
Raising the support bar
Lift the support folding handle from the horizontal position to its maximum vertical position. It locks automatically in this position.
Lowering the support bar
Lift the support folding handle approx. 10 mm to unlock it and hold it as it drops down to the horizontal position.
Maintenance
General Maintenance Information
This product is maintenance-free, provided that the cleaning and disinfection instructions are adhered to.
Cleaning and Disinfection
General Safety Information
CAUTION!
Risk of Contamination – Take precautions for yourself and use appropriate protective equipment.
IMPORTANT!
Wrong fluids or methods can harm or damage the product.
- All cleaning agents and disinfectants used must be effective, compatible with one another and must protect the materials they are used to clean.
- Never use corrosive fluids (alkalines, acid etc.) or abrasive cleaning agents. We recommend an ordinary household cleaning agent such as dishwashing liquid, if not specified otherwise in the cleaning instructions.
- Never use a solvent (cellulose thinner, acetone etc.) that changes the structure of the plastic or dissolves the attached labels.
- Always make sure that the product is completely dried before taking it into use again.
For cleaning and disinfection in clinical or long-term care environments, follow your in-house procedures.
Cleaning Intervals
IMPORTANT!
Regular cleaning and disinfection enhances smooth operation, increases the service life and prevents contamination. Clean and disinfect the product
- regularly while it is in use,
- before and after any service procedure,
- when it has been in contact with any body fluids,
- before using it for a new user.
Cleaning
IMPORTANT! – Clean by hand. – Max. cleaning temperature 65 °C for 3 minutes.
- Clean the product by wiping down all generally accessible surfaces.
- Dry the parts with a cloth.
Disinfection Instructions
Information on recommended disinfectants and methods can be found on https://vah-online.de/en/for-users.
In Domestic Care
- Method: Follow the application notes for the used disinfectant and wipe-disinfect all accessible surfaces.
- Disinfectant: Ordinary household disinfectant.
- Drying: Allow the product to air-dry.
In Clinical and Long Term Care
Follow your in-house disinfection procedures and only use the disinfectants and methods specified therein.
After Use
Reconditioning
WARNING!
Risk of Falling
Worn fastening elements can suddenly come loose and cause falling.
- Always use new wall plugs and bolts when repositioning the product.
This product is suitable for reuse. To recondition the product for a new user, carry out the following actions: - Inspection
- Cleaning and disinfection
For detailed information, see 5 Maintenance, page 7 .
Make sure that the user manual is handed over with the product. Use new wall plugs and bolts when reconditioning the product. If any damage or malfunction is detected, do not reuse the product.
Disposal
Be environmentally responsible and recycle this product through your recycling facility at its end of life. Disassemble the product and its components, so the different materials can be separated and recycled individually. Revato
The disposal and recycling of used products and packaging must comply with the laws and regulations for waste handling in each country. Contact your local waste management company for information.
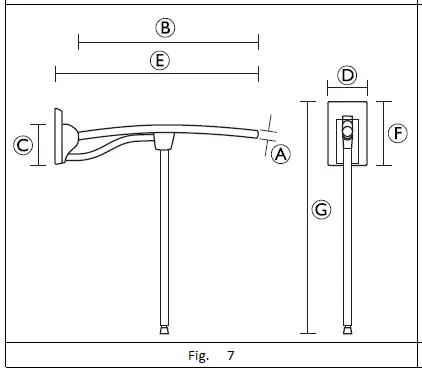
Technical Data (Fig. 7)
| Product | Support Folding Handle without Support Leg | Support Folding Handle with Support Leg |
| A | 0 32 mm | |
| B | 420 – 920 mm 1) | |
| C | 135 mm | |
| D | 135 mm | |
| E | 500 – 1000 mm 1) / (H335/H345 = 700 mm) | |
| F | 220 mm | |
| G | – | 750 – 850 mm |
| Product weight 1) | H335: 3.0 kg | H345: 3.5 kg |
| Maximum user weight | 125 kg | |
| Color | White | |
| Material 2) | Steel, Plastic, PU (armpad option) | |
- Depends on support handle length of the product ordered.
- All product components are corrosion resistant and do not contain natural rubber latex.
Environmental Parameters
| Operating Conditions | |
| Ambient temperature | 10 – 40 °C |
| Relative humidity | 15% – 93%, non-condensing |
| Atmospheric pressure | 940 – 1060 hPa |
| Storage and Shipping Conditions | |
| Ambient temperature | 0 – 40 °C |
| Relative humidity | 30% – 75%, non-condensing |
| Atmospheric pressure | 795 – 1060 hPa |
References
Clarke Health Care Products
| Invacare AT
| Invacare BE
Invacare Corporation - Leading manufacturer of wheelchairs and other home medical equipment
| Invacare CH
| Invacare GB
| Invacare DE
| Invacare ES
Invacare France | Large gamme de matériel médical
| Invacare IT
| Invacare NL
| Invacare NO
| Invacare PT
Home - Verbund für Angewandte Hygiene e.V.
For Users - Verbund für Angewandte Hygiene e.V.

Introduction

















