KLARSTEIN 10034227 Eiszeit Crush Ice Cube Maker
Dear Customer,
Congratulations on purchasing this device. Please read the following instructions carefully and follow them to prevent possible damages. We assume no liability for damage caused by disregard of the instructions and improper use. Scan the QR code to get access to the latest user manual and more product information.
TECHNICAL DATA
| Artikelnummer | 10034227, 10035509 |
| Stromversorgung | 220-240 V ~ 50 Hz |
| Eismenge pro Tag | 15-18 kg |
| Eisfach-Kazaziät | 600 g |
| Kühlmittel | R600a |
| Abmessungen | 338 x 451 x 453 mm |
SAFETY INSTRUCTIONS
- Check that the mains voltage corresponds to the rating of the appliance before operating.
- Use handles or knobs when moving. Place on a flat stable surface for use. Do not use outdoors.
- Do not use near or in the immediate vicinity of a bath or swimming pool or any source of liquid.
- Unplug from socket outlet when not in use.
- To protect against electric shock, do not immerse cord or plug in water or any other liquid.
- The use of accessory attachments not recommended by the appliance manufacturer, may cause injury.
- Do not locate this appliance immediately below a socket outlet.
- Do not allow cord to overhang the counter top where it can be easily pulled by children.
- Do not overfill as this may cause a hazard. Ensure lid is closed when in operation.
- To remove plug from outlet, do not pull on supply cord. Grasp plug firmly and pull to remove.
- Do not use this appliance for anything else other than its intended use. No liability can be accepted for any damage caused by non-compliance with these instructions or any other improper use or mishandling.
- This appliance is for household use only.
- This appliance is not intended to be operated by means of an external timer or separate remote control system.
- This appliance is not intended to be immersed in water.
- If the supply cord is damaged, it must be replaced by the manufacturer or its service agent or a similarly qualified person in order to avoid a hazard.
- Please according to local regulations regarding disposal of the appliance for its flammable blowing gas.
- Do not store explosive substances such as aerosol cans with a flammable propellant in this appliance.
- Fill with potable water only.
- This device may be only used by children 8 years old or older and persons with limited physical, sensory and mental capabilities and / or lack of experience and knowledge, provided that they have been instructed in use of the device by a responsible person who understands the associated risks.This appliance contains the coolant isobutane (R600a),a natural gas which is environmentally friendly. Although it is flammable, it does not damage the ozone layer and does not increase the greenhouse effect. The use of this coolant has,however,led to a slight increase in the noise level of the appliance. In addition to the noise of the compressor,you might be able to hear the coolant flowing around the system. This is unavoidable,and does not have any adverse effect on the performance of the appliance. Care must be taken during the transportation and setting up of the appliance that no parts of the cooling system are damaged. Leaking coolant can damage the eyes.
WARNING
Danger from fi re/fl ammable materials. Please observe the local regulations for the disposal of units with fl ammable refrigerants and gases.
- Keep ventilation openings in the unit housing free of obstacles.
- Do not damage the refrigerant circuit.
- Do not use any mechanical devices or other means to accelerate the defrosting process or the ice recovery process.
- Do not use other types of electrical appliances inside the ice cube machine.
Special Notes
- When positioning the unit, make sure that the power cord is not pinched or damaged.
- Make sure that there are no multiple sockets or power supplies on the back of the unit.
To avoid contamination of food, please follow the instructions below:
- Regularly clean surfaces that may come into contact with food. Clean the water drain regularly.
- If the appliance contains a water tank, clean it if it has not been used for 48 hours. Rinse the tank if no water has been removed for 5 days.
WARNING
When using, servicing and disposing of the unit, pay attention to the left symbol on the rear of the unit or on the compressor. This symbol warns of possible fi res. There are fl ammable substances in the refrigerant lines and in the compressor. Keep the appliance away from sources of fi re during use, maintenance and disposal.
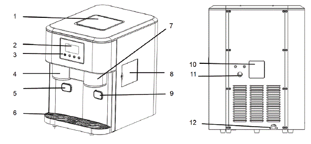
PRODUCT OVERVIEW AND ACCESSORIES
- Inspection windows
- Ice outlet
- LCD screen
- Water tank door
- Control panel
- Ice cube output button
- Crushed ice & water outlet
- Nameplate
- Crushed ice output button
- Water inlet hole
- Drip tray
- Power cord
Supplied Accessories
CONTROL PANEL
- Error condition. Switch off the device and unplug the mains plug from the socket. Restart the device. If the symbol reappears, contact your service representative.
- Ice container full.There is too little water in the water tank.
- Refill with water.
- The appliance is in ice dispensing mode.
- Water is released.
- Ice cube production. If an S is located on the upper right side of the symbol, small ice cubes are produced. If there is an L on the lower right side of the symbol, large ice cubes are produced.
- Crushed ice is produced.
KEY FUNCTIONS
| Taste | Funktion |
| WATER (Wasser) | Drücken Sie zum Erhalt von kaltem Wasser diese Taste. Die Eisfunktion muss hierfür zunächst aktiviert werden. |
| SMALL/ LARGE (klein/ groß) | Drücken Sie zur Herstellung von kleinen Eiswürfeln die Taste SMALL und zur Herstellung von großen Eiswürfeln die Taste LARGE. |
| ON/OFF (Ein/Aus) | Drücken Sie diese Taste, um das Gerät ein- oder auszuschalten. |
INSTALLATION INSTRUCTIONS
- During transportation, the incline angle of the cabinet should not be over 45°. Do not turn the Ice maker upside down. As this may damage the compressor and sealed system.
- Remove all packing material and carefully check your ice maker to ensure it is in good condition and that there is no damage to the ice maker or power cord and plug.
- The Ice maker should be placed horizontally on a level surface. To ensure proper ventilation for your Ice maker allow 150 mm of space at the top, the back and on each side. Do not install the Ice maker near an oven, radiator, or any other heat source.
- Before using the Ice maker for the first time, please wait 2 hours after positioning it, and keep the front lid open for at least 2 hours.
- Ensure that the voltage indicated on the ice maker corresponds with the voltage in your home.
- Pure water is not allowed to be used on this unit, spring water is recommended.
- Please always keep the viewing window close during ice making.
START AND OPERATION
Step 1
Plug the power plug of the appliance into the wall socket.
Step 2
Add water as shown in Figure A or Figure B.

Open the water reservoir door,and fill directly,please be noted not over the MAX line.If the machine is in the ice cube making process and the refill water icon is displayed, but you want to make more ice cubes, first remove the ice and refill a cup of water to prevent the water tank from overflowing when the ice melts.
Step 3
Press the ON/OFF button to turn on/off the unit.
Step 4
The water is automatically returned to the water tank from the drip tray.
Step 5
Use the SMALL/LARGE buttons to select the desired ice cube size.Note: If the temperature is less than 15 °C, SMALL size selection is recommended; if the temperature is more than 30°C, LARGE size selection is recommended.
Step 6
At the beginning of the ice cube making cycle, the ice is frozen on the evaporator fingers.Note: The duration of the ice cube production depends on the ambient temperature.
Step 7
Once the ice cube making cycle is complete, the drip tray tilts forward. The remaining water is returned to the water tank and the ice cubes fall off the evaporator fingers.
Step 8
Within seconds, the drip tray tilts downwards and the ice produced in the previous cycle is pressed into the container. The machine repeats steps 4 – 6.
Step 9
Press the ice cube output button to obtain ice cubes. The corresponding icon will light up on the screen.Note: Place your glass directly under the ice cube dispenser as it will fall out directly. If the ice cubes have been stored in the container for a long time, they may freeze and stick together, preventing the ice cubes from falling out. If this is the case, use the supplied ice bucket to separate the ice cubes before pressing the button.
Step 10
If you press the Crushed Ice output button, the device outputs Crushed Ice.Note: Never put your fingers in the crusher, otherwise they could be injured.
Step 11
Press the ON/OFF button to turn off the unit.
Step 12
Press the WATER button to obtain water.Note: If you wish to receive cold water, at least the ice making function should be activated. Be sure to place your glass under the water outlet before pressing the button, otherwise the water will splash everywhere.
Step 13
If you want to remove or replace the filling water line or insert the drain block, proceed as follows:
First remove the blue ring (A) and then press the white ring (B) on the outside. Remove the filling water pipe last.
CLEANING AND CARE
- Clean the inside, ice collector, water container, ice shovel and evaporator of the appliance regularly. To clean, first unplug the appliance from the wall outlet and remove the ice cubes. Use a vinegar solution diluted with water to clean the inside and outside of the appliance. Do not spray chemicals or thinners, such as acids, gasoline, or oil, into the interior of the appliance. Rinse the unit with water before using it again.
- Make sure that the ventilation openings of the unit are not blocked. Do
not use mechanical equipment or other means not recommended by the manufacturer to speed up the defrosting process. - If the unit is not used again for a long time, the water pump may not be able to pump sufficient water due to air in the water supply line. If this is the case, the symbol for insufficient water is also displayed. To correct this, press the start button. The appliance will then function as usual.
- To ensure the purity of the ice cubes, the water should be changed every
24 hours. - If the appliance does not work due to water shortage, too much ice, no electricity, etc., Turn the appliance off, wait for three minutes and then restart the appliance.
- Always use fresh water to make ice cubes. This applies to the initial installation as well as if you use the appliance again after a long time.
- This appliance is designed for household use only. The appliance is not designed for outdoor use. However, if it is to be used outdoors, make sure that the viewing window is closed.
TROUBLESHOOTING
| Problem | Cause | Potential solution |
| The compressor is not functioning as normal and is making a humming noise. | The voltage is lower than recommended. | Turn the device off and turn it back on once the voltage has recalibrated. |
| The “ADD WATER” sign has come on. | Not enough water in the tank. | Fill the tank up to the MAX line. |
| The pump is blocked. | Clean the pump. | |
| The pump is broken. | Please contact customer service. | |
| The display is not showing anything. | There is no power or an issue with the fuse. | Please plug the device in or check your fuse box. |
| The ice cubes are too big or the ice is sticking together. | The wrong ice cube size has been selected. | Choose small ice cubes for cold temperatures. |
| Ice from the last cycle has been left in the container. | Stop ice production immediately and wait until the ice cubes in the container have melted. | |
| The evoparator is too low. | Push the evaporator slightly upwards. | |
| Ice is being produced, but it isn’t landing in the container. | The ice scoop is broken. | Please contact customer service. |
| The conditions for ice cube production are fine, however, no ice cubes are being produced. | The cooling agent is running out. / The closed system is blocked. | Please contact customer service. |
| The error display is flashing. | Ice cube blockage. | Please remove the ice from the container, start the device again by pressing ON/OFF. |
| The motor is broken. | Please contact customer service. | |
| The viewing window is open and exposed to light. | Ensure the viewing window is closed during ice cube production. | |
| The machine is functional, however, the water is warmer than it was at the beginning of the cycle. | There is a fault with the magnet. | Turn the device on for 1 minute. Stop the cycle and then pull out the plug. Repeat this procedure again three minutes later. Wait 5 more minutes before turning the device on again. |
| The magnet valve is broken. | Please contact customer service. | |
| Ice is being produced, but it isn’t passing through the evaporator. | The magnet valve is broken. | Please contact customer service. |
| There is a fault with the motherboard | Please contact customer service. | |
| Ice production is active, but no ice is being produced. | There is no cooling agent in the compressor. | Please contact customer service. |
DISPOSAL CONSIDERATIONS
If there is a legal regulation for the disposal of electrical and electronic devices in your country, this symbol on the product or on the packaging indicates that this product must not be disposed of with household waste. Instead, it must be taken to a collection point for the recycling of electrical and electronic equipment. By disposing of it in accordance with the rules, you are protecting the environment and the health of your fellow human beings from negative consequences. For information about the recycling and disposal of this product, please contact your local authority or your household waste disposal service.























