Supreme
EZ CLEAN Internal Aquarium Filter
Model 01155 & 01160
Instruction Manual
01155 Supreme EZ Clean Internal Aquarium Filter
The Supreme EZ CLEAN FILTER is a multifunction aquarium appliance. It provides water filtration mechanically removing debris, chemically with the carbon impregnated filter pads and biologically with porous ceramic media that promotes growth of helpful bacteria. Additionally, the filter simplifies water changing by utilizing the power of integral pump to redirect water out through a drain tube and hose for disposal.
IMPORTANT SAFETY INSTRUCTIONS
WARNING – To guard against injury, basic safety precautions should be observed, including the following:
READ AND FOLLOW ALL SAFETY INSTRUCTIONS
DANGER – To avoid possible electric shock, special care should be taken in the usage of aquarium equipment. For each of the following Situations, do not attempt repairs yourself; return the appliance to an authorized service facility for service or discard the appliance.
- A. If the appliance shows any sign of abnormal water leakage, immediately unplug from the power source.
B. Do not operate any appliance if it has a damaged cord or plug, or if it is dropped or damaged in any manner.
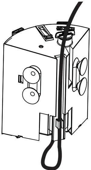
C. To avoid the possibility of the appliance plug or receptacle getting wet, position aquarium stand and tank to one side of a wall mounted receptacle to prevent water from dripping onto the receptacle or plug. A “drip loop,” shown in the Figure at right should be arranged by the user for each cord connecting an aquarium appliance to a receptacle. The “drip loop” is that part of the cord below the level of the receptacle or the connector if an extension cord is used, to prevent water traveling along the cord. If the plug or receptacle does get wet, DON’T unplug the cord. Disconnect the fuse or circuit breaker that supplies power to the appliance. Then unplug and examine for presence of water in the receptacle. - Close supervision is necessary when any appliance is used by or near children.
- To avoid injury, do not contact moving parts or hot parts such as heaters, reflectors, lamp bulbs, etc.
- Always unplug an appliance from an outlet when not in use, before putting on or taking off parts, and before cleaning. Never yank cord to pull plug from outlet. Grasp the plug and pull to disconnect.
- Do not use an appliance for other than intended use. The use of attachments not recommended or sold by the appliance manufacturer may cause an unsafe condition.
- Do not install or store the appliance where it will be exposed to the weather or to temperatures below freezing.
- Make sure an appliance mounted on a tank is securely installed before operating it.
- Read and observe all the important notices on the appliance.
- If an extension cord is necessary, a cord with a proper rating should be used. A cord rated for less amperes or watts than the appliance rating may overheat. Care should be taken to arrange the cord so that it will not be tripped over or pulled.
SAVE THESE INSTRUCTIONS
ASSEMBLY
- Unpack filter and lay out all parts. Note that this instruction sheet is used for various models so images may differ slightly from your unit. You will need to determine where you will be mounting the filter in your aquarium.
- There are two options to secure filter to aquarium. Filter can be mounted to a back and side walls of the aquarium using all four suction cups or with a combination suction cups and hanging bracket. The hanging bracket will keep the top of the filter at water surface (FIG 1) whereas using the four suction cups will allow the filter to be positioned below water level (FIG 2)
To use the four suction cups, insert the suction cups into the four oval openings on the back side of the filter housing. Use a twisting motion while inserting until they are fully seated.
To use the hanging bracket, install two suction cups on either back side of the filter housing. Turn the bracket sideways and insert the molded pin into the remaining upper oval opening of the filter housing. Rotate the bracket until it’s vertical. Push the bottom pin into the lower oval opening. Insert one of the suction cups into the key-hole opening in the hanging bracket as shown. Now the filter can be positioned to keep the filter near the water surface by positioning the two horizontal upper bracket walls above and below the aquarium frame.
- Air tube: If aeration is desired, it will be necessary to install the air hose.
To do this it will be necessary to remove the front grill. See below.
How to remove front grill from 01155 filter.
Pivot front grill open. Remove Cartridge.
Press in sides of front grill support tabs.
While pressing support tabs, pull forward and lift up from filter housing.
How to remove front grill from 01160 filter.
Press center lock and pivot front grill open.
Front grill will stop halfway. Press center lock again to and pull forward.
Lift front grill from filter housing.
- Adjustable aeration venturi allows for aeration flow control. Install air tube: With front grill removed, connect the air hose to the nozzle on the impeller cover, then feed it through the top opening in the divider wall, then through the top opening in the filter housing (FIG 1). Attach valve, connectortubing clip and a muffler as shown (FIG 2). Tubing clip can be used to create a loop in tubing after installation in aquarium. This will keep valve above water level.

- Open mesh bag with ceramic filter media and remove media. Place individual pieces into filter chamber opening on right side as shown.

- Replace the front grill by reversing the process used to remove it. Insert the top cap into the opening at the top of the filter.

- Insert the barbed end of the Drain Tube into the Drain hose. This will be used for the water-change drain feature.

- The power cord from the motor can be pressed into the retainer on the back of the filter to position the cord in the corner of the aquarium.

- Install the filter by pressing the filter into a rear corner of your aquarium. If the Hanging Bracket is used, position it to capture the top frame of your aquarium between the two arms of the bracket. Position the power cord creating a drip loop between the aquarium and the receptacle.

- Recommended minimum water level to be maintained even with the top of the filter.

OPERATION: Drain and Water Change
- You will need to supply a bucket to capture the water as it exits the aquarium.
- Remove filter drain cap.

- Position a bucket below water level near the aquarium.

- Position open end of drain hose into a bucket. Position Drain tube over drain port on top of filter.

- With filter motor running, insert Drain tube down into the drain port opening on the top of the intake tube. The straight extension “flag” handle must be inserted to the bottom of the “U”slot to start water flowing. See Detail A below.
Once bucket has filled enough for emptying, completely withdraw the Drain tube until it breaks the siphon and water stops flowing. Drain tube can be reinserted into “NO-FLOW” position while emptying bucket. See Detail B below.

Assembly and Disassembly
To access impeller and remove motor first remove the front grill as shown on page two of this manual.
To remove divider from 01155 filter, depress the two hook tabs slightly and pull divider forward. If necessary spread the walls of the housing.
To remove divider from 01160 filter, depress the two hook tabs slightly from back side and pull divider forward. If necessary spread the walls of the housing.
Impeller cover must be rotated to unlocked position for removal. Once unlocked, motor may be released to access impeller.
Motor is released by flexing the bottom hook on the filter housing and sliding motor downward.
Maintenance
FILTER MEDIA:
Change Filter media periodically when debris builds up. Cartridge frames hold three filter pads. They are inserted into the cartridge frames in the following order: Black Carbon pad, White Floss pad, Black Sponge pad. Check that all pads are pressed fully into place within cartridge frame. Slide the filter cartridges into the tabs on the inside of the cover grill.
Cartridge materials can be replaced in one cartridge at a time in large filter to allow uninterrupted aerobic bacterial filtration.
Ceramic media can be removed and agitated in a small container of aquarium water to release excessive build-up of bacteria. Only rinse in aquarium water to avoid killing off all of the useful bacteria that inhabit the ceramic media. SEE REPLACEMENT PARTS SECTION FOR DETAILS ON REPLACEMENT FILTER MEDIA.
IMPELLER & FILTER CASE:
If Impeller becomes bound up it can be removed and rinsed with water only. See assembly / disassembly section on steps to access impeller. Use a soft brush to remove debris. If impeller well in motor accumulates debris motor can be removed for cleaning. Use a soft brush or cotton swab with water only to clean inner surfaces.
Parts List
For reference only. All parts are not available individually.
| Illustration# | Description | llustration# | Description |
| 1 | Hanger Bracket | 11 | Drain Tube |
| 2 | Drain Hose | 12 | Impeller Cover |
| 3 | Air intake Tube w/ Valve | 13 | Impeller |
| Connector & Muffler | 14 | Motor | |
| Tube clip | 15 | Large Filter Housing | |
| 4 | Suction Cup | 16 | Large Filter Divider Wall |
| 5 | Sponge Pad | 17 | Large Filter Grill |
| 6 | Floss Pad | 18 | Small Filter Housing |
| 7 | Carbon Pad | 19 | Small Filter Divider Wall |
| 8 | Cartridge Frame | 20 | Small Filter Grill |
| 9 | Ceramic Bio-Media | ||
| 10 | Drain Port Cap |
Replacement Parts
| Item # | Description | Chart Reference |
| 12655 | Impeller Assembly | 13 |
| 21155 | 2 Pk Complete Filter Cartridge | 5,6,7,8 |
| 21160 | 2 Pk Filter Media only -No Frame | 5,6,7 |
| 21180 | 6 FT Drain Hose | 2 |
LIMITED WARRANTY
E.G. Danner Mfg. Inc. will repair or replace any EZ CLEAN Power Filter found to be defective within 90 Days of original purchase. This warranty covers defects occurring under normal use and applies to the original purchaser at retail from a certified Supreme dealer and may not be transferred. Cutting or altering cord removing or defacing product labels voids any warranty consideration. It will be based upon Danner Mfg. discretion as to whether the defects are of manufacturing origin. For warranty repair return only the part that is defective to our factory. Please include $5.00 USD for postage and handling. This warranty does not include damage due to handling, transportation, unpacking, setup, installation, repair or replacement of parts supplied by any other than Danner Mfg.; improper maintenance, modification or repairs by the purchaser; abuse, misuse, neglect, accident, fire, flood, or other acts of God. Any oral statements about this product made by the seller, the manufacturer, their representatives or any other parties do not constitute warranties and shall not be relied upon by the user and are not part of this contract. Neither the seller nor the manufacturer shall be liable for any injury, loss or damages, direct, incidental, or consequential, including but not limited to incidental or consequential damage for lost profits, lost sales, injury, and inability to use the product and the user agrees that no other remedy is available. Before using, the user shall determine the suitability of the product for their intended use and the user shall assume all risk liability whatsoever in connection therewith. To validate this warranty, keep your proof of purchase (copy of sales receipt). Warranty covers the repair or prorated replacement of the Danner Mfg. products. Danner Mfg. denies all liability for any other loss including but not limited to loss of equipment, income, livestock, vegetation or personal injury.
This warranty gives you specific legal rights. You may have other rights which vary from state to state.
To validate this warranty, include your dated proof of purchase (copy of sales receipt from a certified Supreme dealer).

DANNER MFG.INC.· Islandia,
New York 11749-1489 • Phone • 631- 234-5261
• Visit our web site at www.Dannermfg.com
To use the four suction cups, insert the suction cups into the four oval openings on the back side of the filter housing. Use a twisting motion while inserting until they are fully seated.
To use the hanging bracket, install two suction cups on either back side of the filter housing. Turn the bracket sideways and insert the molded pin into the remaining upper oval opening of the filter housing. Rotate the bracket until it’s vertical. Push the bottom pin into the lower oval opening. Insert one of the suction cups into the key-hole opening in the hanging bracket as shown. Now the filter can be positioned to keep the filter near the water surface by positioning the two horizontal upper bracket walls above and below the aquarium frame.
Pivot front grill open. Remove Cartridge.
Press in sides of front grill support tabs.
While pressing support tabs, pull forward and lift up from filter housing.
Front grill will stop halfway. Press center lock again to and pull forward.
Lift front grill from filter housing.































