Great L5299 Play and Store Toy Farm Set

Assembly Difficulty![]()
easy – medium – hard
![]()
one-person job

07/04/2022
SAFETY WARNINGS!
- Adult assembly required.
- Not suitable for children under 3 years due to small parts which pose a choking hazard.
- Younger children may need adults to help set up the toy for play.
- Children should be kept away from the product during assembly to avoid any possible risk of injury.
- Assemble and use on a flat and level surface.
- DO NOT use power tools in the assembly of this product as there is a risk of over-tightening and consequently splitting of the wood.
- Check item regularly for signs of damage which may make the product unsafe.
- Check all fixtures and fittings regularly and tighten as necessary.
- DO NOT use this item if any components are missing or damaged.
- Remove all packaging and dispose of carefully before letting your child use this product.
- PLEASE RETAIN THESE INSTRUCTIONS FOR FUTURE REFERENCE.
Product care
Wipe clean using a soft damp cloth followed by a dry cloth.
Do NOT use cleaning products which contain ammonia, solvents or abrasive material.
Do NOT expose the item to extremes of heat and humidity.
Customer Service:
Should you have any queries regarding your product, missing parts or information and need help please follow the guidance below.
For gltc.co.uk orders contact GLTC Customer Services on 0344 848 6000. For all other orders please contact your retailer.
Please read the instructions right through before you start, and check that all the components have been included in the pack; we find separating all the hardware into piles makes it easier to be sure that everything is present and correct. Make sure you have the right tools. Allen keys are provided if required, but screw drivers and other tools are not. You’ll find details of the tools you need at the beginning of the instructions. It’s a good idea to build the unit in the room where you are going to be using it, to avoid the need to move it after it’s been assembled. Do not throw away any packing materials until assembly is complete, just in case you accidentally discard smaller parts or hardware.
Component Check List


Hardware Check List

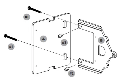
STEP 1:
Attach panel B to panel A using 2x barrel nuts (#2) & 2x bolts (#1).
Hardware for Step 1:![]()
2x #1 Bolts
2x #2 Barrel Nuts
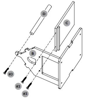
STEP 2:
Attach part D to part B using 1x screw (#3).
Attach panel C to panel B using (2x screws. #3).
Hardware for Step 2:
3x #3 32mm Screws
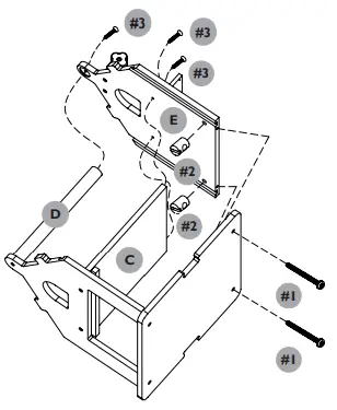
STEP 3:
Attach panel E to the base using 2x barrel nuts (#2) & 2x bolts (#1).
Secure panel E to panel C and part D from step 2 using 3x screws (#3).
Hardware for Step 2: Hardware for Step 3:![]()
2x #1 Bolts
2x #2 Barrel Nuts
3x #3 32mm Screws
STEP 4:
Slot panels F (2x) onto top of the farm.
STEP 5:
Place Panel Z at the front of the Farm.
Slot together panels K (1x), I (1x), H (1x) and J (1x) to farm.
Slot in 2x trees (part G) into hole on panels I & H.
STEP 6:
Once ready to tidy up.
All pieces fit inside your farm excluding parts I, H, Z & F which can be used to close your farm up and ready to store neatly away.
STEP 7:
Add remaining farm accessories to farm.
Your Wooden Toy Farm is now ready
STEP 8:

Thank you for shopping with GLTC, we hope you enjoy having this product in your home.
We know assembling furniture, toys or accessories is not everyone’s favourite way to spend their time, so we’ve tried to make assembling this item as quick and painless as possible.
A few important pointers before you start:
- Please read the instructions right through before you start, and check that all the components have been included in the pack; we find separating all the hardware into piles makes it easier to be sure that everything is present and correct.
- Make sure you have the right tools. Allen keys are provided if required, but screw drivers and other tools are not. You’ll find details of the tools you need at the beginning of the instructions.
- Do not throw away any packing materials until assembly is complete, just in case you accidentally discard smaller parts or hardware.
Could we do better?
If there is anything you think could be improved in these instructions or in the assembly of this product we’d be grateful if you could let us know; we’ll pass any helpful hints and tips on to other customers via our website and update the instructions.
All you need to do is drop us a line at [email protected]
Thank you!
![]() | Registered Address: GLTC Ltd, 12 Buckhold Road, Wandsworth, London, SW18 4GP, United Kingdom |
![]() | Authorised Representative: Authorised Representative Service, 77 Camden Street Lower, Dublin, D02 XE80, Ireland |
Copyright© 2022 G.L.T.C. Ltd. All rights reserved.
Great Little Trading Company and GLTC are registered trade marks of G.L.T.C. Limited.
gltc.cu.uk




















